Help us improve your experience.

Let us know what you think.

Do you have time for a two-minute survey?

 
 

Sistema de energia MX10008

Os roteadores modulares MX10008 oferecem suporte a corrente alternada de alta tensão (HVAC) e corrente contínua de alta tensão (HVDC), oferecendo as seguintes fontes de alimentação:

  • JNP10K-PWR-AC

  • JNP10K-PWR-AC2

  • JNP10K-PWR-AC3

  • JNP10K-PWR-DC

  • JNP10K-PWR-DC2

  • JNP10K-PWR-DC3

  • JNP10K-PWR-AC3H (HVAC/HVDC)

Todas as fontes de alimentação são unidades substituíveis em campo (FRUs) e inseridas a quente e removíveis a quente. Você pode instalar até seis fontes de alimentação em um roteador MX10008 nos slots rotulados PEM 0 a PEM 5 (de cima para baixo) localizados na parte traseira do chassi. Você pode instalar as fontes de alimentação em qualquer slot.

As fontes de alimentação JNP10K-PWR-AC2 e JNP10K-PWR-DC2 compartilham energia. As fontes de alimentação JNP10K-PWR-AC e JNP10K-PWR-DC não compartilham energia.

Observação:

O JNP10K-PWR-AC2 e o JNP10K-PWR-AC3 podem compartilhar energia proporcionalmente em uma configuração mista, somente quando você está atualizando para o JNP10K-PWR-AC3.

As fontes de alimentação suportam barramento de energia padrão ou aprimorado. Para determinar se o sistema tem o barramento de alimentação padrão ou o barramento de alimentação aprimorado, consulte mx10008-chassis.html#id-mx10008-status-panel-leds. A Tabela 1 fornece as especificações para essas diferentes fontes de alimentação.

Tabela 1: Visão geral da fonte de alimentação

JNP10K-PWR-AC

JNP10K-PWR-AC2

JNP10K-PWR-AC3

JNP10K-PWR-DC

JNP10K-PWR-DC2

JNP10K-PWR-DC3

JNP10K-PWR-AC3H

Potência máxima de saída

2700 W

5000 W ou 5500 W quando configurado para alta potência (30-A); 3000 W quando definido para baixa potência (20-A)

  • 7800 W (entrada de 20 A) com três ou quatro avanços ativos
  • 6000 W (entrada de 20 A) com duas alimentações ativas
  • 3000 W (entrada de 20 A) com alimentação ativa única
  • 7800 W (entrada de 15 A) com quatro avanços ativos

  • 6900 W (entrada de 15 A) com três avanços ativos

  • 4600 W (entrada de 15 A) com duas alimentações ativas

  • 2300 W (entrada de 15 A) com alimentação ativa única

2500 W

5500 W quando definido para alta potência (80-A) ou 4400 W quando definido para baixa potência (60-A)

  • 7800 W (entrada de 80 A) com três ou quatro avanços ativos

  • 6000 W (entrada de 80 A) com dois avanços ativos (A0 e A1 ou B0 e B1)

  • 3000 W (entrada de 80 A) com alimentação ativa única

  • 7800 W (60 A) com quatro avanços ativos

  • 6600 W (60 A) com três avanços ativos

  • 4400 W (60 A) com dois avanços ativos

  • 2200 W (60 A) com alimentação ativa única

  • 7800 W (entrada de 20 A) com três ou quatro avanços ativos
  • 6000 W (entrada de 20 A) com duas alimentações ativas
  • 3000 W (entrada de 20 A) com alimentação ativa única
  • 7800 W (entrada de 15 A) com quatro avanços ativos

  • 6900 W (entrada de 15 A) com três avanços ativos

  • 4600 W (entrada de 15 A) com duas alimentações ativas

  • 2300 W (entrada de 15 A) com alimentação ativa única

Entradas

2 (INP1, INP2)

2 (INP1, INP2)

4 (INP A0, INP A1, INP B0, INP B1)

2 (INP1, INP2)

4 (ENTRADA 1, ENTRADA 2)

4 (INP A0, INP A1, INP B0, INP B1)

4 (INP A0, INP A1, INP B0, INP B1)

Barramento de alimentação compatível

Padrão ou aprimorado

Padrão ou aprimorado

Padrão ou aprimorado

Padrão ou aprimorado

 

Fonte de alimentação JNP10K-PWR-AC3

A fonte de alimentação JNP10K-PWR-AC3 é um modelo de alta capacidade projetado para suportar sistemas CA em modo 15-A e 20-A; veja a Figura 1.

Figura 1: Fonte de alimentação JNP10K-PWR-AC3 JNP10K-PWR-AC3 Power Supply

Entrada—A fonte de alimentação usa quatro entradas CA monofásicas (180-264 VCA) (A0, A1, B0 e B1) em 20 A ou 15 A e fornece uma saída CC de 12,3 V. O receptáculo de entrada na unidade de fonte de alimentação (PSU) CA é IEC 320-C22. O conector correspondente no cabo de alimentação é IEC 320-C21.

Saída—A fonte de alimentação fornece saída CC de 12.3 V em:

  • 7800 W (entrada de 20 A) com três ou quatro avanços ativos, ou
  • 6000 W (entrada de 20 A) com duas alimentações ativas (A0 e A1 ou B0 e B1), ou
  • 3000 W (entrada de 20 A) com alimentação ativa única.
  • 7800 W (entrada de 15 A) com quatro avanços ativos, ou

  • 6900 W (entrada de 15 A) com três avanços ativos, ou

  • 4600 W (entrada de 15 A) com duas alimentações ativas, ou

  • 2300 W (entrada de 15 A) com alimentação ativa única.

  • A faixa de tensão de entrada operacional é de 180 a 264 VCA para sistemas CA. A saída DC é de 12,3 VCC.

  • O número de alimentações de energia e se as fontes de alimentação fornecem energia de alta saída (20-A) ou baixa saída (15-A) são configurados usando um conjunto de chaves de pacote duplo em linha (DIP) na placa frontal da fonte de alimentação. Se uma fonte de alimentação no chassi for definida como baixa potência, o orçamento de energia do chassi será reduzido para baixa potência, independentemente das configurações do switch DIP ou dos resultados de saída na CLI. Este projeto protege contra a configuração acidental da fonte de alimentação para 20 A em uma instalação que pode fornecer apenas 15 A e o disparo do circuito da instalação. Recomendamos que você não misture as configurações da chave DIP em seu sistema. Consulte a Tabela 2 para obter informações sobre as tensões de entrada e saída quando você usa as chaves DIP.

  • A fonte de alimentação JNP10K-PWR-AC3 possui uma chave ENABLE no painel frontal para ativar/desativar a saída principal de 12.3 VCC e +5.0 V_BIAS saída de espera também. Se o switch estiver na posição DESABILITAR, o PFC front-end será desabilitado para minimizar o consumo de energia. Este switch tem a prioridade mais alta sobre qualquer outro método de desligamento.

  • A correção do fator de potência (PFC) é de PF 0,98 kW no mínimo em plena carga. A corrente de irrupção máxima é de 50 A para a alimentação ativa.

JNP10K-PWR-BLN3 ou Blank Ativo

A Juniper Networks oferece um módulo de potência em branco ativo (ABPM), JNP10K-PWR-BLN3. Isso ajuda no fluxo de ar e resfriamento no chassi.

Observação:

Pelo menos uma unidade de fonte de alimentação (PSU) JNP10K-PWR-AC3 deve estar presente no chassi do roteador.

A fonte de alimentação JNP10K-PWR-AC3 possui ventiladores internos que contribuem para o resfriamento do chassi. Três PSUs ou duas PSUs junto com um ABPM devem estar presentes em um chassi em execução para ter o fluxo de ar adequado. Embora as fontes de alimentação mínimas devam estar presentes no chassi, todas elas não precisam necessariamente estar conectadas à fonte de alimentação. Se uma fonte de alimentação estiver instalada em um slot, mas não conectada a uma fonte de alimentação, ela extrairá energia do chassi para alimentar os ventiladores internos nas fontes de alimentação.

Atenção:

Perigo extremo de queimadura—O JNP10K-PWR-AC3 pode atingir temperaturas na faixa de 158 ° F a 176 ° F (70 ° C a 80 ° C) em condições de operação.

Atenção:

O roteador é um equipamento tipo A plugável instalado em um local de acesso restrito. Ele possui um terminal de aterramento de proteção separado no chassi que deve ser conectado ao aterramento permanentemente para aterrar o chassi adequadamente e proteger o operador contra riscos elétricos.

ATENÇÃO:

Antes de começar a instalar o roteador, certifique-se de que um eletricista licenciado tenha conectado um terminal de aterramento apropriado ao cabo de aterramento que você fornece. O uso de um cabo de aterramento com um terminal conectado incorretamente pode danificar o roteador.

ATENÇÃO:

Use um disjuntor de circuito de 2 polos classificado em 25 A na instalação do edifício e no sistema, ou de acordo com o código elétrico local.

As fontes de alimentação JNP10K-PWR-AC3 têm cinco chaves DIP de posição dupla (INP-A0, INP-A1, INP-B0, INP-B1 e DIP4) que são acessíveis a partir do painel frontal. DIP4 é a quinta chave DIP, que é usada para indicar se a fonte de entrada de 20A ou 15A está conectada. Consulte a Figura 2 e a Tabela 2 para conhecer o layout das chaves DIP e a saída de energia quando as chaves DIP são definidas em combinações diferentes.

Figura 2: Switches DIP na fonte de alimentação JNP10K-PWR-AC3 DIP Switches on JNP10K-PWR-AC3 Power Supply

1 - LEDs correspondentes às chaves DIP acima dele.

Tabela 2: Configurações da chave DIP para a fonte de alimentação JNP10K-PWR-AC3

INP-A0 (switch 0)

INP-A1 (switch 1)

INP-B0 (switch 2)

INP-B1 (switch 3)

Chave 4 (entrada alta 20 A/entrada baixa 15 A)

Potência de saída

15-A

Desligado

Desligado

Desligado

Ativado

Desligado (15 A)

2300 W

Desligado

Desligado

Ativado

Desligado

Desligado (15 A)

2300 W

Desligado

Desligado

Ativado

Ativado

Desligado (15 A)

4600 W

Desligado

Ativado

Desligado

Desligado

Desligado (15 A)

2300 W

Desligado

Ativado

Desligado

Ativado

Desligado (15 A)

4600 W

Desligado

Ativado

Ativado

Ativado

Desligado (15 A)

6900 W

Desligado

Ativado

Ativado

Desligado

Desligado (15 A)

4600 W

Ativado

Desligado

Desligado

Desligado

Desligado (15 A)

2300 W

Ativado

Desligado

Desligado

Ativado

Desligado (15 A)

4600 W

Ativado

Desligado

Ativado

Desligado

Desligado (15 A)

4600 W

Ativado

Desligado

Ativado

Ativado

Desligado (15 A)

6900 W

Ativado

Ativado

Desligado

Desligado

Desligado (15 A)

4600 W

Ativado

Ativado

Desligado

Ativado

Desligado (15 A)

6900 W

Ativado

Ativado

Ativado

Desligado

Desligado (15 A)

6900 W

Ativado

Ativado

Ativado

Ativado

Desligado (15 A)

7800 W

20-A

Desligado

Desligado

Desligado

Ativado

Ligado (20 A)

3000 W

Desligado

Desligado

Ativado

Desligado

Ligado (20 A)

3000 W

Desligado

Desligado

Ativado

Ativado

Ligado (20 A)

6000 W

Desligado

Ativado

Desligado

Desligado

Ligado (20 A)

3000 W

Desligado

Ativado

Desligado

Ativado

Ligado (20 A)

6000 W

Desligado

Ativado

Ativado

Desligado

Ligado (20 A)

6000 W

Desligado

Ativado

Ativado

Ativado

Ligado (20 A)

7800 W

Ativado

Desligado

Desligado

Desligado

Ligado (20 A)

3000 W

Ativado

Desligado

Desligado

Ativado

Ligado (20 A)

6000 W

Ativado

Desligado

Ativado

Desligado

Ligado (20 A)

6000 W

Ativado

Desligado

Ativado

Ativado

Ligado (20 A)

7800 W

Ativado

Ativado

Desligado

Desligado

Ligado (20 A)

6000 W

Ativado

Ativado

Desligado

Ativado

Ligado (20 A)

7800 W

Ativado

Ativado

Ativado

Desligado

Ligado (20 A)

7800 W

Ativado

Ativado

Ativado

Ativado

Ligado (20 A)

7800 W

ATENÇÃO:

É importante conectar as alimentações de entrada da fonte de alimentação JNP10K-PWR-AC3 à rede elétrica CA antes de ligar o roteador.

LEDs da fonte de alimentação JNP10K-PWR-AC3

A fonte de alimentação JNP10K-PWR-AC3 possui seis LEDs em seu painel frontal: !, OK, A0, A1, B0 e B1. Os LEDs numerados correspondem às quatro entradas (INP-A0, INP-A1, INP-B0 e INP-B1). Além disso, existem mais dois LEDs OK (Power OK) e !(Falha). Esses LEDs exibem informações sobre o status da fonte de alimentação. Veja a Figura 3.

Figura 3: LEDs em uma fonte de alimentação JNP10K-PWR-AC3 LEDs on a JNP10K-PWR-AC3 Power Supply

1—LEDs na fonte de alimentação JNP10K-PWR-AC3 indicando:

  • ! Falha

  • OKEY Energia OK

  • A0 INP A0 — Entrada de origem 1

  • A1 INP A1 — Entrada de origem 2

  • B0 INP B0 — Entrada de origem 3

  • B1 INP B1 — Entrada de origem 4

Observação:

As marcações físicas na fonte de alimentação são 1, 2, 3 e 4. Essas marcações correspondem a INP-A0, INP-A1, INP-B0 e INP-B1 na saída (consulte a show chassis power Tabela 3).

Tabela 3: Marcas físicas no chassi AC3 versus show chassis power Command

Marcação física no JNP10K-PWR-AC3

mostrar comando de potência do chassi

INP A0

INP-A0

INP A1

INP-A1

INP B0

INP-B0

INP B1

INP-B1

A Tabela 4 descreve os LEDs em uma fonte de alimentação JNP10K-PWR-AC3, cor no LED, estado e seu significado.

Tabela 4: LEDs JNP10K-PWR-AC3 em um MX10008

CONDUZIU

Cor

Estado

Descrição

1 ou (AO na saída CLI)

Âmbar

Sólido

Um dos seguintes:

  • A fonte de alimentação está desligada.

  • Há tensão de entrada.

  • A tensão de entrada está presente, mas uma falha é detectada.

Verde

Sólido

A fonte de alimentação está funcionando corretamente.

2 ou (A1 na saída CLI)

Âmbar

Sólido

Um dos seguintes:

  • A fonte de alimentação está desligada.

  • Há tensão de entrada.

  • A tensão de entrada está presente, mas uma falha é detectada.

Verde

Sólido

A fonte de alimentação está funcionando corretamente.

3 ou (B0 na saída CLI)

Âmbar

Sólido

Um dos seguintes:

  • A fonte de alimentação está desligada.

  • Há tensão de entrada.

  • A tensão de entrada está presente, mas uma falha é detectada.

Verde

Sólido

A fonte de alimentação está funcionando corretamente.

4 ou (B1 na saída CLI)

Âmbar

Sólido

Um dos seguintes:

  • A fonte de alimentação está desligada.

  • Há tensão de entrada.

  • A tensão de entrada está presente, mas uma falha é detectada.

Verde

Sólido

A fonte de alimentação está funcionando corretamente.

OK (Energia OK)

Verde

Sólido

A fonte de alimentação está funcionando corretamente.

Âmbar

Piscando

A saída da fonte de alimentação detectou uma falha.

Apagado

Desligado

A fonte de alimentação está desligada.

! (Falha)

Vermelho

Sólido

A fonte de alimentação falhou e deve ser substituída.

Apagado

Desligado

A fonte de alimentação está funcionando normalmente.

Fonte de alimentação JNP10K-PWR-DC3

A fonte de alimentação JNP10K-PWR-DC3 é um modelo de alta capacidade projetado para suportar quatro fontes de alimentação em um único invólucro que aceita 60 A ou 80 A de quatro alimentações de energia de entrada.

Figura 4: Fonte de alimentação JNP10K-PWR-DC3 JNP10K-PWR-DC3 Power Supply

A fonte de alimentação JNP10K-PWR-DC3 possui uma chave ON/Standby no painel frontal para habilitar ou desabilitar a saída principal de 12.3 VCC e +5.0 V_BIAS saída de espera.

O número de alimentações de energia e se as fontes de alimentação fornecem alta entrada de 80 A ou baixa entrada de 60 A são configurados usando as chaves duplas de pacote em linha (DIP) no painel frontal da fonte de alimentação. As fontes de alimentação JNP10K-PWR-DC3 têm cinco chaves DIP de posição dupla. As chaves DIP0 a DIP3 (INP-A0, INP-A1, INP-B0, INP-B1) indicam se a entrada está conectada à fonte. DIP4 (quinta chave DIP) indica se uma fonte de entrada de 80 A ou 60 A está conectada. Consulte a Figura 5 para o layout das chaves DIP e a Tabela 5 para obter informações sobre a saída de energia quando as chaves DIP são definidas em combinações diferentes.

Figura 5: Switches DIP na fonte de alimentação JNP10K-PWR-DC3 DIP Switches on JNP10K-PWR-DC3 Power Supply
1

DIP Switches

Tabela 5: Configurações da chave DIP para a fonte de alimentação JNP10K-PWR-DC3

INP-A0 (switch 0)

INP-A1 (switch 1)

INP-B0 (switch 2)

INP-B1 (switch 3)

Chave 4 (entrada baixa 60 A/ entrada alta 80 A)

Potência de saída

60 A

Desligado

Desligado

Desligado

Ativado

Desligado (60 A)

2200 W

Desligado

Desligado

Ativado

Desligado

Desligado (60 A)

2200 W

Desligado

Desligado

Ativado

Ativado

Desligado (60 A)

4400 W

Desligado

Ativado

Desligado

Desligado

Desligado (60 A)

2200 W

Desligado

Ativado

Desligado

Ativado

Desligado (60 A)

4400 W

Desligado

Ativado

Ativado

Desligado

Desligado (60 A)

4400 W

Desligado

Ativado

Ativado

Ativado

Desligado (60 A)

6600 W

Ativado

Desligado

Desligado

Desligado

Desligado (60 A)

2200 W

Ativado

Desligado

Desligado

Ativado

Desligado (60 A)

4400 W

Ativado

Desligado

Ativado

Desligado

Desligado (60 A)

4400 W

Ativado

Desligado

Ativado

Ativado

Desligado (60 A)

6600 W

Ativado

Ativado

Desligado

Desligado

Desligado (60 A)

4400 W

Ativado

Ativado

Desligado

Ativado

Desligado (60 A)

6600 W

Ativado

Ativado

Ativado

Desligado

Desligado (60 A)

6600 W

Ativado

Ativado

Ativado

Ativado

Desligado (60 A)

7800 W

80 UMA

Desligado

Desligado

Desligado

Ativado

Ligado (80 A)

3000 W

Desligado

Desligado

Ativado

Desligado

Ligado (80 A)

3000 W

Desligado

Desligado

Ativado

Ativado

Ligado (80 A)

6000 W

Desligado

Ativado

Desligado

Desligado

Ligado (80 A)

3000 W

Desligado

Ativado

Desligado

Ativado

Ligado (80 A)

6000 W

Desligado

Ativado

Ativado

Desligado

Ligado (80 A)

6000 W

Desligado

Ativado

Ativado

Ativado

Ligado (80 A)

7800 W

Ativado

Desligado

Desligado

Desligado

Ligado (80 A)

3000 W

Ativado

Desligado

Desligado

Ativado

Ligado (80 A)

6000 W

Ativado

Desligado

Ativado

Desligado

Ligado (80 A)

6000 W

Ativado

Desligado

Ativado

Ativado

Ligado (80 A)

7800 W

Ativado

Ativado

Desligado

Desligado

Ligado (80 A)

6000 W

Ativado

Ativado

Desligado

Ativado

Ligado (80 A)

7800 W

Ativado

Ativado

Ativado

Desligado

Ligado (80 A)

7800 W

Ativado

Ativado

Ativado

Ativado

Ligado (80 A)

7800 W

Blank ativo (JNP10K-PWR-BLN3)

A Juniper Networks oferece o JNP10K-PWR-BLN3, que é um módulo de potência em branco ativo (ABPM). Isso ajuda no fluxo de ar e resfriamento no chassi na ausência de uma unidade de fonte de alimentação (PSU).

Observação:

Pelo menos uma PSU JNP10K-PWR-DC3 deve estar presente no chassi do roteador.

A fonte de alimentação JNP10K-PWR-DC3 possui ventiladores internos que contribuem para o resfriamento do chassi. Três PSUs ou duas PSUs, juntamente com um ABPM, devem estar presentes em um chassi em funcionamento para ter o fluxo de ar adequado. Fontes de alimentação mínimas devem estar presentes no chassi, mas todas elas não precisam ser conectadas à fonte de alimentação. Se uma fonte de alimentação estiver instalada em um slot, mas não conectada a uma fonte de alimentação, ela extrairá energia do chassi para alimentar os ventiladores internos nas fontes de alimentação.

Atenção:

O roteador é um equipamento tipo A plugável instalado em um local de acesso restrito. Ele possui um terminal de aterramento de proteção separado no chassi que deve ser conectado ao aterramento permanentemente para aterrar o chassi adequadamente e proteger o operador contra riscos elétricos.

ATENÇÃO:

Antes de começar a instalar o roteador, certifique-se de que um eletricista licenciado tenha conectado um terminal de aterramento apropriado ao cabo de aterramento que você fornece. O uso de um cabo de aterramento com um terminal conectado incorretamente pode danificar o roteador.

LEDs da fonte de alimentação JNP10K-PWR-DC3

A fonte de alimentação JNP10K-PWR-DC3 tem seis LEDs em sua placa frontal. Os LEDs A0, A1, B0 e B1 correspondem às quatro fontes de entrada (INP-A0, INP-A1, INP-B0, INP-B1). Existem dois LEDs adicionais: OK (Power OK) e ! (indicando uma falha). Esses LEDs exibem informações sobre o status da fonte de alimentação. Veja a Figura 6.

Figura 6: LEDs em uma fonte de alimentação JNP10K-PWR-DC3 LEDs on a JNP10K-PWR-DC3 Power Supply
1

LEDs no JNP10K-PWR-DC3:

  • OK – Energia OK

  • !–Falha

  • A0 — Entrada de origem INP-A0

  • A1 — Entrada de origem INP-A1

  • B0 — Entrada de origem INP-B0

  • B1 — Entrada de origem INP-B1

Tabela 6: Rótulos de LED e mapeamento de terminologia de CLI

Etiquetas de LED em JNP10K-PWR-DC3

Saída de show chassis power comando

A0

INP-A0

A1

INP-A1

B0

INP-B0

B1

INP-B1

Tabela 7: LEDs em uma fonte de alimentação JNP10K-PWR-DC3

CONDUZIU

Cor

Estado

Descrição

A0 (INP-A0 na saída CLI)

Âmbar

Piscando

A tensão de entrada em A0 está presente, mas não dentro da faixa operacional.

Verde

Sólido

A tensão de entrada em A0 está presente e funcionando dentro da faixa operacional.

Apagado

Desligado

Sem entrada.

A1 (INP-A1 na saída CLI)

Âmbar

Piscando

A tensão de entrada em A1 está presente, mas não dentro da faixa operacional.

Verde

Sólido

A tensão de entrada em A1 está presente e funcionando dentro da faixa operacional.

Apagado

Desligado

Sem entrada.

B0 (INP-B0 na saída CLI)

Âmbar

Piscando

A tensão de entrada em B0 está presente, mas não dentro da faixa operacional.

Verde

Sólido

A tensão de entrada em B0 está presente e funcionando dentro da faixa operacional.

Apagado

Desligado

Sem entrada.

B1 (INP-B1 na saída CLI)

Âmbar

Piscando

A tensão de entrada em B1 está presente, mas não dentro da faixa operacional.

Verde

Sólido

A tensão de entrada em B1 está presente e funcionando dentro da faixa operacional.

Apagado

Desligado

Sem entrada.

OK (Energia OK)

Apagado

Desligado

A saída da fonte de alimentação não está dentro dos limites especificados.

Verde

Sólido

A tensão de saída da fonte de alimentação está funcionando dentro dos limites especificados.

! (Falha)

Vermelho

Sólido

Um dos seguintes:

  • A fonte de alimentação falhou e deve ser substituída.

  • A entrada esperada com base na configuração da chave DIP falhou.

Apagado

Desligado

A fonte de alimentação está funcionando corretamente.

Fonte de alimentação JNP10K-PWR-AC3H

A fonte de alimentação JNP10K-PWR-AC3H é um modelo de alta capacidade projetado para suportar sistemas HVAC ou HVDC em modo 15-A e 20-A; veja a Figura 7. A fonte de alimentação detecta automaticamente se a alimentação de entrada é CA ou CC.

Figura 7: Fonte de alimentação JNP10K-PWR-AC3H

Entrada—A fonte de alimentação recebe quatro entradas HVAC monofásicas (180-305 VCA) ou HVDC (190 - 410 VCC) (A0, A1, B0 e B1) a 20 A ou 15 A e fornece uma saída CC de 12,3 V. O receptáculo de entrada na unidade de fonte de alimentação (PSU) CA é IEC 320-C22. O conector correspondente no cabo de alimentação é IEC 320-C21.

Saída—A fonte de alimentação fornece saída CC de 12.3 V em:

  • 7800 W (entrada de 20 A) com três ou quatro avanços ativos, ou

  • 6000 W (20 A de entrada) com duas alimentações ativas (uma fonte para A0 ou A1 e uma segunda fonte para B0 ou B1), ou

  • 3000 W (entrada de 20 A) com alimentação ativa única, ou

  • 7800 W (entrada de 15 A) com quatro avanços ativos, ou

  • 6900 W (entrada de 15 A) com três avanços ativos, ou

  • 4600 W (entrada de 15 A) com duas alimentações ativas, ou

  • 2300 W (entrada de 15 A) com alimentação ativa única.

  • A faixa de tensão de entrada operacional é de 180 a 264 VCA para sistemas CA. A saída DC é de 12,3 VCC.

  • O número de alimentações de energia e se as fontes de alimentação fornecem energia de alta saída (20-A) ou baixa saída (15-A) são configurados usando um conjunto de chaves de pacote duplo em linha (DIP) na placa frontal da fonte de alimentação. Se uma fonte de alimentação no chassi for definida como baixa potência, o orçamento de energia do chassi será reduzido para baixa potência, independentemente das configurações do switch DIP ou dos resultados de saída na CLI. Este projeto protege contra a configuração acidental da fonte de alimentação para 20 A em uma instalação que pode fornecer apenas 15 A e o disparo do circuito da instalação. Recomendamos que você não misture as configurações da chave DIP em seu sistema. Consulte a Tabela 2 para obter informações sobre as tensões de entrada e saída quando você usa as chaves DIP.

  • A fonte de alimentação JNP10K-PWR-AC3H possui uma chave ENABLE no painel frontal para ativar/desativar a saída principal de 12.3 VCC e +5.0 V_BIAS saída de espera também. Se o switch estiver na posição DESABILITAR, o PFC front-end será desabilitado para minimizar o consumo de energia. Este switch tem a prioridade mais alta sobre qualquer outro método de desligamento.

  • A correção do fator de potência (PFC) é de PF 0,98 kW no mínimo em plena carga. A corrente de irrupção máxima é de 50 A para a alimentação ativa.

JNP10K-PWR-BLN3 ou Blank Ativo

A Juniper Networks oferece um módulo de potência em branco ativo (ABPM), JNP10K-PWR-BLN3. Isso ajuda no fluxo de ar e resfriamento no chassi.

Observação:

Pelo menos uma unidade de fonte de alimentação (PSU) JNP10K-PWR-AC3H deve estar presente no chassi do roteador.

A fonte de alimentação JNP10K-PWR-AC3H possui ventiladores internos que contribuem para o resfriamento do chassi. Três PSUs ou duas PSUs junto com um ABPM devem estar presentes em um chassi em execução para ter o fluxo de ar adequado. Embora as fontes de alimentação mínimas devam estar presentes no chassi, todas elas não precisam necessariamente estar conectadas à fonte de alimentação. Se uma fonte de alimentação estiver instalada em um slot, mas não conectada a uma fonte de alimentação, ela extrairá energia do chassi para alimentar os ventiladores internos nas fontes de alimentação.

Atenção:

Perigo extremo de queimadura—O JNP10K-PWR-AC3H pode atingir temperaturas na faixa de 158 ° F a 176 ° F (70 ° C a 80 ° C) em condições de operação.

Atenção:

O roteador é um equipamento tipo A plugável instalado em um local de acesso restrito. Ele possui um terminal de aterramento de proteção separado no chassi que deve ser conectado ao aterramento permanentemente para aterrar o chassi adequadamente e proteger o operador contra riscos elétricos.

ATENÇÃO:

Antes de começar a instalar o roteador, certifique-se de que um eletricista licenciado tenha conectado um terminal de aterramento apropriado ao cabo de aterramento que você fornece. O uso de um cabo de aterramento com um terminal conectado incorretamente pode danificar o roteador.

ATENÇÃO:

Use um disjuntor de circuito de 2 polos classificado em 25 A na instalação do edifício e no sistema, ou de acordo com o código elétrico local.

As fontes de alimentação JNP10K-PWR-AC3H têm cinco chaves DIP de posição dupla (INP-A0, INP-A1, INP-B0, INP-B1 e DIP4) que são acessíveis a partir do painel frontal. DIP4 é a quinta chave DIP, que é usada para indicar se a fonte de entrada de 20 A ou 15 A está conectada. Consulte a Figura 8 e a Tabela 8 para conhecer o layout das chaves DIP e a saída de energia quando as chaves DIP são configuradas em combinações diferentes.

Figura 8: Switches DIP na fonte de alimentação NP10K-PWR-AC3H DIP Switches on NP10K-PWR-AC3H Power Supply

1 — Chaves DIP

Tabela 8: Configurações da chave DIP para a fonte de alimentação JNP10K-PWR-AC3H

INP-A0 (switch 0)

INP-A1 (switch 1)

INP-B0 (switch 2)

INP-B1 (switch 3)

Chave 4 (entrada alta 20 A/entrada baixa 15 A)

Potência de saída

15-A

Desligado

Desligado

Desligado

Ativado

Desligado (15 A)

2300 W

Desligado

Desligado

Ativado

Desligado

Desligado (15 A)

2300 W

Desligado

Desligado

Ativado

Ativado

Desligado (15 A)

4600 W

Desligado

Ativado

Desligado

Desligado

Desligado (15 A)

2300 W

Desligado

Ativado

Desligado

Ativado

Desligado (15 A)

4600 W

Desligado

Ativado

Ativado

Ativado

Desligado (15 A)

6900 W

Desligado

Ativado

Ativado

Desligado

Desligado (15 A)

4600 W

Ativado

Desligado

Desligado

Desligado

Desligado (15 A)

2300 W

Ativado

Desligado

Desligado

Ativado

Desligado (15 A)

4600 W

Ativado

Desligado

Ativado

Desligado

Desligado (15 A)

4600 W

Ativado

Desligado

Ativado

Ativado

Desligado (15 A)

6900 W

Ativado

Ativado

Desligado

Desligado

Desligado (15 A)

4600 W

Ativado

Ativado

Desligado

Ativado

Desligado (15 A)

6900 W

Ativado

Ativado

Ativado

Desligado

Desligado (15 A)

6900 W

Ativado

Ativado

Ativado

Ativado

Desligado (15 A)

7800 W

20-A

Desligado

Desligado

Desligado

Ativado

Ligado (20 A)

3000 W

Desligado

Desligado

Ativado

Desligado

Ligado (20 A)

3000 W

Desligado

Desligado

Ativado

Ativado

Ligado (20 A)

6000 W

Desligado

Ativado

Desligado

Desligado

Ligado (20 A)

3000 W

Desligado

Ativado

Desligado

Ativado

Ligado (20 A)

6000 W

Desligado

Ativado

Ativado

Desligado

Ligado (20 A)

6000 W

Desligado

Ativado

Ativado

Ativado

Ligado (20 A)

7800 W

Ativado

Desligado

Desligado

Desligado

Ligado (20 A)

3000 W

Ativado

Desligado

Desligado

Ativado

Ligado (20 A)

6000 W

Ativado

Desligado

Ativado

Desligado

Ligado (20 A)

6000 W

Ativado

Desligado

Ativado

Ativado

Ligado (20 A)

7800 W

Ativado

Ativado

Desligado

Desligado

Ligado (20 A)

6000 W

Ativado

Ativado

Desligado

Ativado

Ligado (20 A)

7800 W

Ativado

Ativado

Ativado

Desligado

Ligado (20 A)

7800 W

Ativado

Ativado

Ativado

Ativado

Ligado (20 A)

7800 W

ATENÇÃO:

É importante conectar os feeds de entrada da fonte de alimentação JNP10K-PWR-AC3H à rede HVAC antes de ligar o roteador.

LEDs da fonte de alimentação JNP10K-PWR-AC3H

A fonte de alimentação JNP10K-PWR-AC3H possui seis LEDs em seu painel frontal: !, OK, A0, A1, B0 e B1. Os LEDs numerados correspondem às quatro entradas (INP-A0, INP-A1, INP-B0 e INP-B1). Além disso, existem mais dois LEDs OK (Power OK) e !(Falha). Esses LEDs exibem informações sobre o status da fonte de alimentação. Veja a Figura 9.

Figura 9: LEDs em uma fonte de alimentação JNP10K-PWR-AC3H LEDs on a JNP10K-PWR-AC3H Power Supply

1—LEDs na fonte de alimentação JNP10K-PWR-AC3H indicando:

  • ! Falha

  • OKEY Energia OK

  • A0 INP A0 — Entrada de origem 1

  • A1 INP A1 — Entrada de origem 2

  • B0 INP B0 — Entrada de origem 3

  • B1 INP B1 — Entrada de origem 4

Observação:

As marcações físicas na fonte de alimentação são INP-A0, INP-A1, INP-B0 e INP-B1. Essas marcações correspondem a INP-A0, INP-A1, INP-B0 e INP-B1 na saída (consulte a show chassis power Tabela 9).

Tabela 9: Marcas físicas no chassi AC3H versus show chassis power Command

Marcação física em JNP10K-PWR-AC3H

Marcação física de LED correspondente

mostrar potência do chassi Comando

INP A0

A0

INP-A0

INP A1

A1

INP-A1

INP B0

B0

INP-B0

INP B1

B1

INP-B1

A Tabela 10 descreve os LEDs em uma fonte de alimentação JNP10K-PWR-AC3H, cor no LED, estado e seu significado.

Tabela 10: LEDs JNP10K-PWR-AC3H em um MX10008

CONDUZIU

Cor

Estado

Descrição

A0 (INP-AO na saída CLI)

Amarelo

Sólido

Um dos seguintes:

  • A fonte de alimentação está desligada.

  • Há tensão de entrada.

  • A tensão de entrada está presente, mas uma falha é detectada.

Verde

Sólido

A fonte de alimentação está funcionando corretamente.

A1 (INP-A1 na saída CLI)

Amarelo

Sólido

Um dos seguintes:

  • A fonte de alimentação está desligada.

  • Há tensão de entrada.

  • A tensão de entrada está presente, mas uma falha é detectada.

Verde

Sólido

A fonte de alimentação está funcionando corretamente.

B0 (INP-B0 na saída CLI)

Amarelo

Sólido

Um dos seguintes:

  • A fonte de alimentação está desligada.

  • Há tensão de entrada.

  • A tensão de entrada está presente, mas uma falha é detectada.

Verde

Sólido

A fonte de alimentação está funcionando corretamente.

B1 (INP-B1 na saída CLI)

Amarelo

Sólido

Um dos seguintes:

  • A fonte de alimentação está desligada.

  • Há tensão de entrada.

  • A tensão de entrada está presente, mas uma falha é detectada.

Verde

Sólido

A fonte de alimentação está funcionando corretamente.

OK (Energia OK)

Verde

Sólido

A fonte de alimentação está funcionando corretamente.

Verde Piscando

A fonte de alimentação está funcionando corretamente, mas há uma incompatibilidade na chave DIP correspondente.

Example: Se A0 estiver recebendo energia de entrada, mas a chave DIP 0 correspondente não estiver LIGADA, o LED piscará em verde.

Amarelo

Piscando

A saída da fonte de alimentação detectou uma falha.

Apagado

Desligado

A fonte de alimentação está desligada.

! (Falha)

Vermelho

Sólido

A fonte de alimentação falhou e deve ser substituída.

Apagado

Desligado

A fonte de alimentação está funcionando normalmente.

Observação: O estado do PSM permanece online durante a falha de compartilhamento atual. Quando ocorre uma falha de compartilhamento de corrente em dispositivos com fontes de alimentação de terceira geração, o sistema não indica a falha no LED nem altera o estado do módulo de fonte de alimentação (PSM) para Fault. Em vez disso, o sistema mantém o estado do PSM online e gera um alarme.

Fonte de alimentação JNP10K-PWR-AC2

A fonte de alimentação JNP10K-PWR-AC2 é um modelo de alta capacidade e alta linha projetado para suportar sistemas CA ou CC em um modo de baixa ou alta potência. A fonte de alimentação recebe entrada CA e fornece saída CC de 12,3 VCC, 5000 W com alimentação simples e 5500 W com alimentação dupla. Para sistemas CA, a tensão de entrada operacional é de 180 a 305 VCA e para sistemas CC, a tensão de entrada operacional é de 190 a 410 VCC.

O número de alimentações de energia e se as fontes de alimentação fornecem energia de alta saída (30-A) ou baixa saída (20-A) é configurado usando um conjunto de chaves de pacote duplo em linha (DIP) no painel frontal da fonte de alimentação. Se uma fonte de alimentação no chassi for definida como baixa potência, o orçamento de energia para o chassi será reduzido para baixa potência, independentemente das configurações do switch DIP ou dos resultados de saída em CLI. Este projeto protege contra a configuração acidental da fonte de alimentação para 30-A em uma instalação que só pode fornecer 20-A e o disparo do disjuntor do circuito da instalação. Recomendamos que você não misture as configurações da chave DIP em seu sistema. Consulte a Tabela 11 para obter as configurações das chaves DIP.

O JNP10K-PWR-AC2 se encaixa no compartimento da fonte de alimentação padrão, mas quando comparado à maioria dos outros modelos, o JNP10K-PWR-AC2 é mais longo e se projeta do compartimento quando totalmente inserido no chassi. Veja a Figura 10.

Figura 10: Comparação do JNP10K-PWR-AC2 com a fonte de alimentação JNP10K-PWR-AC Comparison of the JNP10K-PWR-AC2 to the JNP10K-PWR-AC Power Supply
Atenção:

Perigo extremo de queimadura – Não manuseie uma fonte de alimentação HVAC ou HVDC em execução no chassi sem luvas de proteção térmica. O JNP10K-PWR-AC2 pode atingir temperaturas de 158 ° F (70 ° C) em condições de operação.

Atenção:

O roteador é um equipamento tipo A plugável instalado em um local de acesso restrito. Ele possui um terminal de aterramento de proteção separado no chassi que deve ser conectado ao aterramento permanentemente para aterrar o chassi adequadamente e proteger o operador contra riscos elétricos.

ATENÇÃO:

Antes de começar a instalar o roteador, certifique-se de que um eletricista licenciado tenha conectado um terminal de aterramento apropriado ao cabo de aterramento que você fornece. O uso de um cabo de aterramento com um terminal conectado incorretamente pode danificar o roteador.

Tabela 11: Tensões de entrada e saída de energia para fontes de alimentação JNP10K-PWR-AC2

INP0 (switch 1)

INP1 (switch 2)

H/L (entrada alta 30 A/entrada baixa 20A)

Potência de saída

Ativado

Ativado

Ligado (30 A)

5500 W

Ativado

Ativado

Desligado (20 A)

3000 W

Ativado

Desligado

Ligado (30 A)

5000 W

Desligado

Ativado

Ligado (30 A)

5000 W

Ativado

Desligado

Desligado (20 A)

2700 W

Desligado

Ativado

Desligado (20 A)

2700 W

LEDs da fonte de alimentação JNP10K-PWR-AC2

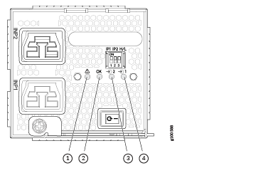
A fonte de alimentação JNP10K-PWR-AC2 possui quatro LEDs em sua placa-mãe: !, OK, 2 e 1. Esses LEDs exibem informações sobre o status da fonte de alimentação. Veja a Figura 11.

Figura 11: LEDs em uma fonte de alimentação HVDC JNP10K-PWR-AC2 LEDs on a JNP10K-PWR-AC2 HVDC Power Supply
1

! FALHA

3

2 INP2 — Entrada de origem 1

2

OKEY PWR OK

4

1 INP1 — Entrada de origem 0

Observação:

As marcações físicas na fonte de alimentação são INP1 e INP2. Essas marcações correspondem a INP0 e INP1 na saída (consulte a show chassis power Tabela 12).

Tabela 12: Marcas físicas no chassi versus show chassis power command

Marcação física no JNP10K-PWR-AC2

mostrar comando de energia do chassi

INP1

INP0

INP2

INP1

A Tabela 13 descreve os LEDs em uma fonte de alimentação JNP10K-PWR-AC2.

Tabela 13: Interpretando os LEDs JNP10K-PWR-AC2

CONDUZIU

Cor

Estado

Descrição

INP1 ou INP0 na saída CLI

Âmbar

Sólido

A fonte de alimentação pode ser ligada ou desligada enquanto o conector de alimentação para a entrada da fonte 0 (INP1) estiver desconectado.

Piscando

A tensão de entrada está presente, mas não está dentro da faixa normal de operação.

Verde

Sólido

A tensão de entrada está presente e dentro da faixa normal de operação.

Apagado

Desligado

A fonte de alimentação está desligada; a tensão é zero.

INP2 ou INP1 na saída de CLI

Âmbar

Sólido

A fonte de alimentação pode ser ligada ou desligada enquanto o conector de alimentação da entrada da fonte 1 (INP2) estiver desconectado.

Piscando

A tensão de entrada está presente, mas não está dentro da faixa normal de operação.

Verde

Sólido

A tensão de entrada está presente e dentro da faixa normal de operação.

Apagado

Desligado

A fonte de alimentação está desligada; a tensão é zero.

OKEY

Verde

Sólido

A saída da fonte de alimentação está dentro da faixa normal de operação.

Âmbar

Piscando

A saída da fonte de alimentação está fora dos limites de potência ou está na posição de sobrecorrente.

Apagado

Desligado

A fonte de alimentação está desligada.

!

Vermelho

Sólido

A fonte de alimentação falhou e deve ser substituída.

Apagado

Desligado

A fonte de alimentação está funcionando normalmente.

Fonte de alimentação JNP10K-PWR-DC2

A fonte de alimentação JNP10K-PWR-DC2 (veja a Figura 12) fornece duas fontes de alimentação em um único invólucro que aceita 60 A ou 80 A usando quatro alimentações de energia de entrada redundantes. PS_0 e PS_1 têm feeds de entrada redundantes: A0 e/ou B0 para PS_0 e A1 e/ou B1 para PS_1. A entrada é configurada usando um conjunto de interruptores DIP na placa frontal da fonte de alimentação. A saída depende das configurações desses interruptores DIP. Veja a Tabela 14.

Tabela 14: Tensões de entrada e saída de energia para fontes de alimentação JNP10K-PWR-DC2

INP0 (switch 1)

INP1 (switch 2)

H/L (Entrada Alta 80 A/Entrada Baixa 60A)

Potência de saída

Ativado

Ativado

Ligado (80 A)

5500 W

Ativado

Ativado

Desligado (60 A)

4400 W

Ativado

Desligado

Ligado (80 A)

2750 W

Desligado

Ativado

Ligado (80 A)

2750 W

Ativado

Desligado

Desligado (60 A)

2200 W

Desligado

Ativado

Desligado (60 A)

2200 W

A fonte de alimentação JNP10K-PWR-DC2 requer um disjuntor de circuito dedicado para cada alimentação CC de entrada. O disjuntor CC deve ser classificado para 80A CC com atraso médio.

Figura 12: Fonte de alimentação JNP10K-PWR-DC2 JNP10K-PWR-DC2 Power Supply
ATENÇÃO:

Não misture modelos de fonte de alimentação no mesmo chassi em um ambiente de execução. JNP10K-PWR-DC e JNP10K-PWR-DC2 podem coexistir no mesmo chassi durante atualizações de fontes de alimentação.

Atenção:

O roteador é um equipamento tipo A plugável instalado em um local de acesso restrito. Ele possui um terminal de aterramento de proteção separado no chassi que deve ser conectado ao aterramento permanentemente para aterrar o chassi adequadamente e proteger o operador contra riscos elétricos.

ATENÇÃO:

Antes de começar a instalar o roteador, certifique-se de que um eletricista licenciado tenha conectado um terminal de aterramento apropriado ao cabo de aterramento que você fornece. O uso de um cabo de aterramento com um terminal conectado incorretamente pode danificar o roteador.

Observação:

As fontes de alimentação DC são enviadas apenas na configuração redundante dos roteadores MX10008. Para obter detalhes sobre as diferentes configurações de chassi, consulte mx10008-system-overview.html#id-mx10008-components-and-configurations e MX10016 Componentes e configurações.

JNP10K-PWR-DC2 LEDs da fonte de alimentação

Um módulo de fonte de alimentação JNP10K-PWR-DC2 possui quatro LEDs em sua placar: 1, 2, OK e o símbolo de falha, !. Esses LEDs exibem informações sobre o status da fonte de alimentação. Veja a Figura 13.

Figura 13: LEDs em uma fonte de alimentação JNP10K-PWR-DC2 LEDs on a JNP10K-PWR-DC2 Power Supply
1

!–FALHA

3

2 – Entrada de fonte 1

2

OK - Power ok

4

1 — Entrada de origem 0

Você pode descobrir a versão do firmware instalado na fonte de alimentação na saída do show system firmware comando. A Tabela 15 descreve os LEDs em uma fonte de alimentação JNP10K-PWR-DC2 se o firmware instalado na fonte de alimentação for 768.520.772 ou superior. A Tabela 16 descreve os LEDs em uma fonte de alimentação JNP10K-PWR-DC2 se o firmware instalado na fonte de alimentação for inferior a 768.520.772.

Tabela 15: LEDs em uma fonte de alimentação JNP10K-PWR-DC2 (com firmware 768.520.772 ou superior instalado)

Alimentação 0

Alimentação 1

Estado do switch da fonte de alimentação

LED 1

LED 2

OKEY CONDUZIU

! CONDUZIU

Desligado

Desligado

Desligado

Laranja

Laranja

Desligado

Vermelho

A ou B

Desligado

Desligado

Verde - Piscando

Laranja

Desligado

Vermelho

A e B

Desligado

Desligado

Verde

Laranja

Desligado

Vermelho

Desligado

A ou B

Desligado

Laranja

Verde - Piscando

Desligado

Vermelho

A ou B

A ou B

Desligado

Verde - Piscando

Verde - Piscando

Desligado

Vermelho — Piscando

A e B

A ou B

Desligado

Verde

Verde - Piscando

Desligado

Vermelho — Piscando

Desligado

A e B

Desligado

Laranja

Verde

Desligado

Vermelho

A ou B

A e B

Desligado

Verde - Piscando

Verde

Desligado

Vermelho — Piscando

A e B

A e B

Desligado

Verde

Verde

Desligado

Desligado

Desligado

Desligado

Ativado

Laranja

Laranja

Desligado

Vermelho

A ou B

Desligado

Ativado

Verde - Piscando

Laranja

Verde

Vermelho

A e B

Desligado

Ativado

Verde

Laranja

Verde

Vermelho

Desligado

A ou B

Ativado

Laranja

Verde - Piscando

Verde

Vermelho

A ou B

A ou B

Ativado

Verde - Piscando

Verde - Piscando

Verde

Vermelho — Piscando

A e B

A ou B

Ativado

Verde

Verde - Piscando

Verde

Vermelho — Piscando

Desligado

A e B

Ativado

Laranja

Verde

Verde

Vermelho

A ou B

A e B

Ativado

Verde - Piscando

Verde

Verde

Vermelho — Piscando

A e B

A e B

Ativado

Verde

Verde

Verde

Desligado

Tabela 16: LEDs em uma fonte de alimentação JNP10K-PWR-DC2 (com firmware inferior a 768.520.772 instalado)

CONDUZIU

Cor

Estado

Descrição

1 (INP0 na saída da CLI) ou 2 (INP1 na saída da CLI)

Laranja

Sólido

Indica que a tensão de entrada de alimentação CC não está dentro da faixa normal de operação.

Verde

Sólido

A alimentação CC está dentro da faixa operacional (-40 VCC a -72 VCC).

Apagado

Desligado

A fonte de alimentação está desligada.

OKEY

Verde

Sólido

A saída de energia CC está dentro da faixa normal de operação.

Laranja

Piscando

A saída está fora dos limites.

!

Vermelho

Sólido

A fonte de alimentação falhou e deve ser substituída.

Apagado

Desligado

A fonte de alimentação está funcionando normalmente. Ou apenas uma entrada é alimentada e o roteador de habilitação para a entrada que não está alimentada é definido como ON. Consulte mx10008-connecting-power.html#id-connecting-dc-power-to-an-mx10008 para obter mais informações sobre os roteadores habilitados.

Observação:

Se o 1 ou 2 e o LED OK estiverem apagados, os cabos de alimentação não estão instalados corretamente ou a fonte de alimentação falhou.

Se o LED 1 ou LED estiver aceso em verde e o LED OK estiver apagado, a fonte de alimentação não está instalada corretamente ou a fonte de alimentação tem uma falha interna.

Se o ! O LED está piscando, adicione uma fonte de alimentação para equilibrar a demanda e o fornecimento de energia.

Fonte de alimentação JNP10K-PWR-AC

A fonte de alimentação AC suporta 200–240 VAC. A saída é de 12 VCC; a potência de saída é de 2700 W.

ATENÇÃO:

Não misture fontes de alimentação CA e CC no mesmo chassi. AC e HVAC podem coexistir no mesmo chassi durante a troca a quente de AC por HVAC. Não misture fontes de alimentação CA e HVAC em um ambiente de execução.

Atenção:

O roteador é um equipamento tipo A plugável instalado em um local de acesso restrito. Ele possui um terminal de aterramento de proteção separado no chassi que deve ser conectado ao aterramento permanentemente para aterrar o chassi adequadamente e proteger o operador contra riscos elétricos.

ATENÇÃO:

Antes de instalar o roteador, certifique-se de que um eletricista licenciado tenha conectado um terminal de aterramento apropriado ao cabo de aterramento que você fornece. O uso de um cabo de aterramento com um terminal conectado incorretamente pode danificar o roteador.

A configuração básica dos roteadores MX10008 é fornecida com três fontes de alimentação; Configuração básica Os roteadores MX10016 são fornecidos com cinco fontes de alimentação. Os painéis de cobertura são instalados sobre os slots de fonte de alimentação restantes. Você pode adicionar fontes de alimentação adicionais aos roteadores de configuração base, conforme necessário. Para obter detalhes sobre as diferentes configurações do roteador, consulte .. /conceito/.. /topic-map/mx10008-system-overview.html#id-mx10008-componentes-e-configurações.

Cada fonte de alimentação JNP10K-PWR-AC pesa 6,8 lb (3,08 kg) e tem 2 entradas CA independentes de 16 A no painel frontal. Embora cada entrada forneça potência de entrada suficiente para fornecer saída completa, sempre conecte a uma alimentação de alimentação CA dedicada para fornecer redundância. Apenas uma alimentação de energia está operacional por vez.

Os roteadores MX10000 empregam a tecnologia de comutação de transferência automática (ATS). O sistema fornece redundância de fonte 2n e redundância de fonte de alimentação n+1, permitindo que você use menos fontes de alimentação do que precisaria em uma configuração 2n . Se uma fonte de energia falhar, o ATS roteia a fonte de alimentação para a fonte alternativa.

Observação:

Para redundância, sempre conecte os dois cabos de alimentação de cada fonte de alimentação:

  • INP1 em um no-break

  • INP2 no fornecimento público de eletricidade

Cada fonte de alimentação JNP10K-PWR-AC tem um interruptor de alimentação com marcações internacionais para ligado (|) e desligado (O), um ventilador e quatro LEDs no painel frontal que indicam o status da fonte de alimentação. Veja a Figura 14.

Figura 14: Fonte de alimentação JNP10K-PWR-AC JNP10K-PWR-AC Power Supply

Cada fonte de alimentação JNP10K-PWR-AC vem com dois retentores de cabo de alimentação que mantêm os cabos de alimentação no lugar. Veja a Figura 15. Cada retentor do cabo de alimentação possui um clipe e uma porca de ajuste. As extremidades do clipe se encaixam nos orifícios do suporte em cada lado da entrada do aparelho CA na placa frontal. A porca de ajuste mantém o cabo de alimentação na posição correta. Para obter instruções sobre como instalar os retentores do cabo de alimentação, consulte .. /conceito/.. /topic-map/mx10008-connecting-power.html#id-connecting-ac-power-to-an-mx10008.

Observação:

Direcione todos os cabos de alimentação CA para longe das bandejas do ventilador. Certifique-se de que os cabos de alimentação não obstruam as bandejas do ventilador.

Figura 15: Retentor do cabo de alimentação para uma fonte de alimentação Power Cord Retainer for an JNP10K-PWR-AC Power Supply JNP10K-PWR-AC

Cada fonte de alimentação se conecta ao trilho de alimentação no roteador. O barramento de alimentação distribui a potência de saída produzida pelas fontes de alimentação para diferentes componentes do roteador. Cada fonte de alimentação fornece energia para todos os componentes do roteador.

Cada fonte de alimentação tem seu próprio ventilador e é resfriada por seu próprio sistema de resfriamento interno. O ar quente sai da parte traseira do chassi.

LEDs da fonte de alimentação JNP10K-PWR-AC

Uma fonte de alimentação CA tem quatro LEDs em sua placa-frontal: INP1, INP2, PWR OK e FAULT. Esses LEDs exibem informações sobre o status da fonte de alimentação. Veja a Figura 16.

Figura 16: LEDs em uma fonte de alimentação JNP10K-PWR-AC LEDs on an JNP10K-PWR-AC Power Supply
1

FALHA

3

INP2 — Entrada de origem 1

2

PWR OK

4

INP1 — Entrada de origem 0

A Tabela 17 descreve os LEDs em uma fonte de alimentação JNP10K-PWR-AC.

Tabela 17: LEDs em uma fonte de alimentação JNP10K-PWR-AC

CONDUZIU

Cor

Estado

Descrição

INP1 (INP0 na saída da CLI) ou INP2 (INP1 na saída da CLI)

Âmbar

Piscando

Indica que a tensão de entrada da alimentação CA não está dentro da faixa normal de operação.

Verde

Sólido

A CA está dentro da faixa de operação (200–240 VCA).

Escuro

Apagado

A fonte de alimentação está desligada.

PWR OK

Verde

Sólido

A saída de energia CC está dentro da faixa normal de operação.

Âmbar

Piscando

A saída de energia CA está fora da faixa normal de operação.

FALHA

Escuro

Apagado

A fonte de alimentação está funcionando normalmente.

Vermelho

Sólido

A fonte de alimentação falhou e deve ser substituída. Ou apenas uma entrada é alimentada e o roteador habilitado para a entrada que não está alimentada é definido como ON. Consulte Instalar uma fonte de alimentação JNP10K-PWR-AC para obter mais informações sobre os roteadores habilitados.

Observação:

Se o LED INP1 ou INP2 e o LED PWR OK estiverem apagados, o cabo de alimentação CA não está instalado corretamente ou a fonte de alimentação falhou.

Se o LED INP1 ou INP2 estiver aceso e o LED PWR OK estiver apagado, a fonte de alimentação CA não está instalada corretamente ou a fonte de alimentação tem uma falha interna.

Fonte de alimentação JNP10K-PWR-DC

Os roteadores MX10008 suportam três tipos de módulos de fonte de alimentação DC:

  • JNP10K-PWR-DC — uma fonte de alimentação dupla de 2500 W e 12 VCC.

  • JNP10K-PWR-DC2— Uma fonte de alimentação de entrada quádrupla de 5500 W e 12 VCC. Para obter detalhes sobre esta fonte de alimentação, consulte Fonte de alimentação JNP10K-PWR-DC2.

  • JNP10K-PWR-AC2—Uma fonte de alimentação CA, corrente alternada de alta tensão (HVAC) ou corrente contínua de alta tensão (HVDC). No modo de alta potência, esta fonte de alimentação fornece 12,3 V, 5000 W com alimentação única e 5500 W com alimentação dupla. Para obter detalhes sobre esta fonte de alimentação, consulte Fonte de alimentação JNP10K-PWR-AC2.

Todas as três fontes de alimentação cabem em um compartimento de slot de alimentação, mas o JNP10K-PWR-AC2 e o JNP10K-PWR-DC2 são mais longos e se projetam do compartimento quando totalmente inseridos no chassi. Veja a Figura 17.

Figura 17: Comparação de tamanho entre as fontes de alimentação JNP10K-PWR-DC2 e JNP10K-PWR-DC Size Comparison Between JNP10K-PWR-DC2 and JNP10K-PWR-DC Power Supplies
ATENÇÃO:

Não misture modelos de fonte de alimentação no mesmo chassi em um ambiente de execução. DC e HVDC podem coexistir no mesmo chassi durante a troca a quente de DC por HVDC.

A fonte de alimentação DC, JNP10K-PWR-DC, é uma fonte de alimentação de entrada dupla de 2500-W, 12-VDC. A saída de cada fonte de alimentação DC é de 12 VCC. A potência de saída é de 2500 W.

Atenção:

O roteador é um equipamento tipo A plugável instalado em um local de acesso restrito. Ele possui um terminal de aterramento de proteção separado no chassi que deve ser conectado ao aterramento permanentemente para aterrar o chassi adequadamente e proteger o operador contra riscos elétricos.

ATENÇÃO:

Antes de instalar o roteador, certifique-se de que um eletricista licenciado tenha conectado um terminal de aterramento apropriado ao cabo de aterramento que você fornece. O uso de um cabo de aterramento com um terminal conectado incorretamente pode danificar o roteador.

Observação:

As fontes de alimentação DC são enviadas apenas na configuração redundante dos roteadores MX10000. Para obter detalhes sobre as diferentes configurações de chassi, consulte .. /conceito/.. /topic-map/mx10008-system-overview.html#id-mx10008-components-and-configurations e MX10016 componentes e configurações.

As fontes de alimentação JNP10K-PWR-DC podem usar o barramento de alimentação padrão ou o barramento de alimentação aprimorado. Todos os chassis MX10016 são fornecidos com o barramento de potência melhorado; para determinar se um MX10008 tem o barramento de alimentação padrão ou aprimorado, consulte .. /conceito/.. /mapa do tópico/mx10008-chassis.html#id-mx10008-status-panel-leds.

Cada fonte de alimentação JNP10K-PWR-DC pesa aproximadamente 6 lb (2,7 kg) e tem dois pares independentes de terminais de entrada CC (Entrada 1, RTN, –48V/–60V e Entrada 2, RTN, –48V/–60V) no painel frontal da fonte de alimentação. Cada entrada requer uma alimentação de alimentação DC dedicada. Embora cada entrada forneça potência de entrada suficiente para fornecer saída completa, sempre conecte a uma alimentação de alimentação CC dedicada para fornecer redundância. Apenas uma alimentação de energia está operacional por vez.

Os modelos de energia DC empregam seleção eletrônica de entrada AB. Ele fornece redundância de fonte de 2n e redundância de fonte de alimentação n+1 usando menos fontes de alimentação do que você precisaria em uma configuração de 2n . Se uma fonte de alimentação falhar, a seleção eletrônica de entrada AB direciona a fonte de alimentação para a fonte alternativa.

Cada fonte de alimentação JNP10K-PWR-DC possui um interruptor de alimentação com marcações internacionais para ligado (|) e desligado (O), um ventilador e quatro LEDs no painel frontal que indicam o status da fonte de alimentação. Veja a Figura 18.

Figura 18: Fonte de alimentação JNP10K-PWR-DC JNP10K-PWR-DC Power Supply
Observação:

A fonte de alimentação JNP10K-PWR-DC requer um disjuntor de circuito dedicado para cada alimentação CC de entrada. O disjuntor escolhido deve ser dimensionado para fornecer 60 A de corrente de entrada.

Cada fonte de alimentação se conecta ao trilho de alimentação combinado em um roteador MX10000. O barramento de alimentação distribui a potência de saída produzida pelas fontes de alimentação para diferentes componentes do roteador. Cada fonte de alimentação DC fornece energia para todos os componentes do roteador.

Observação:

Direcione todos os cabos de alimentação CC para longe das bandejas do ventilador. Certifique-se de que os cabos de alimentação não obstruam as bandejas do ventilador.

Uma fonte de alimentação JNP10K-PWR-DC pode operar com apenas uma alimentação de CC de entrada conectada. A Placa de controle de roteamento habilita apenas os componentes para os quais há energia suficiente disponível.

Cada fonte de alimentação JNP10K-PWR-DC tem seu próprio ventilador e é resfriada por seu próprio sistema de resfriamento interno. O fluxo de ar é da frente da fonte de alimentação para trás. O ar quente sai da parte traseira do chassi.

LEDs da fonte de alimentação JNP10K-PWR-DC

A fonte de alimentação JNP10K-PWR-DC possui quatro LEDs em sua placa frontal: INP1, INP2, PWR OK e FAULT. Esses LEDs exibem informações sobre o status da fonte de alimentação. Veja a Figura 19.

Figura 19: LEDs em uma fonte de alimentação JNP10K-PWR-DC LEDs on a JNP10K-PWR-DC Power Supply
1

INP1 — Entrada de origem 0

3

PWR OK

2

INP2 — Entrada de origem 1

4

FALHA

A Tabela 18 descreve os LEDs em um MX10008.

Tabela 18: LEDs em uma fonte de alimentação DC em um MX10008

CONDUZIU

Cor

Estado

Descrição

INP1 ou INP2

Âmbar

Piscando

Indica que a tensão de entrada de alimentação CC não está dentro da faixa normal de operação.

Verde

Sólido

A alimentação CC está dentro da faixa operacional (-40 VCC a -72 VCC).

Apagado

Desligado

A fonte de alimentação está desligada.

PWR OK

Verde

Sólido

A saída de energia CC está dentro da faixa normal de operação.

Âmbar

Piscando

A saída de energia CC está fora da faixa normal de operação.

FALHA

Vermelho

Sólido

A fonte de alimentação falhou e deve ser substituída.

Apagado

Desligado

A fonte de alimentação está funcionando normalmente. Ou apenas uma entrada é alimentada e o roteador de habilitação para a entrada que não está alimentada é definido como ON. Veja .. /conceito/.. /topic-map/mx10008-connecting-power.html#id-connecting-dc-power-to-an-mx10008 para obter mais informações sobre os switches de ativação.

Observação:

Se o INP1 ou INP2 e o LED PWR OK estiverem apagados, os cabos de alimentação não estiverem instalados corretamente ou a fonte de alimentação falhou.

Se o LED INP1 ou INP2 estiver aceso em verde e o LED PWR OK estiver apagado, a fonte de alimentação não está instalada corretamente ou a fonte de alimentação tem uma falha interna.

Se o LED FAULT estiver piscando, adicione uma fonte de alimentação para equilibrar a demanda e o fornecimento de energia.