Instalación del conmutador EX4100
Este tema le guía a través de los pasos para instalar conmutadores EX4100.
Desempaquetar el conmutador EX4100
Juniper Networks envía los conmutadores EX4100 en una caja de cartón, asegurada con material de embalaje de espuma. La caja tiene un compartimento de accesorios.
La caja de envío protege completamente los conmutadores EX4100. Deje los interruptores de forma segura en la caja hasta que esté listo para comenzar la instalación.
Para desempaquetar el conmutador:
- Mueva la caja de envío a un área de ensayo lo más cerca posible del lugar de instalación, pero donde tenga suficiente espacio para retirar los componentes del sistema.
- Coloque la caja de manera que las flechas apunten hacia arriba.
- Abra las solapas superiores de la caja de envío.
- Extraiga el material de embalaje que mantiene el interruptor en su lugar.
- Compare las piezas recibidas con el inventario en la etiqueta adherida a la caja (consulte Lista de embalaje para un conmutador EX4100).
- Guarde la caja de envío y los materiales de embalaje en caso de que necesite mover o enviar el interruptor más adelante.
Lista de embalaje para un conmutador EX4100
El envío del conmutador incluye una lista de embalaje. Verifique las piezas que recibe con el interruptor contra los artículos en la lista de empaque. La lista de embalaje especifica el número de pieza y proporciona una descripción de cada pieza de su pedido. Las piezas enviadas coinciden con el modelo de conmutador que solicitó (consulte Modelos y especificaciones del EX4100).
Si falta alguna parte de la lista de empaque, comuníquese con su representante de servicio al cliente o con el servicio de atención al cliente de Juniper desde EE. UU. o Canadá por teléfono al 1-888-314-5822. Para conocer las opciones de marcación internacional o directa en países sin números gratuitos, consulte https://www.juniper.net/support/requesting-support.html.
Ver:
-
Tabla 1 para el inventario de componentes suministrados con los modelos EX4100-48P, EX4100-48T, EX4100-24P y EX4100-24T.
-
Tabla 2 para el inventario de componentes suministrados con los modelos EX4100-48MP y EX4100-24MP.
| Componente |
Cantidad |
|
|---|---|---|
| Interruptor |
1 |
|
| Módulos de ventilador |
2 preinstalados |
|
| Fuentes de alimentación |
1 (CA o CC) preinstalado |
|
| Cable de alimentación de CA apropiado para su ubicación geográfica |
1 |
|
| Retenedor del cable de alimentación de CA |
1 |
|
| Conector de terminal de fuente de alimentación de CC |
1 (se suministra junto con los modelos de conmutadores de CC solamente) |
|
| Cubiertas antipolvo para puertos SFP |
8 preinstalados |
|
| Soportes de montaje (2 postes) |
2 |
|
| Pies de goma |
4 |
|
| Hoja de ruta de documentación/tarjeta de garantía |
1 |
|
| Garantía de productos de Juniper Networks |
1 |
|
| Acuerdo de licencia de usuario final |
1 |
|
| Componente |
Cantidad |
|
|---|---|---|
| Interruptor |
1 |
|
| Módulos de ventilador |
2 preinstalados |
|
| Fuentes de alimentación |
1 (CA) preinstalado |
|
| Cable de alimentación de CA apropiado para su ubicación geográfica |
1 |
|
| Retenedor del cable de alimentación de CA |
1 |
|
| Cubiertas antipolvo para puertos SFP |
8 preinstalados |
|
| Soportes de montaje (2 postes) |
2 |
|
| Pies de goma |
4 |
|
| Hoja de ruta de documentación/tarjeta de garantía |
1 |
|
| Garantía de productos de Juniper Networks |
1 |
|
| Acuerdo de licencia de usuario final |
1 |
|
Datos de instalación de la base de actualización
Actualice los datos de la base de instalación si se produce alguna adición o cambio en la base de instalación o si se mueve la base de instalación. Juniper Networks no es responsable de no cumplir con el SLA de reemplazo de hardware para productos que no tienen datos precisos de la base de instalación.
Actualice su base de instalación en https://supportportal.juniper.net/s/CreateCase .
Monte un conmutador EX4100 en dos postes en un rack o gabinete
Antes de montar el interruptor en dos postes de un rack:
-
Verifique que el sitio cumpla con los requisitos descritos en Requisitos y especificaciones ambientales para conmutadores EX4100.
-
Coloque el bastidor en su ubicación permanente, lo que permite un espacio libre adecuado para el flujo de aire y el mantenimiento, y asegúrelo a la estructura del edificio.
-
Lea las Pautas y advertencias generales de seguridad, con especial atención a las pautas de elevación de chasis y componentes.
Asegúrese de tener disponibles las siguientes piezas y herramientas:
-
Destornillador Phillips (+), número 2 (no incluido).
-
Tornillos para fijar el chasis al bastidor (no incluido).
Puede montar un conmutador EX4100 en dos postes de un conmutador de 19 pulgadas. Bastidor o gabinete utilizando los soportes de montaje frontales provistos con el conmutador. (El resto de este tema usa bastidor para referirse a bastidor o gabinete).
También puede montar el conmutador en cuatro postes de un bastidor de cuatro postes utilizando los soportes de montaje suministrados con el kit de montaje en bastidor de cuatro postes que se puede pedir por separado. Consulte Montar un conmutador EX4100 en cuatro postes en un bastidor o gabinete.
Una persona debe estar disponible para levantar el interruptor mientras otra asegura el interruptor al bastidor.
Si va a montar varias unidades en un bastidor, monte la unidad más pesada en la parte inferior del bastidor y monte las demás unidades desde la parte inferior del bastidor hasta la parte superior en orden decreciente del peso de las unidades.
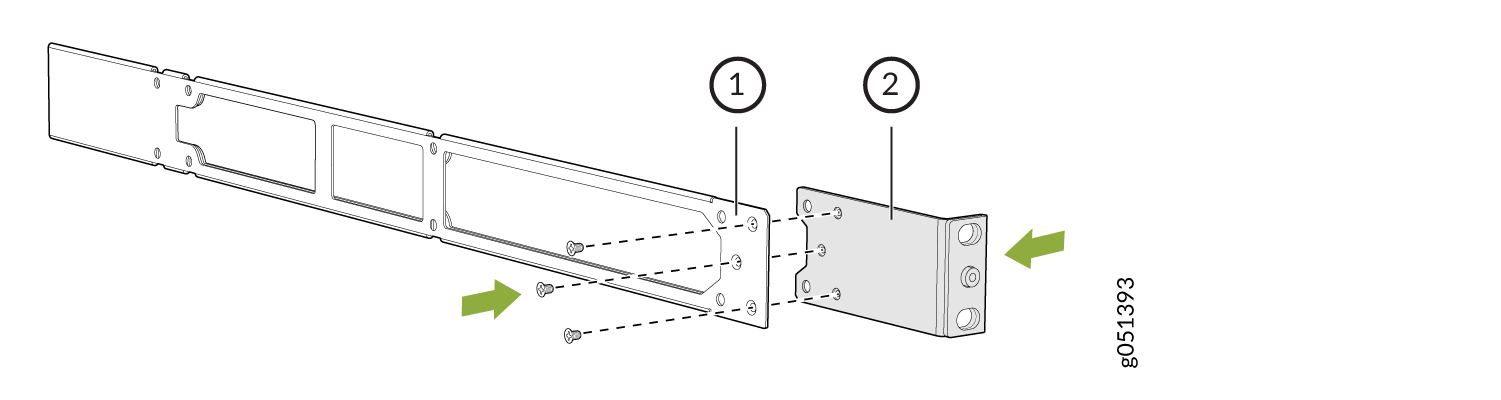
Para montar el conmutador en dos postes de un bastidor:
Monte un conmutador EX4100 en cuatro postes en un rack o gabinete
Antes de montar el interruptor en cuatro postes de un rack:
-
Verifique que el sitio cumpla con los requisitos descritos en las Pautas y requisitos del sitio EX4100 y EX4100-F.
-
Coloque el bastidor en su ubicación permanente, lo que permite un espacio libre adecuado para el flujo de aire y el mantenimiento, y asegúrelo a la estructura del edificio.
-
Lea las Pautas y advertencias generales de seguridad, con especial atención a las pautas de elevación de chasis y componentes.
Si desea montar el conmutador en una posición empotrada, coloque los soportes de montaje frontal empotrados de 2 pulgadas que se proporcionan en el kit de montaje en rack de cuatro postes que se puede pedir por separado. Consulte Monte un conmutador EX4100 empotrado en un bastidor o gabinete.
Asegúrese de tener disponibles las siguientes piezas y herramientas:
-
Destornillador Phillips (+), número 2
-
12 tornillos de montaje Phillips de cabeza plana de 4x6 mm (provistos con el kit de montaje en rack de cuatro postes)
-
Un par de rieles de montaje lateral (provistos con el kit de montaje en rack de cuatro postes)
-
Un par de cuchillas de montaje trasero (suministradas con el kit de montaje en rack de cuatro postes)
-
Tornillos para fijar el chasis y las cuchillas de montaje trasero al bastidor (no incluido)
Puede montar un conmutador EX4100 en cuatro postes de un conmutador de 19 pulgadas. Bastidor o gabinete utilizando el kit de montaje en bastidor de cuatro postes que se puede pedir por separado. (El resto de este tema usa bastidor para referirse a bastidor o gabinete).
Si necesita montar el conmutador empotrado en un bastidor de cuatro postes, puede utilizar los soportes de montaje frontal empotrados de 2 pulgadas que se proporcionan en el kit de montaje en bastidor de cuatro postes que se puede pedir por separado.
Una persona debe estar disponible para levantar el interruptor mientras otra asegura el interruptor al bastidor.
Si va a montar varias unidades en un bastidor, monte la unidad más pesada en la parte inferior del bastidor y monte las demás unidades desde la parte inferior del bastidor hasta la parte superior en orden decreciente del peso de las unidades.
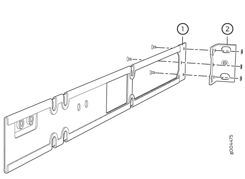
Para montar el conmutador en cuatro postes de un bastidor:
Monte un conmutador EX4100 empotrado en un rack o gabinete
Puede montar un conmutador EX4100 en un bastidor o gabinete de manera que el conmutador esté empotrado dentro del bastidor desde la parte frontal del bastidor por 2 pulgadas. Puede utilizar los soportes de montaje frontal empotrados de 2 pulgadas que se proporcionan en el kit de montaje en rack de cuatro postes que se puede pedir por separado para montar el conmutador en una posición empotrada.
Las razones por las que es posible que desee montar el conmutador en una posición empotrada incluyen:
-
Está montando el interruptor en un gabinete y las puertas del gabinete no se cierran completamente a menos que el interruptor esté empotrado.
-
El conmutador que está montando tiene transceptores instalados en los puertos de vínculo ascendente, y los transceptores en los puertos de vínculo ascendente sobresalen de la parte frontal del conmutador.
Antes de montar un conmutador EX4100 empotrado dentro de una posición de 19 pulgadas. Bastidor de cuatro postes:
-
Verifique que el sitio cumpla con los requisitos descritos en las Pautas y requisitos del sitio EX4100.
-
Coloque el bastidor en su ubicación permanente, lo que permite un espacio libre adecuado para el flujo de aire y el mantenimiento, y asegúrelo a la estructura del edificio.
-
Lea las Pautas y advertencias generales de seguridad, con especial atención a las pautas de elevación de chasis y componentes.
Asegúrese de tener disponibles las siguientes piezas y herramientas:
-
Destornillador Phillips (+) número 2 (no incluido)
-
Ocho tornillos para fijar los soportes de montaje al bastidor (no incluido)
-
Una correa de conexión a tierra ESD (no incluida)
-
Soportes empotrados para montar el conmutador en una posición empotrada desde los postes frontales de un bastidor: 2 (provisto con el kit de montaje en bastidor de cuatro postes)
-
Tornillos Phillips de cabeza plana 4-40 para fijar los soportes empotrados a los rieles laterales del conjunto del soporte: 6 (provisto con el kit de montaje en rack de cuatro postes)
-
Tornillos Phillips de cabeza plana de 4x6 mm para fijar el conjunto del soporte de montaje frontal al chasis: 12 (provisto con el kit de montaje en rack de cuatro postes)
Para montar un conmutador EX4100 empotrado desde los postes delanteros de un conmutador de 19 pulgadas. Bastidor de cuatro postes:
Monte un conmutador EX4100 en una pared
Antes de montar un interruptor en una pared:
-
Verifique que el sitio cumpla con los requisitos descritos en Lista de verificación de preparación del sitio para conmutadores EX4100 .
-
Lea las Pautas y advertencias generales de seguridad, con especial atención a las pautas de elevación de chasis y componentes.
Asegúrese de tener disponibles las siguientes piezas y herramientas:
-
2 soportes de montaje en pared (incluidos en el kit de montaje en pared)
-
12 tornillos de soporte de montaje en pared (incluidos en el kit de montaje en pared)
-
6 tornillos de montaje (8-32 x 1,25 pulg. o M4 x 30 mm) (no incluido)
-
Anclajes de pared huecos clasificados para soportar hasta 75 lb (34 kg) si no está atornillando los tornillos directamente en los montantes de pared (no incluido)
-
Destornillador Phillips (+), número 2
Puede montar un conmutador EX4100 en una pared utilizando el kit de montaje en pared que se puede pedir por separado.
Para montar uno o dos interruptores en una pared:













