MX204 冷却系统
MX204 冷却系统说明
冷却系统组件协同工作,将所有路由器组件保持在可接受的温度范围内。
冷却系统由以下功能和组件组成:
风扇托架
机箱监控路由器组件的温度。路由器正常运行时,风扇以低于全速的速度运行。如果风扇发生故障或环境温度升至阈值以上,则会自动调整剩余风扇的速度,以将温度保持在可接受的范围内。如果超过环境最高温度规格并且系统无法充分冷却,路由引擎将通过禁用每个电源的输出电源来关闭系统。
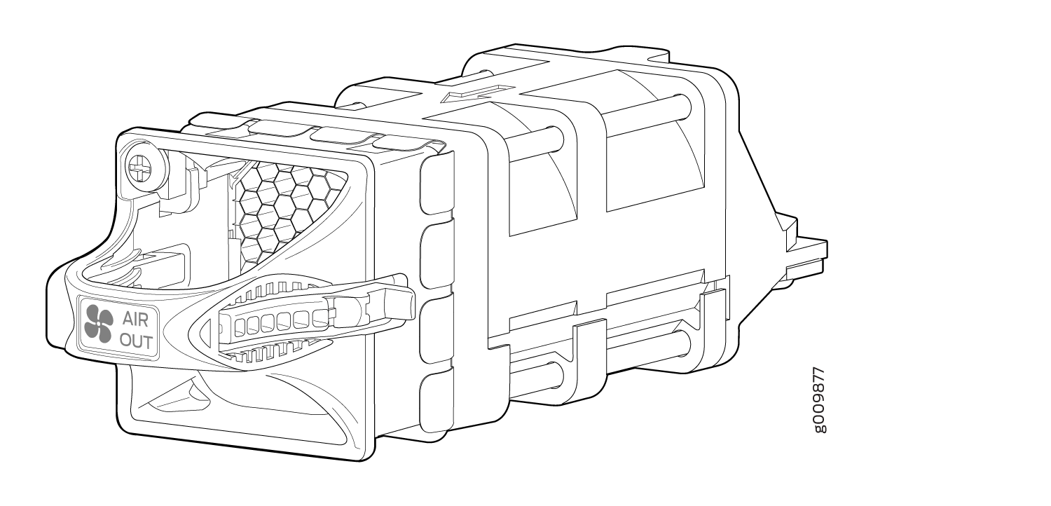
路由器有三个风扇模块(或风扇托架),安装在路由器的背面。每个风扇模块都包含一个反向旋转风扇。风扇模块是可热插入和可热拔除的现场可更换单元 (FRU)(参见 图 1)。
图 1:风扇模块
|
1
—
外加螺钉 |
阿拉伯数字
—
门闩 |
电源冷却系统
电源模块是自冷却的,位于路由器的背面。每个电源模块都有自己的内置风扇,用于冷却电源模块。电源模块的排气口也位于机箱后部。

