ON THIS PAGE
Return the PTX10001-36MR Chassis or Components
Locate the Serial Number on a PTX10001-36MR Chassis or Component
If you are returning a PTX10001-36MR or a PTX10001-36MR field-replaceable unit (FRU) to Juniper Networks for repair or replacement, you must locate the serial number of the router or FRU. You must provide the serial number to the Juniper Networks Technical Assistance Center (JTAC) when you contact them to obtain a Return Materials Authorization (RMA). See Contact Customer Support to Obtain a Return Material Authorization.
If the PTX10001-36MR is operational and you can access the command-line interface (CLI), you can list serial numbers for the router and some components with a CLI command. If you do not have access to the CLI or if the serial number for the FRU does not appear in the command output, you can locate the serial number ID label on the router or FRU.
If you want to find the serial number ID label on a component, you need to remove the component from the chassis, for which you must have the required parts and tools available.
You must remove the fan module to read the serial number from the serial number ID label. The fan module serial number cannot be viewed through the CLI. The fan module numbering starts at 0 and counts from left to right.
- List the Chassis and Component Details by Using the CLI
- Locate the PTX10001-36MR Chassis Serial Number ID Label
- Locate the Serial Number ID Labels on FRU Components
List the Chassis and Component Details by Using the CLI
To list the PTX10001-36MR and components and their serial numbers, use the show
chassis hardware CLI operational mode command.
-
JNP10001-36MR [PTX10001-36MR]—The standard version. -
JNP10001-36MR-K [PTX10001-36MR-K]—The enhanced security version.
user@host> show chassis hardware
Hardware inventory:
Item Version Part number Serial number Description
Chassis EG811 JNP10001-36MR-K [PTX10001-36MR-K]
PSM 0 REV 03 740-073765 1GE28380110 AC AFO 3000W PSU
PSM 1 REV 03 740-073765 1GE28380134 AC AFO 3000W PSU
Routing Engine 0 REV 06 750-100243 BCAZ6056 RE-JNP10001-36MR
CB 0 REV 10 750-099260 BCBA2529 Control Board
FPC 0 BUILTIN BUILTIN FPC-JNP10001-36MR
PIC 0 BUILTIN BUILTIN 8X400GE-MR + 4X100GE-MR
Xcvr 0 REV 01 740-061405 1ACQ13150DA QSFP-100GBASE-SR4-T2
Xcvr 1 REV 01 740-058734 1ECQ133001B QSFP-100GBASE-SR4
Xcvr 6 REV 01 740-054053 XW30R10 QSFP+-4X10G-SR
PIC 1 BUILTIN BUILTIN 8X400GE-MR + 4X100GE-MR
Xcvr 4 REV 01 740-061405 1ACQ13140TM QSFP-100GBASE-SR4-T2
Xcvr 6 REV 01 740-061001 1PC422083KP QSFP28-100G-CU3M
Xcvr 7 UEV 01 740-061001 1RC4230303F QSFP28-100G-CU3M
PIC 2 BUILTIN BUILTIN 8X400GE-MR + 4X100GE-MR
Xcvr 0 REV 01 740-054053 XYJ0RDE QSFP+-4X10G-SR
Xcvr 1 REV 01 740-054053 XZG0KQJ QSFP+-4X10G-SR
Xcvr 2 REV 01 740-067443 XXK04AD QSFP+-40G-SR4
Xcvr 4 REV 01 740-061001 1PC422083KP QSFP28-100G-CU3M
Xcvr 6 REV 01 740-054050 INFAJ0492142 QSFP+-4X10G-LR
Xcvr 10 REV 01 740-058734 1ACQ13290EN QSFP-100GBASE-SR4
Xcvr 11 REV 01 740-061405 1ACQ1315053 QSFP-100GBASE-SR4-T2
SIB 0 BUILTIN BUILTIN SIB-JNP10001-36MR
Fan Tray 0 JNP10001 Fan Tray, Front to Back Airflow - AFO
Fan Tray 1 JNP10001 Fan Tray, Front to Back Airflow - AFO
Fan Tray 2 JNP10001 Fan Tray, Front to Back Airflow - AFO
Fan Tray 3 JNP10001 Fan Tray, Front to Back Airflow - AFO
Fan Tray 4 JNP10001 Fan Tray, Front to Back Airflow - AFO
Fan Tray 5 JNP10001 Fan Tray, Front to Back Airflow - AFO
Locate the PTX10001-36MR Chassis Serial Number ID Label
The serial number ID label is located on a label on the top cover.
Locate the Serial Number ID Labels on FRU Components
For each FRU, you must remove the FRU from the chassis to see the FRU’s serial number ID label.
-
AC power supply—The serial number ID label is on the top of the AC power supply. See Figure 2.
-
DC power supply—The serial number ID label is on the top of the DC power supply. See Figure 3.
-
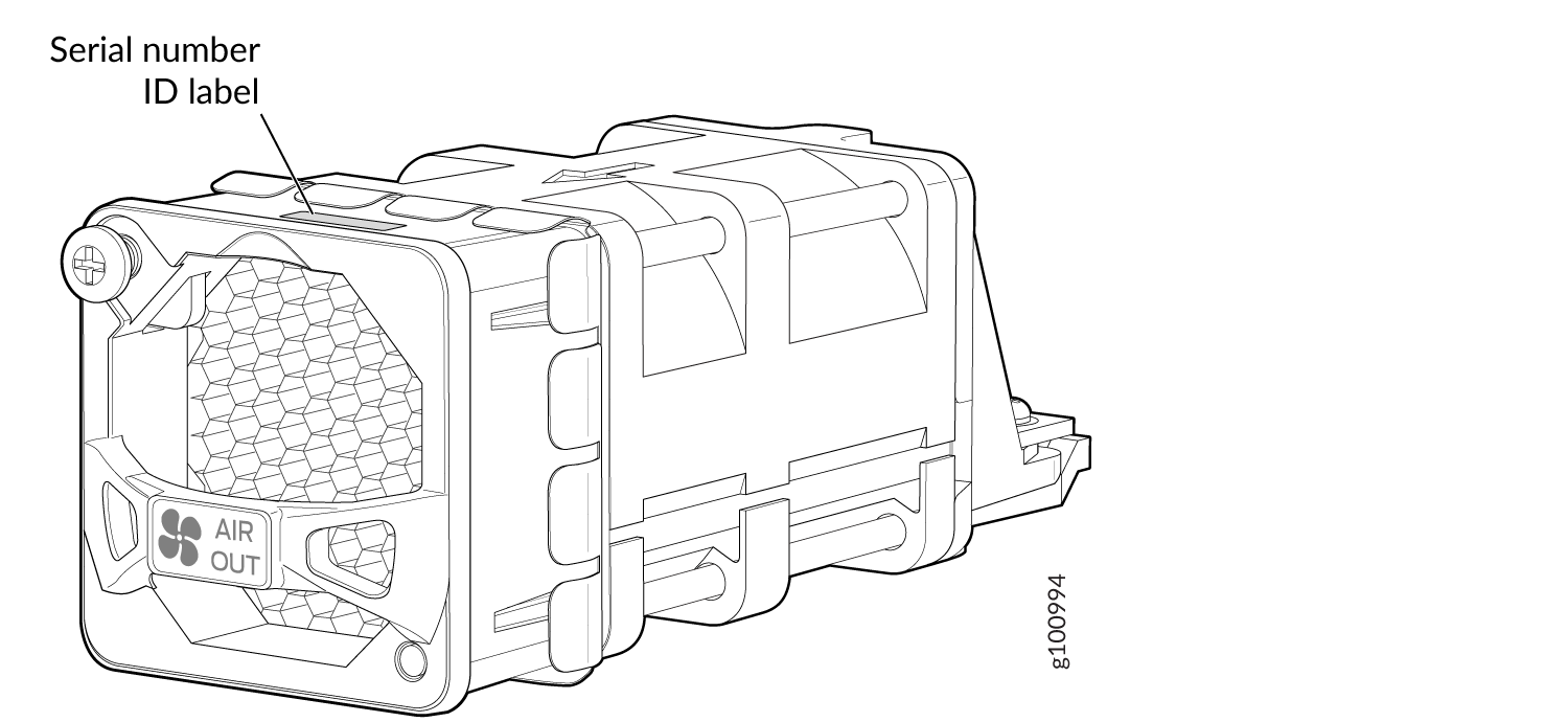
Fan module—The serial number ID label is on the top of the fan module. See Figure 4.
Remove the Solid-State Drives for RMA
The PTX10001-36MR has two solid-state drives (SSDs) that store the software images, system logs, and the configuration files. Before returning a chassis to Juniper Networks as part of a Return Merchandise Authorization (RMA), you have the option of removing the SSDs and disposing them according to your own company’s security procedures. Before you begin this procedure, ensure you have the following tools:
-
ESD grounding strap (not provided)
-
Number 2 Phillips screwdriver
Use this optional procedure to remove the drives from the PTX10001-36MR after the device has shutdown and removed from the rack.
Return a PTX10001-36MR or Component for Repair or Replacement
If you need to return a PTX10001-36MR or component to Juniper Networks for repair or replacement, follow this procedure:
For more information about return and repair policies, see the customer support page at https://www.juniper.net/support/guidelines.html.
Contact Customer Support to Obtain a Return Material Authorization
If you need to return a device or hardware component to Juniper Networks for repair or replacement, obtain an RMA number from JTAC. You must obtain an RMA number before you attempt to return the component.
After locating the serial number of the device or hardware component you want to return, open a service request with the JTAC on the Web or by telephone.
Before you request an RMA number from JTAC, be prepared to provide the following information:
-
Your existing service request number, if you have one
-
Serial number of the component
-
Your name, organization name, telephone number, fax number, and shipping address
-
Details of the failure or problem
-
Type of activity being performed on the device when the problem occurred
-
Configuration data displayed by one or more
showcommands
You can contact JTAC 24 hours a day, seven days a week, on the Web or by telephone:
-
Service Request Manager: https://support.juniper.net/support
-
Telephone: +1-888-314-JTAC (+1-888-314-5822), toll free in U.S., Canada, and Mexico
For international or direct-dial options in countries without toll free numbers, see https://support.juniper.net/support.
If you are contacting JTAC by telephone, enter your 12-digit service request number followed by the pound (#) key for an existing case, or press the star (*) key to be routed to the next available support engineer.
The support representative validates your request and issues an RMA number for return of the component.
How to Pack a PTX10001-36MR Chassis or Component for Shipping
If you are returning a PTX10001-36MR chassis or component to Juniper Networks for repair or replacement, pack the item as described in this topic.
Before you pack a PTX10001-36MR or component:
-
Ensure that you have taken the necessary precautions to prevent electrostatic discharge (ESD) damage. See Prevention of Electrostatic Discharge Damage.
-
Retrieve the original shipping carton and packing materials. Contact your JTAC representative if you do not have these materials, to learn about approved packing materials (see Contact Customer Support).
Ensure that you have the following parts and tools available:
-
ESD grounding strap
-
Antistatic bag, one for each component
-
If you are returning the chassis, an appropriate screwdriver for the mounting screws used on your rack or cabinet
How to Pack a PTX10001-36MR for Shipping
Here’s how to pack a PTX10001-36MR for shipping:
How to Pack PTX10001-36MR Components for Shipping
Do not stack PTX10001-36MR components. Return individual components in separate boxes if they do not fit together on one level in the shipping box.
Here’s how to pack a PTX10001-36MR component for shipping:
- Place individual FRUs in antistatic bags.
- Ensure that the components are adequately protected with packing materials and packed so that the pieces are prevented from moving around inside the carton.
- Close the top of the cardboard shipping box and seal it with packing tape.
- Write the RMA number on the exterior of the box to ensure proper tracking. See Contact Customer Support to Obtain a Return Material Authorization for instructions on obtaining an RMA number.

