QFX5200 Cooling System
QFX5200 Cooling System Description
The cooling system in an QFX5200-32C and QFX5200-32C-L consists of five fan modules and a single fan in each power supply; QFX5200-48Y cooling system consists of six fan modules and a single fan in each power supply, see Figure 1 and Figure 2. The switch can be set up to work in one of two airflow directions:
Airflow In–Air comes into the switch through the vents in the field-replaceable units (FRUs).
Airflow Out–Air comes into the switch through the vents in the port panel.
Airflow In and Airflow Out fans and power supplies cannot be mixed in the same chassis.

1 — Management panel | 3 — Power supplies |
2 — Fan modules |

1 — Power supplies | 2 — Fan modules |
Fan Modules
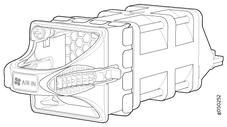
The fan modules in QFX5200 devices are hot-insertable and hot-removable field-replaceable units (FRUs). These fan modules are designed for one of the two available airflow directions (Airflow In or Airflow Out). The fan modules are also color-coded for the airflow direction as well. The fan modules are installed in the fan module slots on the FRU panel.
The QFX5200-32C and QFX5200-32C-L fan modules have five fan modules numbered 0 through 4 when counting from left to right.
The QFX5200-48Y fan modules have six fan modules numbered 0 through 5 when counting from left to right.
Figure 3 and Figure 4 shows the fan modules.


You remove and replace a fan module from the FRU end of the chassis. The switch continues to operate for a limited period of time (30 seconds) during the replacement of the fan module without thermal shutdown.
All fan modules must be installed for optimal operation of the switch.
The fan modules are available in four product SKUs that have different airflow directions—FRU-to-port airflow and port-to-FRU airflow On legacy switches or switches with LCDs, this airflow is also called front-to-back and back-to-front. Table 1 lists the available fan module product SKUs and the direction of airflow in them:
Fan Module |
Airflow Diagram |
Label on the Fan Module |
Color of Fan Module |
Direction of Airflow in the Fan Module |
Power Supplies |
|---|---|---|---|---|---|
QFX5200-32C-FANAFI Note:
Used for both QFX5200-32C-AFI and QFX5200-32C-LAFI |
AIR IN |
Juniper Azure Blue |
FRU-to-port, that is, air comes in from the end of the switch with the fans; air exhausts from the switch end with ports (also known as back-to-front airflow). |
You must install only power supplies that have AIR IN labels in switches in which the fan modules have AIR IN labels. |
|
QFX5200-32C-FANAFO Note:
Used for both QFX5200-32C-AFO and QFX5200-32C-LAFO |
AIR OUT |
Juniper Gold |
Port-to-FRU, that is, air comes in through vents on the end with ports; air exhausts out the end with the fans (also known as front-to-back airflow). |
You must install only power supplies that have AIR OUT labels in switches in which the fan modules have AIR OUT labels. |
|
QFX5200-48Y-FAN-AFI |
AIR IN |
Blue |
FRU-to-port, that is, air comes in from the end of the switch with the fans; air exhausts from the switch end with ports (also known as back-to-front airflow). |
You must install only power supplies that have AIR IN labels in switches in which the fan modules have AIR IN labels. |
|
QFX5200-48Y-FAN-AFO |
AIR OUT |
Red |
Port-to-FRU, that is, air comes in through vents on the end with ports; air exhausts out the end with the fans (also known as front-to-back airflow). |
You must install only power supplies that have AIR OUT labels in switches in which the fan modules have AIR OUT labels. |
In data center deployments, position the switch in such a manner that the AIR IN labels on switch components are next to the cold aisle, and AIR OUT labels on switch components are next to the hot aisle.




Do Not Install Components with Different Airflow or Wattage in the Switch
Do not mix power supplies with different airflow. If the power supplies are color-coded, ensure they are either all match. Likewise, ensure that all fan modules have the same airflow and match the airflow of the power supplies. Fan modules are also color-coded that match the power supplies.
Mixing components with different airflows in the same chassis hampers the performance of the cooling system of the switch and leads to overheating of the chassis.
The system raises an alarm if a fan module fails or if the ambient temperature inside the chassis rises above the acceptable range. If the temperature inside the chassis rises above the threshold temperature, the system shuts down automatically.
Do not mix fan modules with different wattage. Only use the replacement fan modules that are designed for use with your product number. See Table 1 for the correct part number for your QFX5200 device.
Do not mix AC and DC power supplies in the same QFX5200-32C or QFX5200-32C-L chassis. You may mix AC and DC power supplies in the same QFX5200-48Y chassis, but the fans and power supplies must have the same airflow direction. Also note that load sharing is not the same for AC and DC power supplies.
However if you need to convert a QFX5200 device to have a different airflow, you can change the airflow pattern. To convert an AIR IN product SKU to an AIR OUT product SKU or an AIR OUT product SKU to a AIR IN product SKU, you must replace all of the fans and power supplies at one time to use the new direction. The system raises an alarm when the system is converted, which is normal.
QFX5200-32C and QFX5200-32C-L Fan Module LED
On the QFX5200-32C and QFX5200-32C-L switches the fan module LEDs are located on the chassis next to the fan module slot. QFX5200-48Y fan modules do not have LED indicators. Figure 9 shows the location of the fan module LEDs next to the fan module on a QFX5200-32C and QFX5200-32C-L switch.

1 — Fan module LED |
Table 2 describes the function of the fan tray LED.
Name |
Color |
State |
Description |
|---|---|---|---|
Fan |
Green |
On steadily |
The fan module is operating normally. The system has verified that the module is engaged, that the airflow is in the correct direction, and that the fan is operating correctly. |
Amber |
Blinking |
An error has been detected in the fan module. Replace the fan module as soon as possible. Either the fan has failed or it is seated incorrectly. To maintain proper airflow through the chassis, leave the fan module installed in the chassis until you are ready to replace it. |
Under normal operating conditions, the fan modules operate at a moderate speed. Temperature sensors in the chassis monitor the temperature within the chassis.
The system raises an alarm if a fan module fails or if the ambient
temperature inside the chassis rises above the acceptable range. If
the temperature inside the chassis rises above the threshold temperature,
the system shuts down automatically. Use the show chassis fan and on Junos OS Evolved systems the show system alarms operational CLI command. For example:
user@host> show chassis fan
Item Status % RPM Measurement
Fan Tray 0 Fan 1 Ok 104% 19081 RPM
Fan Tray 0 Fan 2 Ok 107% 22500 RPM
Fan Tray 1 Fan 1 Ok 105% 19217 RPM
Fan Tray 1 Fan 2 Ok 103% 21686 RPM
Fan Tray 2 Fan 1 Ok 104% 19014 RPM
Fan Tray 2 Fan 2 Ok 104% 21951 RPM
Fan Tray 3 Fan 1 Ok 104% 18947 RPM
Fan Tray 3 Fan 2 Ok 102% 21428 RPM
Fan Tray 4 Fan 1 Ok 101% 18556 RPM
Fan Tray 4 Fan 2 Ok 101% 21259 RPMFor Junos OS Evolved systems only:
user@host> show system alarms 8 alarms currently active Alarm time Class Description 2018-10-11 15:55:58 UTC Major Fan Tray 0 Failure 2018-10-11 15:55:58 UTC Major Fan Tray 1 Failure 2018-10-11 15:55:58 UTC Major Fan Tray 2 Failure 2018-10-11 15:55:58 UTC Major Fan Tray 3 Failure 2018-10-11 15:55:58 UTC Major Fan Tray 4 Failure