Maintaining QFX10000 Line Cards
Removing a QFX10000 Line Card
QFX10000 line cards are field-replaceable units (FRUs) that can be installed in the line card slots on the front of the chassis. The line cards are hot-insertable and hot-removable: you can remove and replace them without powering off the switch or disrupting switch functions. However, we recommend that you take them offline before removing them.
If you have the optional line-card cable management system, it is not necessary to remove the cable management system before removing the line card.
Before you remove a line card from the switch chassis:
Ensure that you have taken the necessary precautions to prevent electrostatic discharge (ESD) damage. See Prevention of Electrostatic Discharge Damage.
If there are any optical cables, (including transceivers, direct-attach copper (DAC), or DAC break-out) installed in the line card), remove them before you remove the line card. See Removing a Transceiver.
Ensure that you know how to handle and store the line card. See Unpacking QFX10000 Line Cards, Routing and Control Boards, and Switch Interface Boards.
Ensure that you have the following parts and tools available to remove a line card from a QFX10000 chassis:
ESD grounding strap
An electrostatic bag or an antistatic mat
Note:Placing a line card in an electrostatic bag might require a second person to assist with sliding the line card into the bag.
Replacement line card or a cover for the empty slot
To remove a line card from a QFX10000 switch chassis:
See Also
Installing a QFX10000 Line Card
QFX10000 line cards are field-replaceable units (FRUs) that can be installed in any of the line card slots on the front of the chassis. The line cards are hot-insertable and hot-removable: you can remove and replace them without powering off the switch or disrupting switch functions.
Before you install a line card in the switch chassis:
Ensure that you have taken the necessary precautions to prevent electrostatic discharge (ESD) damage. See Prevention of Electrostatic Discharge Damage.
Ensure that you know how to handle and store the line card. See Handling and Storing QFX10000 Line Cards, RCBs, and SIBs.
Inspect the connector edge of the line card for physical damage. Installing a damaged line card might damage the switch.
Ensure that the switch has sufficient power to power the line card while maintaining its N+1 power redundancy. To determine whether the switch has enough power available for the line card, use the
show chassis power-budget-statisticscommand. See also Power Requirements for QFX10000 Components.Ensure that you have the following parts and tools available to install a line card in the switch:
ESD grounding strap
Phillips (+) screwdriver, number 2
To install a line card in the switch chassis:
You can install the optional cable management kit after the card is installed.
See Also
Installing the QFX10000 Cable Management System
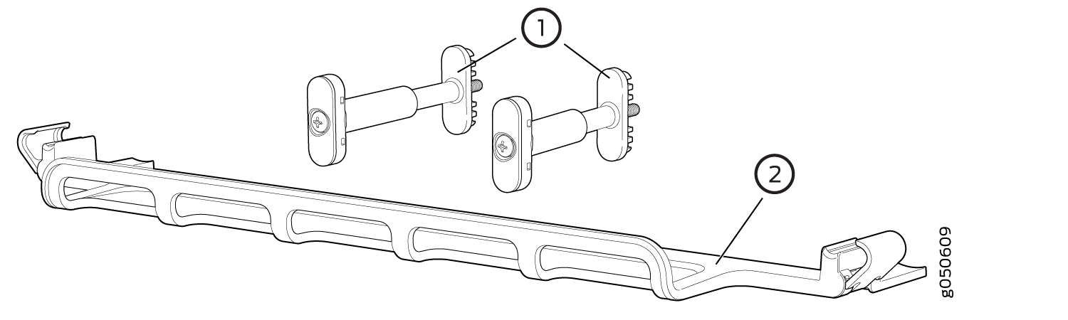
The QFX10000 cable management system is an optional kit that can be ordered to organize and protect optical cabling attached to the line cards. After a card is installed, you can still remove the line card without needing to remove the cable management system.
Ensure that you have the following parts and tools available to install the QFX10000 cable management system on a line card:
Phillips (+) screwdriver, number 2
To install the cable management system (see Figure 10):










