ON THIS PAGE
PTX10008 Power System
PTX10008 routers support AC, DC, high-voltage alternating current (HVAC), and high-voltage direct current (HVDC) by offering the following power supplies:
-
JNP10K-PWR-AC
-
JNP10K-PWR-AC2
-
JNP10K-PWR-AC3
-
JNP10K–PWR-DC
-
JNP10K-PWR-DC2
-
JNP10K-PWR-DC3
-
JNP10K-PWR-AC3H (HVAC/HVDC)
You can install up to six power supplies in a PTX10008 router in the slots labeled PEM 0 through PEM 5 (top to bottom) located in the rear of the chassis. All models of the power supply operate in JNP10008-SF fabric systems. The JNP10008-SF3 switch fabric requires the JNP10K-PWR-AC2, JNP10K-PWR-AC3, JNP10K-PWR-AC3H, JNP10K-PWR-DC2 or the JNP10K-PWR-DC3 power supply.
The JNP10K-PWR-AC2 and JNP10K-PWR-DC2 power supplies share power. The JNP10K-PWR-AC and JNP10K-PWR-DC power supplies do not share power.
The JNP10K-PWR-AC2 and JNP10K-PWR-AC3 can share power proportionally in a mixed configuration, only when you are upgrading to JNP10K-PWR-AC3.
The JNP10K-PWR-AC2 and JNP10K-PWR-AC3H can share power proportionally in a mixed configuration, provided all the four PSUs are powered either by HVAC or HVDC.
JNP10K-PWR-AC Power Supply
The JNP10K-PWR-AC power supplies are 2700-W and support 200–240 VAC. The output power is 2700 W.
Do not mix AC and DC power supplies in the same chassis. AC and HVAC can coexist in the same chassis during the hot swap of AC for HVAC. Do not mix AC and HVAC power supplies in a running environment.
The router is pluggable type A equipment installed in a restricted-access location. It has a separate protective earthing terminal on the chassis that must be connected to earth ground permanently to ground the chassis adequately and protect the operator from electrical hazards.
Before you begin installing the router, ensure that a licensed electrician has attached an appropriate grounding lug to the grounding cable that you supply. Using a grounding cable with an incorrectly attached lug can damage the router.
You can prevent AC power cables from being exposed to hot air exhaust by always routing the power cables away from the fan trays and power supplies.
Each JNP10K-PWR-AC power supply has two independent 16-A rated AC inlets on the faceplate. Though each inlet provides sufficient input power to provide full output, always connect to a dedicated AC power feed to provide redundancy. Only one power feed is operational at a time.
For redundancy, always plug the two power cords from each power supply:
-
INP1 into the public electricity supply
-
INP2 into an alternative or independent power source
Each JNP10K-PWR-AC power supply has a power switch with international markings for on (|) and off (O), a fan, and four LEDs on the faceplate that indicate the status of the power supply. It also has a set of dual inline package (DIP) switches that enable the source feeds, INP1 and INP2. See Figure 1.
Use a dedicated overcurrent protection device that meets the site's local laws and standard.
Each JNP10K-PWR-AC power supply comes with two power cord retainers that hold the power cords in place. See Figure 2. Each power cord retainer has a clip and an adjustment nut. The ends of the clip hook into the bracket holes on each side of the AC appliance inlet on the faceplate. The adjustment nut holds the power cord in the correct position.
Route all the AC power supply cords away from the fan trays and power supply vents. Make sure that the power cords do not obstruct the fan trays or power supply vents.
Each power supply connects to the power rail in the router. The power rail distributes the output power produced by the power supplies to different router components. Each power supply provides power to all the components in the router.
Each power supply has its own fan and is cooled by its own internal cooling system. Hot air exhausts from the rear of the chassis.
See Also
JNP10K-PWR-AC Power Supply LEDs
The JNP10K-PWR-AC power supply has four LEDs on its faceplate: INP1, INP2, PWR OK, and FAULT. These LEDs display information about the status of the power supply. See Figure 3.

1 — FAULT LED | 3 — INP2 LED |
2 — PWR OK LED | 4 — INP1 LED |
Table 1 describes the LEDs on the JNP10K-PWR-AC power supply.
LED |
Color |
State |
Description |
|---|---|---|---|
|
Green |
Solid |
The power supply is functioning properly. |
Yellow |
Blinking |
The power supply has detected a power input fault. |
|
None |
Unlit |
The power supply is switched off. |
|
PWR OK |
Green |
Solid |
The power supply is functioning properly. |
Yellow |
Blinking |
The power supply has detected a power output fault. |
|
FAULT |
None |
Unlit |
The power supply is functioning properly. |
Red |
Solid |
The power supply has failed and must be replaced. Or, only one input is powered and the enabled router for the input that is not powered is set to ON. See Install a JNP10K-PWR-AC Power Supply for more information about the enable switches. |
If the INP1 or INP2 LED and the PWR OK LED are unlit, the AC power cable is not installed properly or the power supply has failed.
If the INP1 or INP2 LED is lit and the PWR OK LED is unlit, the AC power supply is not installed properly or the power supply has an internal failure.
JNP10K-PWR-AC2 Power Supply
The JNP10K-PWR-AC2 power supply is a high-capacity model that is designed to support AC, high-voltage AC (HVAC), or high-voltage DC (HVDC) systems in either a 20-A or a 30-A mode; see Figure 4. The power supply feeds AC input and provides DC output of 5000 W with a single feed and 5500 W with a dual feed. The operating input voltage range is 180 to 305 VAC for AC systems and 190 to 410 VDC for DC systems.
The number of power feeds and whether the power supplies provide high-output (30-A) or low-output (20-A) power are configured using a set of dual inline package (DIP) switches on the faceplate of the power supply. If one power supply in the chassis is set to low power, the power budget for the chassis is reduced to low power, regardless of their DIP switch settings or the output results in the CLI. This design safeguards against accidentally setting the power supply to 30 A in a facility that can provide only 20 A and tripping the facility circuit breaker. We recommend that you don’t mix DIP switch settings in your system. See Table 2 for information about the input and output voltages when you use the DIP switches.
Extreme burn danger—Do not handle an HVAC or HVDC power supply running in the chassis without heat protective gloves. The JNP10K-PWR-AC2 can reach temperatures in the range of 158°F to 176°F (70°C to 80°C) under running conditions.
The router is pluggable type A equipment installed in a restricted-access location. It has a separate protective earthing terminal on the chassis that must be connected to earth ground permanently to ground the chassis adequately and protect the operator from electrical hazards.
Before you begin installing the router, ensure that a licensed electrician has attached an appropriate grounding lug to the grounding cable that you supply. Using a grounding cable with an incorrectly attached lug can damage the router.
Use a dedicated overcurrent protection device that meets the site's local laws and standard.
|
INP0—PS 0(DIP Switch 1) |
INP1—PS 1(DIP Switch 2) |
H/L (High Input 30 A/Low Input 20 A) |
Output Power |
|---|---|---|---|
|
On |
On |
On (30 A) |
5500 W |
|
On |
On |
Off (20 A) |
3000 W |
|
On |
Off |
On (30 A) |
5000 W |
|
Off |
On |
On (30 A) |
5000 W |
|
On |
Off |
Off (20 A) |
2700 W |
|
Off |
On |
Off (20 A) |
2700 W |
If one of the DIP switches is in the on position and if the power switch is set to the off position, the system raises an alarm that the input feeds are missing. You can avoid this by setting both the DIP switches to off position.
- IP1
- INP1 in the CLI output for Junos OS Evolved Release 20.4R2 or later.
- INP0 in the CLI output for releases earlier than Junos OS Evolved Release 20.4R2.
- IP2
- INP2 in the CLI output for Junos OS Evolved Release 20.4R2 or later.
- INP1 in the CLI output for releases earlier than Junos OS Evolved Release 20.4R2.
It is important to connect both input feeds of the JNP10K-PWR-AC2 power supply to AC mains before loading the system with power.
The power supplies have internal fans that contribute to chassis cooling. Therefore, all the power supplies must be present in a running chassis to have the adequate airflow. While all power supplies are required to be present in the chassis, they do not necessarily be connected to power. If a power supply is installed in a slot but is not connected to a power source, it draws power from the chassis to power the internal fans in the power supplies.
JNP10K-PWR-AC2 Power Supply LEDs
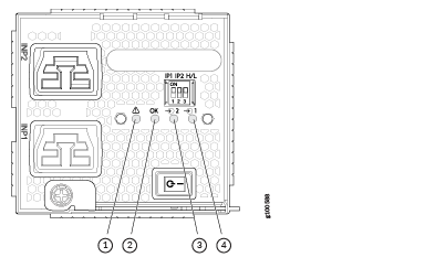
The JNP10K-PWR-AC2 power supply has four LEDs on its faceplate: !, OK, 2, and 1. These LEDs display information about the status of the power supply. See Figure 5.
1 — ! LED | 3 — 2 LED |
2 — OK LED | 4 — 1 LED |
Table 3 describes the LEDs on a JNP10K-PWR-AC2 power supply.
|
LED |
Color |
State |
Description |
|---|---|---|---|
1
|
Yellow |
Solid |
One of the following:
|
|
Green |
Solid |
The power supply is functioning properly. |
|
2
|
Yellow |
Solid |
One of the following:
|
|
Green |
Solid |
The power supply is functioning properly. |
|
|
OK (Power OK) |
Green |
Solid |
The power supply is functioning properly. |
|
Yellow |
Blinking |
The power supply output has detected a fault. |
|
|
Unlit |
Off |
The power supply is switched off. |
|
|
! (Fault) |
Red |
Solid |
The power supply has failed and must be replaced. |
|
Unlit |
Off |
The power supply is functioning normally. |
JNP10K-PWR-AC3 Power Supply
The JNP10K-PWR-AC3 power supply is a high-capacity model that is designed to support AC systems in a 15-A and 20-A mode; see Figure 6.
Input—The power supply takes four single-phase AC (180-264 VAC) inputs (A0, A1, B0, and B1) at either 20 A or 15 A and provides a DC output of 12.3V. The input receptacle on the AC power supply unit (PSU) is IEC 320-C22. The mating connector on the power cord is IEC 320-C21.
Output—The power supply provides DC output of 12.3V at:
-
7800 W (20-A input) with three or four active feeds, or
-
6000 W (20-A input) with two active feeds (one source to either A0 or A1, and second source to either B0 or B1), or
-
3000 W (20-A input) with single active feed, or
-
7800 W (15-A input) with four active feeds, or
-
6900 W (15-A input) with three active feeds, or
-
4600 W (15-A input) with two active feeds, or
-
2300 W (15-A input) with single active feed.
-
The operating input voltage range is 180 to 264 VAC for AC systems. The DC output is 12.3 VDC.
-
The number of power feeds and whether the power supplies provide high-output (20-A) or low-output (15-A) power are configured using a set of dual inline package (DIP) switches on the faceplate of the power supply. If one power supply in the chassis is set to low power, the power budget for the chassis is reduced to low power, regardless of their DIP switch settings or the output results in the CLI. This design safeguards against accidentally setting the power supply to 20 A in a facility that can provide only 15 A and tripping the facility circuit breaker. We recommend that you don’t mix DIP switch settings in your system. See Table 4 for information about the input and output voltages when you use the DIP switches.
-
The JNP10K-PWR-AC3 power supply has an ENABLE switch on the front panel to enable/disable the main 12.3 VDC output and +5.0 V_BIAS standby output as well. If the switch is in DISABLE position, the front-end PFC will be disabled to minimize power consumption. This switch has the highest priority over any other shutdown method.
-
The efficiency is 93% at full load. Power factor is 0.98. The maximum inrush current is 50 A for the active feed.
JNP10K-PWR-BLN3 or Active Blank
Juniper Networks offers an Active Blank Power Module (ABPM), JNP10K-PWR-BLN3. This helps in airflow and cooling in the chassis.
-
Note:
A minimum of one JNP10K-PWR-AC3 power supply unit (PSU) must be present in the router chassis.
The JNP10K-PWR-AC3 power supply has internal fans that contribute to chassis cooling. Three PSUs or two PSUs along with a ABPM must be present in a running chassis to have the adequate airflow. While the minimum power supplies are required to be present in the chassis, they all need not be necessarily connected to power source. If a power supply is installed in a slot but not connected to a power source, it draws power from the chassis to power the internal fans in the power supplies.
Extreme burn danger—The JNP10K-PWR-AC3 can reach temperatures in the range of 158° F to 176° F (70° C to 80° C) under running conditions.
The router is pluggable type A equipment installed in a restricted-access location. It has a separate protective earthing terminal on the chassis that must be connected to earth ground permanently to ground the chassis adequately and protect the operator from electrical hazards.
Before you begin installing the router, ensure that a licensed electrician has attached an appropriate grounding lug to the grounding cable that you supply. Using a grounding cable with an incorrectly attached lug can damage the router.
Use a dedicated overcurrent protection device that meets the site's local laws and standard.
The JNP10K-PWR-AC3 Power Supplies have five dual position DIP switches (INP-A0, INP-A1, INP-B0, INP-B1, and DIP4) that are accessible from the front panel. DIP4 is the fifth DIP switch, which is used to indicate whether 20A or 15A input source is connected. See Figure 7 and Table 4 to know the layout of the DIP switches and the power output when the DIP switches are set in different combinations.
1—DIP switches
|
INP-A0 (Switch 0) |
INP-A1 (Switch 1) |
INP-B0 (Switch 2) |
INP-B1 (Switch 3) |
Switch 4 (High Input 20 A/Low Input 15 A) |
Output Power |
|---|---|---|---|---|---|
|
15-A |
|||||
|
Off |
Off |
Off |
On |
Off (15 A) |
2300 W |
|
Off |
Off |
On |
Off |
Off (15 A) |
2300 W |
|
Off |
Off |
On |
On |
Off (15 A) |
4600 W |
|
Off |
On |
Off |
Off |
Off (15 A) |
2300 W |
|
Off |
On |
Off |
On |
Off (15 A) |
4600 W |
|
Off |
On |
On |
On |
Off (15 A) |
6900 W |
|
Off |
On |
On |
Off |
Off (15 A) |
4600 W |
|
On |
Off |
Off |
Off |
Off (15 A) |
2300 W |
|
On |
Off |
Off |
On |
Off (15 A) |
4600 W |
|
On |
Off |
On |
Off |
Off (15 A) |
4600 W |
|
On |
Off |
On |
On |
Off (15 A) |
6900 W |
|
On |
On |
Off |
Off |
Off (15 A) |
4600 W |
|
On |
On |
Off |
On |
Off (15 A) |
6900 W |
|
On |
On |
On |
Off |
Off (15 A) |
6900 W |
|
On |
On |
On |
On |
Off (15 A) |
7800 W |
|
20-A |
|||||
|
Off |
Off |
Off |
On |
On (20 A) |
3000 W |
|
Off |
Off |
On |
Off |
On (20 A) |
3000 W |
|
Off |
Off |
On |
On |
On (20 A) |
6000 W |
|
Off |
On |
Off |
Off |
On (20 A) |
3000 W |
|
Off |
On |
Off |
On |
On (20 A) |
6000 W |
|
Off |
On |
On |
Off |
On (20 A) |
6000 W |
|
Off |
On |
On |
On |
On (20 A) |
7800 W |
|
On |
Off |
Off |
Off |
On (20 A) |
3000 W |
|
On |
Off |
Off |
On |
On (20 A) |
6000 W |
|
On |
Off |
On |
Off |
On (20 A) |
6000 W |
|
On |
Off |
On |
On |
On (20 A) |
7800 W |
|
On |
On |
Off |
Off |
On (20 A) |
6000 W |
|
On |
On |
Off |
On |
On (20 A) |
7800 W |
|
On |
On |
On |
Off |
On (20 A) |
7800 W |
|
On |
On |
On |
On |
On (20 A) |
7800 W |
It is important to connect the input feeds of the JNP10K-PWR-AC3 power supply to AC mains before powering-on the router.
JNP10K-PWR-AC3 Power Supply LEDs
The JNP10K-PWR-AC3 power supply has six LEDs on its faceplate: !, OK, A0, A1, B0, and B1. The numbered LEDs correspond to the four inputs (INP-A0, INP-A1, INP-B0, and INP-B1). Additionally, there are two more LEDs OK (Power OK) and !(Fault). These LEDs display information about the status of the power supply. See Figure 8.
1—LEDs on the JNP10K-PWR-AC3 Power Supply denoting:
-
! Fault
-
OK Power OK
-
A0 INP A0–Source input 1
-
A1 INP A1–Source input 2
-
B0 INP B0–Source input 3
-
B1 INP B1–Source input 4
Physical markings on the power supply are INP-A0,
INP-A1, INP-B0, and
INP-B1. These markings correspond to INP-A0, INP-A1, INP-B0, and
INP-B1 in the show chassis power output (see Table 5).
|
Physical Marking on JNP10K-PWR-AC3 |
Corresponding Physical LED Marking |
show chassis power Command |
|---|---|---|
|
INP A0 |
A0 |
INP-A0 |
|
INP A1 |
A1 |
INP-A1 |
|
INP B0 |
B0 |
INP-B0 |
|
INP B1 |
B1 |
INP-B1 |
Table 6 describes the LEDs on a JNP10K-PWR-AC3 power supply, color on the LED, state, and its meaning.
|
LED |
Color |
State |
Description |
|---|---|---|---|
|
A0 |
Yellow |
Solid |
One of the following:
|
|
Green |
Solid |
The power supply is functioning properly. |
|
|
A1 |
Yellow |
Solid |
One of the following:
|
|
Green |
Solid |
The power supply is functioning properly. |
|
|
B0 |
Yellow |
Solid |
One of the following:
|
|
Green |
Solid |
The power supply is functioning properly. |
|
|
B1 |
Yellow |
Solid |
One of the following:
|
|
Green |
Solid |
The power supply is functioning properly. |
|
|
OK (Power OK) |
Green |
Solid |
The power supply is functioning properly. |
|
Green |
Blinking |
The power supply is functioning properly but there is a mismatch in the corresponding DIP switch. Example: If A0 is receiving input power but the corresponding DIP switch 0 is not ON, then the LED will blink green. |
|
|
Yellow |
Blinking |
The power supply output has detected a fault. |
|
|
Unlit |
Off |
The power supply is switched off. |
|
|
! (Fault) |
Red |
Solid |
The power supply has failed and must be replaced. |
|
Unlit |
Off |
The power supply is functioning normally. |
JNP10K-PWR-DC Power Supply
The DC power supply, JNP10K-PWR-DC, is a 2500-W, dual input power supply. The output power is 2500 W.
The router is pluggable type A equipment installed in a restricted-access location. It has a separate protective earthing terminal on the chassis that must be connected to earth ground permanently to ground the chassis adequately and protect the operator from electrical hazards.
Before you begin installing the router, ensure that a licensed electrician has attached an appropriate grounding lug to the grounding cable that you supply. Using a grounding cable with an incorrectly attached lug can damage the router.
DC power supplies are shipped only in the redundant configuration of PTX10008 routers.
Each JNP10K-PWR-DC power supply has two independent pairs of DC input lugs (Input 1, RTN, –48V/–60V and Input 2, RTN, –48V/–60V) on the faceplate of the power supply. Each inlet requires a dedicated DC power feed. Although each inlet provides sufficient input power to provide full output, always connect the power supply to a dedicated DC power feed to provide redundancy. Only one power feed is operational at a time.
DC power models employ electronic A-B input selection. Should one power source fail, electronic A-B input selection routes the power supply to the alternate source. The power supply internally balances power between source input A and source input B. The default is to balance 50% to each input.
Each JNP10K-PWR-DC power supply has a power switch with international markings for on (|) and off (O), a built-in fan, and four LEDs on the faceplate that indicate the status of the power supply. See Figure 9.
The JNP10K-PWR-DC power supply requires a dedicated circuit breaker for each input DC feed. The chosen breaker should be sized to deliver 60 A of input current.
Each power supply connects to the combined power rail in a PTX10008 router. The power rail distributes the output power produced by the power supplies to different router components. Each DC power supply provides power to all the components in the router.
Route all the DC power supply cords away from the fan trays and power supply vents. Make sure that the power cords do not obstruct the fan trays or power cords.
A JNP10K-PWR-DC power supply can operate with only one input DC feed connected.
Each JNP10K-PWR-DC power supply has its own fan and is cooled by its own internal cooling system. The airflow is from the front of the power supply to the back. Hot air exhausts from the rear of the chassis.
See Also
JNP10K-PWR-DC Power Supply LEDs
The JNP10K-PWR-DC power supply has four LEDs on its faceplate: INP1, INP2, PWR OK, and FAULT. These LEDs display information about the status of the power supply. See Figure 10.

1 — INP1 LED | 3 — PWR OK LED |
2 — INP2 LED | 4 — FAULT LED |
Physical markings on the power supply are INP1 and
INP2. These markings correspond to PS0, A0, or B0 and
PS1, A1, or B1 in the show chassis power output (see Table 7).
Physical Marking on JNP10K-PWR-DC2 |
show chassis power Command |
|---|---|
INP1 |
PS0 in the CLI output for releases earlier than Junos OS Release 20.4R2 and Junos OS Evolved Release 20.4R2 A0 or B0 in the CLI output for Junos OS Release 20.4R2 or later and Junos OS Evolved Release 20.4R2 or later |
INP2 |
PS1 in the CLI output for releases earlier than Junos OS Release 20.4R2 and Junos OS Evolved Release 20.4R2 A1 or B1 in the CLI output for Junos OS Release 20.4R2 or later and Junos OS Evolved Release 20.4R2 or later |
Table 8 describes the LEDs on the JNP10K-PWR-DC power supply.
|
LED |
Color |
State |
Description |
|---|---|---|---|
|
Yellow |
Blinking |
Indicates that the DC power input voltage is not within normal operating range. |
Green |
Solid |
DC power is within operating range (–40 VDC to –72 VDC). |
|
Unlit |
Off |
The power supply is switched off. |
|
PWR OK |
Green |
Solid |
DC power output is within normal operating range. |
Yellow |
Blinking |
The output is out of the limits. |
|
FAULT |
Red |
Solid |
Power supply has failed and must be replaced. |
Unlit |
Off |
Power supply is functioning normally. Or, only one input is powered and the enable switch for the input that is not powered is set to ON. See Install a JNP10K-PWR-DC Power Supply for more information on the enable switches. |
If the INP1 or INP2 and the PWR OK LED are unlit, the power cables are not installed properly or the power supply has failed.
If the INP1 or INP2 LED is lit green and the PWR OK LED is unlit, the power supply is not installed properly or the power supply has an internal failure.
If the FAULT LED is blinking, add a power supply to balance the power demand and supply.
JNP10K-PWR-DC2 Power Supply
The JNP10K-PWR-DC2 power supply provides two power supplies in a single housing that accepts either 60 A or 80 A using four redundant input power feeds. See Figure 11.
The two internal power supplies (PS 0 and PS 1) each have redundant input feeds: A0 and/or B0 provide power to PS 0 and A1 and/or B1 provide power to PS 1.The input feed A0 or B0 with the highest input voltage provides power to PS 0. Similarly, the input feed A1 or B1 with the highest input voltage provides power to PS 1. A0, B0, A1, and B1 share the power if the input voltage is the same. You configure the input using a set of three DIP switches on the power supply faceplate that sets the combined output power for both internal power supplies. The output depends on the settings of these DIP switches. See Table 9. The output of the PS 0 and PS 1 shares the output power.
|
INP0—PS 0(DIP Switch 1) |
INP1—PS 1(DIP Switch 2) |
H/L (High Input 80 A/Low Input 60 A) |
Output Power |
|---|---|---|---|
|
On |
On |
On (80 A) |
5500 W |
|
On |
On |
Off (60 A) |
4400 W |
|
On |
Off |
On (80 A) |
2750 W |
|
Off |
On |
On (80 A) |
2750 W |
|
On |
Off |
Off (60 A) |
2200 W |
|
Off |
On |
Off (60 A) |
2200 W |
A combined output of 5500 W with PS 0 and PS 1 active is available at 56 VDC or greater. If the input voltage is less than 56 VDC, the output power decreases linearly, keeping the input current a little below the default 60 A. However, the power supply supports 5500 W at lower input voltage if you provide 80 A and sets the power supply switch to 80 A setting.
A combined output of 2750 W with only PS 0 or PS 1 active is available at 56 VDC or greater. If the input voltage is less than 56 VDC, the output power decreases linearly, keeping the input current a little below the default 60 A. However, the power supply supports 2750 W at lower input voltage if you provide 80 A and sets the power supply switch to 80 A setting.
The JNP10K-PWR-DC2 power supply requires a dedicated circuit breaker for each input DC feed. You must use a circuit breaker that is rated for 80 A DC with medium delay.
The power supplies have internal fans that contribute to chassis cooling. Therefore, all the power supplies must be present in a running chassis to have the adequate airflow. While all power supplies are required to be present in the chassis, they do not necessarily be connected to power. If a power supply is installed in a slot but is not connected to a power source, it draws power from the chassis to power the internal fans in the power supplies.
The router is pluggable type A equipment installed in a restricted-access location. It has a separate protective earthing terminal on the chassis that must be connected to earth ground permanently to ground the chassis adequately and protect the operator from electrical hazards.
Before you begin installing the router, ensure that a licensed electrician has attached an appropriate grounding lug to the grounding cable that you supply. Using a grounding cable with an incorrectly attached lug can damage the router.
JNP10K-PWR-DC2 Power Supply LEDs
A JNP10K-PWR-DC2 power supply has four LEDs on its faceplate: !, OK, 2, and 1. These LEDs display information about the status of the power supply. See Figure 12.
1 — ! LED | 3 — 2 LED |
2 — OK LED | 4 — 1 LED |
You can find out the version of the firmware installed in the power supply from the output
of show system firmware command. Table 10 describes the
LEDs on a JNP10K-PWR-DC2 power supply if the firmware installed in the power supply is
300.300.208.208.304 or higher. Table 11
describes the LEDs on a JNP10K-PWR-DC2 power supply if the firmware installed in the power
supply is lower than 300.300.208.208.304.
|
Feed 0 |
Feed 1 |
State of the Power Supply Switch |
LED 1 |
LED 2 |
OK LED |
! LED |
|---|---|---|---|---|---|---|
|
Off |
Off |
Off |
Orange |
Orange |
Off |
Red |
|
A or B |
Off |
Off |
Green—Blinking |
Orange |
Off |
Red |
|
A and B |
Off |
Off |
Green |
Orange |
Off |
Red |
|
Off |
A or B |
Off |
Orange |
Green—Blinking |
Off |
Red |
|
A or B |
A or B |
Off |
Green—Blinking |
Green—Blinking |
Off |
Red—Blinking |
|
A and B |
A or B |
Off |
Green |
Green—Blinking |
Off |
Red—Blinking |
|
Off |
A and B |
Off |
Orange |
Green |
Off |
Red |
|
A or B |
A and B |
Off |
Green—Blinking |
Green |
Off |
Red—Blinking |
|
A and B |
A and B |
Off |
Green |
Green |
Off |
Off |
|
Off |
Off |
On |
Orange |
Orange |
Off |
Red |
|
A or B |
Off |
On |
Green—Blinking |
Orange |
Green |
Red |
|
A and B |
Off |
On |
Green |
Orange |
Green |
Red |
|
Off |
A or B |
On |
Orange |
Green—Blinking |
Green |
Red |
|
A or B |
A or B |
On |
Green—Blinking |
Green—Blinking |
Green |
Red—Blinking |
|
A and B |
A or B |
On |
Green |
Green—Blinking |
Green |
Red—Blinking |
|
Off |
A and B |
On |
Orange |
Green |
Green |
Red |
|
A or B |
A and B |
On |
Green—Blinking |
Green |
Green |
Red—Blinking |
|
A and B |
A and B |
On |
Green |
Green |
Green |
Off |
|
LED |
Color |
State |
Description |
|---|---|---|---|
|
Green |
Solid |
The DC power is within operating range (–40 VDC to –72 VDC). |
|
Yellow |
Blinking (if the part number of the power supply is 740-073256 Rev 3 or earlier) |
The DC power input voltage is not within normal operating range. |
|
| Orange |
On steadily (if the part number of the power supply is 740-073256 Rev 4 or later) |
||
|
Unlit |
Off |
The power supply is switched off. |
|
|
OK (Power OK) |
Green |
Solid |
The DC power output is within normal operating range. |
|
Yellow |
Blinking |
The power supply output is out of the power limits. |
|
|
! (Fault) |
Red |
Solid |
The power supply inputs are misconfigured or the power supply has failed and must be replaced. |
|
Red |
Blinking |
The power supply feed is missing one of the inputs (A or B). |
|
|
Unlit |
Off |
The power supply is functioning normally. Or, only one input is powered and the enable switch for the input that is not powered is set to ON. See Connect DC Power to a PTX10008 for more information about the enable switches. |
If the 1 or 2 and the OK LED are unlit, the power cables are not installed properly or the power supply has failed.
If the 1 or 2 LED is lit green and the OK LED is unlit, the power supply is not installed properly or the power supply has an internal failure.
If the ! LED is blinking, add a power supply to balance the power demand and supply.
JNP10K-PWR-DC3 Power Supply
The JNP10K-PWR-DC3 power supply is a high-capacity model designed to support four power supplies in a single housing that accepts either 60 A or 80 A from four input power feeds.
The JNP10K-PWR-DC3 power supply has an ON/Standby switch on the front panel to enable or disable the main 12.3 VDC output and +5.0 V_BIAS standby output.
The number of power feeds and whether the power supplies provide high input of 80 A or low input of 60 A power are configured using the dual inline package (DIP) switches on the front panel of the power supply. The JNP10K-PWR-DC3 power supplies have five dual-position DIP switches. DIP0 through DIP3 switches (INP-A0, INP-A1, INP-B0, INP-B1) indicate whether the input is connected to the source. DIP4 (fifth DIP switch) indicates whether an 80 A or 60 A input source is connected. See Figure 14 for the layout of the DIP switches, and Table 12 for information on the power output when the DIP switches are set in different combinations.
1 — DIP Switches |
|
INP-A0 (Switch 0) |
INP-A1 (Switch 1) |
INP-B0 (Switch 2) |
INP-B1 (Switch 3) |
Switch 4 (Low Input 60 A/ High Input 80 A) |
Output Power |
|---|---|---|---|---|---|
|
60 A |
|||||
|
Off |
Off |
Off |
On |
Off (60 A) |
2200 W |
|
Off |
Off |
On |
Off |
Off (60 A) |
2200 W |
|
Off |
Off |
On |
On |
Off (60 A) |
4400 W |
|
Off |
On |
Off |
Off |
Off (60 A) |
2200 W |
|
Off |
On |
Off |
On |
Off (60 A) |
4400 W |
|
Off |
On |
On |
Off |
Off (60 A) |
4400 W |
|
Off |
On |
On |
On |
Off (60 A) |
6600 W |
|
On |
Off |
Off |
Off |
Off (60 A) |
2200 W |
|
On |
Off |
Off |
On |
Off (60 A) |
4400 W |
|
On |
Off |
On |
Off |
Off (60 A) |
4400 W |
|
On |
Off |
On |
On |
Off (60 A) |
6600 W |
|
On |
On |
Off |
Off |
Off (60 A) |
4400 W |
|
On |
On |
Off |
On |
Off (60 A) |
6600 W |
|
On |
On |
On |
Off |
Off (60 A) |
6600 W |
|
On |
On |
On |
On |
Off (60 A) |
7800 W |
|
80 A |
|||||
|
Off |
Off |
Off |
On |
On (80 A) |
3000 W |
|
Off |
Off |
On |
Off |
On (80 A) |
3000 W |
|
Off |
Off |
On |
On |
On (80 A) |
6000 W |
|
Off |
On |
Off |
Off |
On (80 A) |
3000 W |
|
Off |
On |
Off |
On |
On (80 A) |
6000 W |
|
Off |
On |
On |
Off |
On (80 A) |
6000 W |
|
Off |
On |
On |
On |
On (80 A) |
7800 W |
|
On |
Off |
Off |
Off |
On (80 A) |
3000 W |
|
On |
Off |
Off |
On |
On (80 A) |
6000 W |
|
On |
Off |
On |
Off |
On (80 A) |
6000 W |
|
On |
Off |
On |
On |
On (80 A) |
7800 W |
|
On |
On |
Off |
Off |
On (80 A) |
6000 W |
|
On |
On |
Off |
On |
On (80 A) |
7800 W |
|
On |
On |
On |
Off |
On (80 A) |
7800 W |
|
On |
On |
On |
On |
On (80 A) |
7800 W |
Active Blank (JNP10K-PWR-BLN3)
Juniper Networks offers the JNP10K-PWR-BLN3, which is an Active Blank Power Module (ABPM). This helps in airflow and cooling in the chassis in the absence of a power supply unit (PSU).
A minimum of one JNP10K-PWR-DC3 PSU must be present in the router chassis.
The JNP10K-PWR-DC3 power supply has internal fans that contribute to chassis cooling. Three PSUs or two PSUs along with an ABPM must be present in a running chassis to have the adequate airflow. Minimum power supplies must be present in the chassis but all of them need not be connected to power source. If a power supply is installed in a slot but not connected to a power source, it draws power from the chassis to power the internal fans in the power supplies.
The router is pluggable type A equipment installed in a restricted-access location. It has a separate protective earthing terminal on the chassis that must be connected to earth ground permanently to ground the chassis adequately and protect the operator from electrical hazards.
Before you begin installing the router, ensure that a licensed electrician has attached an appropriate grounding lug to the grounding cable that you supply. Using a grounding cable with an incorrectly attached lug can damage the router.
JNP10K-PWR-DC3 Power Supply LEDs
The JNP10K-PWR-DC3 power supply has six LEDs on its faceplate. LEDs A0, A1, B0, and B1 correspond to the four input sources (INP-A0, INP-A1, INP-B0, INP-B1). There are two additional LEDs: OK (Power OK) and ! (indicating a fault). These LEDs display information on the status of the power supply. See Figure 15.
1 — LEDs on the JNP10K-PWR-DC3:
|
|
LED Labels on JNP10K-PWR-DC3 |
Output of |
|---|---|
|
A0 |
INP-A0 |
|
A1 |
INP-A1 |
|
B0 |
INP-B0 |
|
B1 |
INP-B1 |
|
LED |
Color |
State |
Description |
|---|---|---|---|
|
A0 ( |
Amber |
Blinking |
The input voltage at A0 is present but not within the operational range. |
|
Green |
Solid |
The input voltage at A0 is present and functioning within the operational range. |
|
|
Unlit |
Off |
No input. |
|
|
A1 ( |
Amber |
Blinking |
The input voltage at A1 is present but not within the operational range. |
|
Green |
Solid |
The input voltage at A1 is present and functioning within the operational range. |
|
|
Unlit |
Off |
No input. |
|
|
B0 ( |
Amber |
Blinking |
The input voltage at B0 is present but not within the operational range. |
|
Green |
Solid |
The input voltage at B0 is present and functioning within the operational range. |
|
|
Unlit |
Off |
No input. |
|
|
B1 ( |
Amber |
Blinking |
The input voltage at B1 is present but not within the operational range. |
|
Green |
Solid |
The input voltage at B1 is present and functioning within the operational range. |
|
|
Unlit |
Off |
No input. |
|
|
OK (Power OK) |
Unlit |
Off |
The power supply output is not within the specified limits. |
|
Green |
Solid |
The power supply output voltage is functioning within the specified limits. |
|
|
! (Fault) |
Red |
Solid |
One of the following:
|
|
Unlit |
Off |
The power supply is functioning properly. |
JNP10K-PWR-AC3H Power Supply
The JNP10K-PWR-AC3H power supply unit is a high-capacity model that is designed to support HVAC or HVDC systems in a 15-A and 20-A mode; see Figure 16. The power supply unit detects whether the input power is AC or DC automatically.
Input—The power supply unit takes four single-phase HVAC (180-305 VAC) or HVDC (190 - 410 VDC) inputs (A0, A1, B0, and B1) at either 20 A or 15 A and provides a DC output of 12.3V. The input receptacles on the JNP10K-PWR-AC3H power supply unit (PSU) are Anderson APP-400 (Safe-D-Grid) receptacles. The mating connectors on the power cord are Anderson APP-400 (Safe-D-Grid) plugs.
Output—The power supply provides DC output of 12.3V at:
-
7800 W (20-A input) with three or four active feeds, or
-
6000 W (20-A input) with two active feeds (one source to either A0 or A1, and second source to either B0 or B1), or
-
3000 W (20-A input) with single active feed, or
-
7800 W (15-A input) with four active feeds, or
-
6900 W (15-A input) with three active feeds, or
-
4600 W (15-A input) with two active feeds, or
-
2300 W (15-A input) with single active feed.
-
The operating input voltage range is 180-305 VAC for AC systems. The DC output is 12.3 VDC.
-
The number of power feeds and whether the power supplies provide high-output (20-A) or low-output (15-A) power are configured using a set of dual inline package (DIP) switches on the faceplate of the power supply. If one power supply in the chassis is set to low power, the power budget for the chassis is reduced to low power, regardless of their DIP switch settings or the output results in the CLI. This design safeguards against accidentally setting the power supply to 20 A in a facility that can provide only 15 A and tripping the facility circuit breaker. We recommend that you don’t mix DIP switch settings in your system. See Table 4 for information about the input and output voltages when you use the DIP switches.
-
The JNP10K-PWR-AC3H power supply has an ENABLE switch on the front panel to enable/disable the main 12.3 VDC output and +5.0 V_BIAS standby output as well. If the switch is in DISABLE position, the front-end PFC will be disabled to minimize power consumption. This switch has the highest priority over any other shutdown method.
-
The Power Factor Correction (PFC) is PF 0.98 kW minimum at full load. The maximum inrush current is 50 A for the active feed.
JNP10K-PWR-BLN3 or Active Blank
Juniper Networks offers an Active Blank Power Module (ABPM), JNP10K-PWR-BLN3. This helps in airflow and cooling in the chassis.
A minimum of one JNP10K-PWR-AC3H power supply unit (PSU) must be present in the router chassis.
The JNP10K-PWR-AC3H power supply has internal fans that contribute to chassis cooling. Three PSUs or two PSUs along with a ABPM must be present in a running chassis to have the adequate airflow. While the minimum power supplies are required to be present in the chassis, they all need not be necessarily connected to power source. If a power supply is installed in a slot but not connected to a power source, it draws power from the chassis to power the internal fans in the power supplies.
Extreme burn danger—The JNP10K-PWR-AC3H can reach temperatures in the range of 158°F to 176°F (70°C to 80°C) under running conditions.
The router is pluggable type A equipment installed in a restricted-access location. It has a separate protective earthing terminal on the chassis that must be connected to earth ground permanently to ground the chassis adequately and protect the operator from electrical hazards.
Before you begin installing the router, ensure that a licensed electrician has attached an appropriate grounding lug to the grounding cable that you supply. Using a grounding cable with an incorrectly attached lug can damage the router.
Use a 2-pole circuit breaker rated at 25 A in the building installation and the system, or as per local electrical code.
The JNP10K-PWR-AC3H Power Supplies have five dual position DIP switches (INP-A0, INP-A1, INP-B0, INP-B1, and DIP4) that are accessible from the front panel. DIP4 is the fifth DIP switch, which is used to indicate whether 20A or 15A input source is connected. See Figure 17 and Table 15 to know the layout of the DIP switches and the power output when the DIP switches are set in different combinations.
1—DIP switches
|
INP-A0 (Switch 0) |
INP-A1 (Switch 1) |
INP-B0 (Switch 2) |
INP-B1 (Switch 3) |
Switch 4 (High Input 20 A/Low Input 15 A) |
Output Power |
|---|---|---|---|---|---|
|
15-A |
|||||
|
Off |
Off |
Off |
On |
Off (15 A) |
2300 W |
|
Off |
Off |
On |
Off |
Off (15 A) |
2300 W |
|
Off |
Off |
On |
On |
Off (15 A) |
4600 W |
|
Off |
On |
Off |
Off |
Off (15 A) |
2300 W |
|
Off |
On |
Off |
On |
Off (15 A) |
4600 W |
|
Off |
On |
On |
On |
Off (15 A) |
6900 W |
|
Off |
On |
On |
Off |
Off (15 A) |
4600 W |
|
On |
Off |
Off |
Off |
Off (15 A) |
2300 W |
|
On |
Off |
Off |
On |
Off (15 A) |
4600 W |
|
On |
Off |
On |
Off |
Off (15 A) |
4600 W |
|
On |
Off |
On |
On |
Off (15 A) |
6900 W |
|
On |
On |
Off |
Off |
Off (15 A) |
4600 W |
|
On |
On |
Off |
On |
Off (15 A) |
6900 W |
|
On |
On |
On |
Off |
Off (15 A) |
6900 W |
|
On |
On |
On |
On |
Off (15 A) |
7800 W |
|
20-A |
|||||
|
Off |
Off |
Off |
On |
On (20 A) |
3000 W |
|
Off |
Off |
On |
Off |
On (20 A) |
3000 W |
|
Off |
Off |
On |
On |
On (20 A) |
6000 W |
|
Off |
On |
Off |
Off |
On (20 A) |
3000 W |
|
Off |
On |
Off |
On |
On (20 A) |
6000 W |
|
Off |
On |
On |
Off |
On (20 A) |
6000 W |
|
Off |
On |
On |
On |
On (20 A) |
7800 W |
|
On |
Off |
Off |
Off |
On (20 A) |
3000 W |
|
On |
Off |
Off |
On |
On (20 A) |
6000 W |
|
On |
Off |
On |
Off |
On (20 A) |
6000 W |
|
On |
Off |
On |
On |
On (20 A) |
7800 W |
|
On |
On |
Off |
Off |
On (20 A) |
6000 W |
|
On |
On |
Off |
On |
On (20 A) |
7800 W |
|
On |
On |
On |
Off |
On (20 A) |
7800 W |
|
On |
On |
On |
On |
On (20 A) |
7800 W |
It is important to connect the input feeds of the JNP10K-PWR-AC3H power supply to HVAC mains before powering-on the router.
JNP10K-PWR-AC3H Power Supply LEDs
The JNP10K-PWR-AC3H power supply has six LEDs on its faceplate: !, OK, A0, A1, B0, and B1. The numbered LEDs correspond to the four inputs (INP-A0, INP-A1, INP-B0, and INP-B1). Additionally, there are two more LEDs OK (Power OK) and !(Fault). These LEDs display information about the status of the power supply. See Figure 18.
1—LEDs on the JNP10K-PWR-AC3H Power Supply denoting:
-
! Fault
-
OK Power OK
-
A0 INP A0–Source input 1
-
A1 INP A1–Source input 2
-
B0 INP B0–Source input 3
-
B1 INP B1–Source input 4
Physical markings on the power supply are INP-A0,
INP-A1, INP-B0, and
INP-B1. These markings correspond to INP-A0, INP-A1, INP-B0, and
INP-B1 in the show chassis power output (see Table 16).
|
Physical Marking on JNP10K-PWR-AC3H |
Corresponding Physical LED Marking |
show chassis power Command |
|---|---|---|
|
INP A0 |
A0 |
INP-A0 |
|
INP A1 |
A1 |
INP-A1 |
|
INP B0 |
B0 |
INP-B0 |
|
INP B1 |
B1 |
INP-B1 |
Table 17 describes the LEDs on a JNP10K-PWR-AC3H power supply, color on the LED, state, and its meaning.
|
LED |
Color |
State |
Description |
|---|---|---|---|
|
A0 ( |
Yellow |
Solid |
One of the following:
|
|
Green |
Solid |
The power supply is functioning properly. |
|
|
A1 ( |
Yellow |
Solid |
One of the following:
|
|
Green |
Solid |
The power supply is functioning properly. |
|
|
B0 ( |
Yellow |
Solid |
One of the following:
|
|
Green |
Solid |
The power supply is functioning properly. |
|
|
B1 ( |
Yellow |
Solid |
One of the following:
|
|
Green |
Solid |
The power supply is functioning properly. |
|
|
OK (Power OK) |
Green |
Solid |
The power supply is functioning properly. |
| Green | Blinking |
The power supply is functioning properly but there is a mismatch in the corresponding DIP switch. Example: If A0 is receiving input power but the corresponding DIP switch 0 is not ON, then the LED will blink green. |
|
|
Yellow |
Blinking |
The power supply output has detected a fault. |
|
|
Unlit |
Off |
The power supply is switched off. |
|
|
! (Fault) |
Red |
Solid |
The power supply has failed and must be replaced. |
|
Unlit |
Off |
The power supply is functioning normally. |
Fault. Instead, the system keeps the PSM state online and raises an
alarm.