Help us improve your experience.

Let us know what you think.

Do you have time for a two-minute survey?

 
 

PTX10004 Line Card Components and Descriptions

The line cards in PTX10004 routers combine a Packet Forwarding Engine and Ethernet interfaces in a single assembly. Line cards are field-replaceable units (FRUs) that can be installed in the line-card slots on the front of the router chassis. The line cards are hot-insertable and hot-removable—you can remove and replace them without powering off the router or disrupting router functions.

PTX10K-LC1201-36CD Line Card

The PTX10K-LC1201-36CD (model number: JNP10K-LC1201) is a 36-port line card that provides a line rate throughput of 14.4 Tbps. The 36 QSFP56-DD ports support a speed of up to 400 Gbps (see Figure 1). You can channelize the ports to operate at 200-Gbps, 100-Gbps, 50-Gbps, 25-Gbps, or 10-Gbps speed by using breakout cables.

Overview

The line card houses five Juniper Networks' custom ASICs, and each ASIC houses two Packet Forwarding Engines. One packet forwarding engine in the fifth ASIC is not used.

You can install the PTX10K-LC1201-36CD line card in the PTX10004, PTX10008, and PTX10016 chassis horizontally at the front of the chassis.

Figure 1: PTX10K-LC1201-36CD Port Panel PTX10K-LC1201-36CD Port Panel
  1

Handles

  3

Power LED (PWR), status LED (STS), and offline button (OFF)

  2

Network ports and LEDs

PTX10004 routers running Junos OS Evolved Release 20.3R1 with Junos Continuity and later support the PTX10K-LC1201-36CD line card. PTX10008 routers running Junos OS Evolved Release 19.4R1-S1 and later support the PTX10K-LC1201-36CD line card. PTX10016 routers running Junos OS Evolved Release 21.2R2 and later support the PTX10K-LC1201-36CD line card. The PTX10K-LC1201-36CD line card interoperates with the PTX10K-LC1202-36MR line card on a PTX10004, PTX10008, or PTX10016 router. The PTX10K-LC1201-36CD line card interoperates with the PTX10K-LC1301-36DD line card in PTX10004 and PTX10008 routers.

Table 1: Components Required for the PTX10K-LC1201-36CD Line Cards

Component (Field Replaceable Unit)

Part Number for the PTX10004

Part Number for the PTX10008

Part Number for the PTX10016

Switch fabric: Switch Interface Board (SIB)

JNP10004-SF3

JNP10008-SF3 or JNP10008-SF5

The support for JNP10008-SF5 is available from Junos OS Evolved Release 24.4R2.

JNP10016-SF3

Routing and Control Board (RCB)

JNP10K-RE3-E, JNP10K-RE3-E-LT, JNP10K-RE2-E128, JNP10K-RE1-E128, JNP10K-RE1-ELT, or JNP10K-RE1-E

JNP10K-RE3-E, JNP10K-RE3-E-LT, JNP10K-RE2-E128, JNP10K-RE1-E128, JNP10K-RE1-ELT, or JNP10K-RE1-E

JNP10K-RE3-E, JNP10K-RE3-E-LT, JNP10K-RE2-E128, JNP10K-RE1-E128, JNP10K-RE1-ELT, or JNP10K-RE1-E

Fan tray

JNP10004-FAN2, JNP10004-FAN3

JNP10008-FAN2, JNP10008-FAN3

JNP10016-FAN2

Fan tray controller

JNP10004-FTC2, JNP10004-FTC3

JNP10008-FTC2, JNP10004-FTC3

JNP10016-FTC2

Power supply

JNP10K-PWR-AC2, JNP10K-PWR-AC3, JNP10K-PWR-DC2, JNP10K-PWR-DC3, JNP10K-PWR-AC3H

JNP10K-PWR-AC2, JNP10K-PWR-AC3, JNP10K-PWR-DC2, JNP10K-PWR-DC3, JNP10K-PWR-AC3H

JNP10K-PWR-AC2 JNP10K-PWR-AC3, JNP10K-PWR-DC2, JNP10K-PWR-DC3, JNP10K-PWR-AC3H

Network Ports

The QSFP56-DD ports support:

  • 400GbE transceivers (QSFP56-DD)

  • 400GbE active optic cables (QSFP56-DD AOCs)

  • 4 x 100GbE transceivers (QSFP56-DD)

  • 2 x 100GbE transceivers (QSFP28-DD)

  • 100GbE transceivers (QSFP28)

  • 100GbE AOCs (QSFP28)

  • 40GbE transceivers (QSFP+)

  • 40GbE to 10GbE QSA (Junos OS Release 20.2R1 and later)

Channelization

All 36 ports of the PTX10K-LC1201-36CD line card default to 400GbE. You can either set all the ports to a specific speed and channelization or channelize each port individually. The CLI syntax to channelize a port on the PTX10K-LC1201-36CD is release dependent.

For software releases from Junos OS Evolved Release 19.4R1-S1 to Junos OS Evolved Release 20.1R2:

Use the pic-mode and speed options in the Junos OS Evolved operational mode set chassis command:

In this example, fpc slot represents the line card slots. There is a single PIC in the PTX10K-LC1201-36CD; it is always numbered zero. The pic-mode option indicates that you are configuring all of ports on the PIC and not an individual port. With the speed options, you can configure 100-Gbps or 40-Gbps speed on all 36 ports, or you can configure four 10-Gbps channels on each of the 36 ports.

For example, to set 100-Gbps speed on all ports in slot 2:

To individually configure a port, you need to specify both the speed and number of subports (channels).

For example, to channelize port 15 in slot 0 to 4 downstream 100GbE interfaces:

The resulting interfaces would be:

Note:

If you do not specify the number-of-subports value when configuring an individual port, the system defaults to a value of 1. The same example, without the number-of-subports option, would then result in one downstream 100GbE interface.

For software releases Junos OS Evolved Release 20.1R2 and later, the speed and number-of-subports options are in the interfaces hierarchy. For example, to channelize port 15 in slot 0 to four downstream 100GbE interfaces:

After you save and commit the changes, each of the following resulting interfaces would be:

Bandwidth Support

Table 2 lists the bandwidth supported by each PTX10K-LC1201-36CD line card.

Table 2: PTX10K-LC1201-36CD Bandwidth

Number of SIBs Used

Bandwidth per Slot Without Fabric Redundancy

6

14.4 Tbps

5

12 Tbps

4

9.6 Tbps

3

7.2 Tbps

Network LEDs

Each network port has a single tricolored LED that indicates link activity and status. The red, amber, and green colors on the LED have different interpretations depending on whether the port is channelized or not channelized, and whether the beacon is activated. If the beacon feature is activated on the port, the port blinks.

Table 3: PTX10K-LC1201-36CD Network LEDs

Port Status

Normal State

Description

Nonchannelized

Unlit, off

A transceiver is not installed or the link is down because of a loss of signal.

Green, on steadily

A link is established.

Amber, on steadily

The link is down because of a remote error or because the port was disabled through the CLI.

Red, on steadily

The link is down because of a hardware failure or a local error.

Channelized

Unlit, off

All channels are down because of loss of signal.

Green, on steadily

A link is established and all channels are up.

Amber, on steadily

Applies to all other cases.

Red, on steadily

The port has a hardware failure.

Line Card Status LEDs

The line card has a power LED (PWR) and a status LED (STS).

Table 4: Line Card Status LEDs

LED

State

LED Indication

Beacon/Port Location On

Power (PWR)

The line card has no power.

Off

Off

The line card has power and is operating correctly.

Green, on steadily

Green, on steadily

The line card has a fault condition.

Red, on steadily

Red, on steadily

Status (STS)

The line card is disabled or offline.

Off

Off

The line card is online and operating correctly.

Green, on steadily

Green, blinking

The line card is booting.

Green, blinking

Green, blinking

The line card has a fault condition.

Red, on steadily

Red, blinking

PTX10K-LC1202-36MR Line Card

Overview

The PTX10K-LC1202-36MR (model number: JNP10K-LC1202) is a 36-port line card that provides a line rate throughput of 4.8 Tbps. The line card has 32 QSFP28 ports, each capable of supporting a maximum speed of 100 Gbps, and four QSFP56-DD ports, each capable of supporting a maximum speed of 400 Gbps (see Figure 2).

In a pure 100-Gbps port speed configuration, the line card supports a throughput of 3.6 Tbps (each of the 36 ports runs at 100-Gbps speed).

In a mixed-speed configuration of 100 Gbps and 400 Gbps, the line card supports a line rate throughput of 4.8 Tbps (thirty-two 100-Gbps ports and four 400-Gbps ports).

The line card houses two Juniper Networks' custom ASICs, and each ASIC houses two Packet Forwarding Engines. The line card supports a maximum throughput of 1.2 Tbps per Packet Forwarding Engine.

You can install the PTX10K-LC1202-36MR line card in the PTX10004, PTX10008, and PTX10016 chassis horizontally at the front of the chassis.

The acoustics noise for the line card is 85 dBA.

Figure 2: PTX10K-LC1202-36MR Port Panel PTX10K-LC1202-36MR Port Panel
  1

Handles

  3

Network ports and LEDs

  2

Power LED (PWR), status LED (STS), and offline button (OFF)

Components Required for PTX10K-LC1202-36MR

PTX10004 routers running Junos OS Evolved Release 20.3R1 with Junos Continuity and later support the PTX10K-LC1202-36MR line card. PTX10008 routers running Junos OS Evolved Release 20.3R1 and later (with Junos Continuity) support the PTX10K-LC1202-36MR line card. PTX10016 routers running Junos OS Evolved Release 21.2R2 and later support the PTX10K-LC1202-36MR line card. The PTX10K-LC1202-36MR line card interoperates with the PTX10K-LC1201-36CD line card on a PTX10004, PTX10008, or PTX10016 router. The PTX10K-LC1202-36MR line card interoperates with the PTX10K-LC1301-36DD line card in PTX10004 and PTX10008 routers.

Table 5: Components Required for the PTX10K-LC1202-36MR Line Cards

Component (FRU)

Part Number for the PTX10004

Part Number for the PTX10008

Part Number for the PTX10016

Switch fabric: Switch Interface Board (SIB)

JNP10004-SF3

JNP10008-SF3 or JNP10008-SF5

The support for JNP10008-SF5 is available from Junos OS Evolved Release 24.4R2.

JNP10016-SF3

Routing and Control Board (RCB)

JNP10K-RE3-E, JNP10K-RE3-E-LT, JNP10K-RE2-E128, JNP10K-RE1-E128, JNP10K-RE1-ELT, or JNP10K-RE1-E

JNP10K-RE3-E, JNP10K-RE3-E-LT, JNP10K-RE2-E128, JNP10K-RE1-E128, JNP10K-RE1-ELT, or JNP10K-RE1-E

JNP10K-RE3-E, JNP10K-RE3-E-LT, JNP10K-RE2-E128, JNP10K-RE1-E128, JNP10K-RE1-ELT, or JNP10K-RE1-E

Fan tray

JNP10004-FAN2, JNP10004-FAN3

JNP10008-FAN2, JNP10008-FAN3

JNP10016-FAN2

Fan tray controller

JNP10004-FTC2, JNP10004-FTC3

JNP10008-FTC2, JNP10008-FTC3

JNP10016-FTC2

Power supply

JNP10K-PWR-AC2, JNP10K-PWR-AC3, JNP10K-PWR-DC2, JNP10K-PWR-DC3, or JNP10K-PWR-AC3H

JNP10K-PWR-AC2, JNP10K-PWR-AC3, JNP10K-PWR-DC2, JNP10K-PWR-DC3, or JNP10K-PWR-AC3H

JNP10K-PWR-AC2 or JNP10K-PWR-DC2, JNP10K-PWR-DC3, or JNP10K-PWR-AC3H

Network Ports and Channelization

On the PTX10K-LC1202-36MR line card, the ports 4, 10, 24, and 30 are 400GbE (QSFP56-DD) ports, whereas the rest are 100GbE (QSFP28) ports.

Figure 3 shows the 400GbE ports highlighted.

Figure 3: PTX10K-LC1202-36MR—Network Ports PTX10K-LC1202-36MR—Network Ports

By using breakout cables, you can channelize the PTX10K-LC1202-36MR ports.

The QSFP56-DD ports (ports 4, 10, 24, and 30) on the line card support the following transceivers:

  • 1x400GbE transceivers (QSFP56-DD)

  • 4x100GbE transceivers (QSFP56-DD)

  • 2x100GbE transceivers (QSFP28-DD)

  • 1x100GbE transceivers (QSFP28)

  • 2x50GbE transceivers (QSFP28)

  • 1x40GbE transceivers (QSFP+)

  • 8x25GbE transceivers (QSFP28-DD)

  • 4x25GbE transceivers (QSFP28)

  • 4x10GbE transceivers (QSFP+)

  • 1x10GbE transceivers (SFP+)

  • 40GbE to 10GbE QSA, starting in Junos OS Evolved Release 20.4R1 and later.

The QSFP28 ports 0, 2, 5 through 9, 11 through 18, 20, 22, 23, 25 through 29, and 31 through 35 on the line card support the following transceivers:

  • 1x100GbE transceivers (QSFP28)

  • 2x50GbE transceivers (QSFP+)

  • 1x40GbE transceivers (QSFP+)

  • 4x25GbE transceivers (QSFP28)

  • 4x10GbE transceivers (QSFP+)

  • 1x10GbE transceivers (QSFP+)

The QSFP28 ports 1, 3, 19, and 21 on the line card support the the 1x100GbE QSFP28 transceivers.

Note:

The ports 1, 3, 19, and 21 must be configured as unused if the preceding ports (0, 2, 18, and 20) are not in 100-Gbps mode. This means, of the 36 ports on the PTX10K-LC1202-36MR line card, only 32 ports are available to be configured as 4x25GbE and 4x10GbE ports.

See the Port Checker tool to see the supported port speeds.

You can configure port speeds at the interface level using the set interfaces <interface-name> speed <speed> command.

Bandwidth Support

Table 6 explains the bandwidth supported by each PTX10K-LC1202-36MR line card.

Table 6: PTX10K-LC1202-36MR Bandwidth

Number of SIBs Used

Bandwidth per Slot Without Fabric Redundancy

6

4.8 Tbps

5

4 Tbps

4

3.2 Tbps

3

2.4 Tbps

Network LEDs

Each network port has a single tricolored LED that indicates link activity and status. The red, amber, and green colors on the LED have different interpretations depending on whether the port is channelized or not channelized, and whether the beacon is activated. If the beacon feature is activated on the port, the port blinks.

Table 7: PTX10K-LC1202-36MR Network LEDs

Port Status

State

Description

Nonchannelized

Unlit, off

A transceiver is not present in the port, or the link is down because of a loss of signal.

Green, on steadily

A link is established.

Amber, on steadily

The link is down because of a remote error or because the port was disabled through the CLI.

Red, on steadily

The link is down because of a hardware failure or a local error.

Channelized

Unlit, off

All channels are down because of loss of signal.

Green, on steadily

A link is established and all channels are up.

Amber, on steadily

Applies to all other cases.

Red, on steadily

The port has a hardware failure.

Line Card Status LEDs

The line card has a power LED (PWR) and a status LED (STS).

Table 8: Line Card Status LEDs

LED

State

LED Indication

Beacon/Port Location On

Power (PWR)

The line card has no power.

Off

Off

The line card has power and is operating correctly.

Green, on steadily

Green, on steadily

The line card has a fault condition.

Red, on steadily

Red, on steadily

Status (STS)

The line card is disabled or offline.

Off

Off

The line card is online and operating correctly.

Green, on steadily

Green, blinking

The line card is booting.

Green, blinking

Green, blinking

The line card has a fault condition.

Red, on steadily

Red, blinking

PTX10K-LC1301-36DD Line Card

Overview

The PTX10K-LC1301-36DD line card (model number: JNP10K-LC1301) is a 36-port line card that offers a line rate throughput of 28.8 Tbps. The 36 high-density 800-Gigabit Ethernet (800GbE) QSFP-DD ports support speeds of up to 800 Gbps. The line card houses two Juniper Networks' custom Express 5 ASICs, and each ASIC comprises of two Packet Forwarding Engines.

Figure 4: Port Panel Line card module JNP10K-LC1301 with handles, status indicators, and 35 numbered network ports for high-speed connections.
  1

Handles

  3

Network ports and LEDs

  2

Power LED (PWR), status LED (STS), and offline button (OFF)

The ports support QSFP+, QSFP28, QSFP56-DD, and 400G-ZR transceivers. When the line card is operating in the normal power mode, you can install up to 36 800-Gbps or 2x400 Gbps transceivers.

You can also use breakout cables, active optical cables (AOCs), and the number-of-sub-ports (interface) configuration to channelize the ports to operate at the following speeds:

  • 1x800 Gbps

  • 2x400 Gbps

  • 1x400 Gbps

  • 8x100 Gbps

  • 7x100 Gbps

  • 6x100 Gbps

  • 5x100 Gbps

  • 4x100 Gbps

  • 3x100 Gbps

  • 2x100 Gbps

  • 1x100 Gbps

  • 8x50 Gbps

  • 4x50 Gbps

  • 2x50 Gbps

  • 1x40 Gbps

  • 8x25 Gbps

  • 4x25 Gbps

  • 4x10 Gbps

  • 1x10 Gbps

The line card supports fabric link evaluation.

The links on the ports come up at 800-Gbps speed by default. You can change the port speed by using the set interfaces <interface-name> speed <speed> command.

Juniper Networks Port Checker (https://apps.juniper.net/port-checker/) provides a visual representation of various Juniper network devices, and assists to configure and validate different port combinations.

The software features for the line card are documented in Release Notes: Junos OS Evolved Release 24.4R1.

Boot Time

The boot time for the line card is approximately 566 seconds.

Components Required

Table 9: Components Required for the PTX10K-LC1301-36DD Line Card

Component

Part Number for the PTX10008

Part Number for the PTX10004

Switch Interface Board (SIB)

JNP10008-SF5 or JNP10008-SF3

Support for JNP10008-SF3 is available from Junos OS Evolved Release 25.4R1-S1.

JNP10004-SF3

Support for JNP10004-SF3 is available from Junos OS Evolved Release 25.4R1-S1.

Routing and Control Board (RCB)

JNP10K-RE2-E128, JNP10K-RE1-E128, JNP10K-RE1-ELT, JNP10K-RE1-E, JNP10K-RE3-E, or JNP10K-RE3-E-LT

JNP10K-RE2-E128, JNP10K-RE1-E128, JNP10K-RE1-ELT, JNP10K-RE1-E, JNP10K-RE3-E, or JNP10K-RE3-E-LT

Fan tray

JNP10008-FAN3

JNP10004-FAN3

Fan tray controller

JNP10008-FTC3

JNP10004-FTC3

Power supply

JNP10K-PWR-AC3, JNP10K-PWR-DC3, or JNP10K-PWR-AC3H

JNP10K-PWR-AC3, JNP10K-PWR-DC3, or JNP10K-PWR-AC3H

Bandwidth Support

Table 10: Bandwidth Support with JNP10008-SF5 Installed

Number of JNP10008-SF5 SIBs Used

Bandwidth per Slot

6

28.8 Tbps

5

24 Tbps

4

19.2 Tbps

3

14.4 Tbps

Table 11: Bandwidth Support with JNP10004-SF3 or JNP10008-SF3 Installed

Number of JNP10004-SF3 or JNP10008-SF3 SIBs Used

Bandwidth per Slot

6

12.8 Tbps

5

10.7 Tbps

4

8.6 Tbps

3

6.4 Tbps

The maximum throughput that the line card offers in PTX10004 routers with JNP10004-SF3 installed and in PTX10008 routers with JNP10008-SF3 installed is 12.8 Tbps. The total throughput that a port group of nine ports (0 through 8, 9 through 17, 18 through 26, and 27 through 35) can offer is 3.2 Tbps. If a port group is oversubscribed, traffic is dropped at ingress, overriding the Class of Service (CoS) profiles.

Network Port Status LEDs

Each network port has a single tricolored LED that indicates link activity and status. The red, amber, and green colors on the LED have different interpretations depending on whether the port is channelized or not channelized, and whether the beacon is activated. If the beacon feature is activated on the port, the port blinks.

Table 12: Port Status LEDs

Port Status

Description

Color and State

Beacon/Port Location On

Not channelized

A link is established.

Green, on steadily

Green, blinking

The link is down because of a remote error or because the port was disabled through the CLI.

Amber, on steadily

Amber, blinking

The link is down because of a hardware failure or a local error.

Red, on steadily

Red, blinking

The port doesn't have a transceiver installed or the link is down because of a loss of signal.

Unlit, off

Green, blinking

Channelized

A link is established and all the channels are up.

Green, on steadily

Green, blinking

All the other scenarios.

Amber, on steadily

Amber, blinking

The port has a hardware failure or a fault.

Red, on steadily

Red, blinking

All channels are down because of loss of signal.

Unlit, off

Green, blinking

Line Card Status LEDs

The line card has a power LED (PWR) and a status LED (STS).

Table 13: Line Card Status LEDs

LED

Description

LED Color and State

Beacon/Port Location On

Power (PWR)

The line card has power and is operating correctly.

Green, on steadily

Green, on steadily

The line card has a fault condition.

Red, on steadily

Red, on steadily

The line card has no power.

Off

Off

Status (STS)

The line card is online and operating correctly.

Green, on steadily

Green, blinking

The line card is booting.

Green, blinking

Green, blinking

Line card fabric link evaluation is in progress.

Green, blipping

Green, blinking

The line card has improper fabric connectivity.

Amber, on steadily

Amber, blinking

The line card has a fault condition.

Red, on steadily

Red, blinking

The line card is disabled or offline.

Off

Off

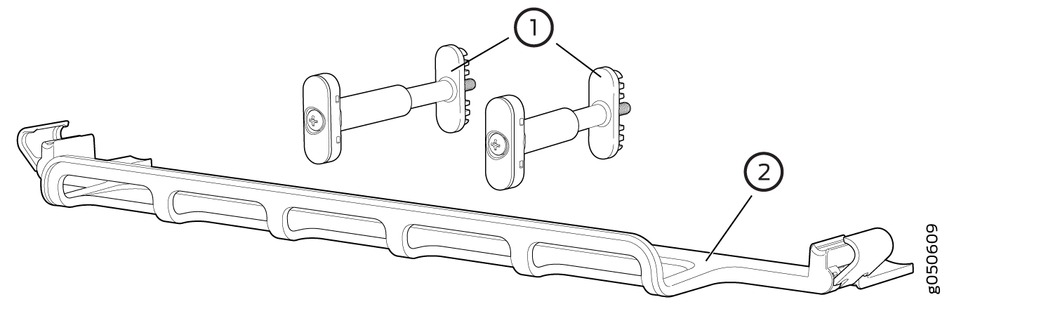
PTX10004 Cable Management System

You can use the PTX10004 cable management system (see Figure 5) to route optical cables away from the line-card ports for better airflow through the chassis. Using this optional system also makes it easier to use cable ties or strips to organize the cabling.

Figure 5: PTX10004 Cable Management System Technical illustration of a network switch with slots for line cards and management modules.

The cable management system comprises a set of handle extensions and a tray that snaps to the extensions (see Figure 6) for an individual line card. You can use the handle extensions with or without the cable tray. You don’t need to remove the handle extensions if you want to remove a line card.

Figure 6: Cable Management Parts Cable Management Parts
  1

Handle extensions

  2

Cable tray

Cables are draped across or under the handle extensions and then secured with cable wraps (see Figure 7).

Figure 7: Two Cable Management Systems Installed on a PTX10004 Two Cable Management Systems Installed on a PTX10004