Help us improve your experience.

Let us know what you think.

Do you have time for a two-minute survey?

 
 

MX10K-LC9600

The MX10K-LC9600 (Model number: JNP10K-LC9600) is a fixed-configuration 24-port line card that provides a line-rate throughput of 9.6 Tbps. The line card has twenty-four QSFP ports, each capable of supporting a maximum speed of 400 Gbps.

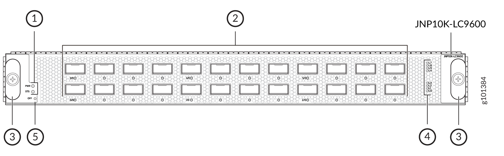
Figure 1: MX10K-LC9600 MX10K-LC9600
  1

Power (PWR) and Status (STS) LEDs

  4

Lane LEDs

  2

QSFP Ports

  5

Offline (OFF) button

  3

Ejector Handles

 

The MX10K-LC9600 line card combines Packet Forwarding Engines based on custom ASICs by Juniper Networks. The line card has six forwarding ASICs, each hosting two Packet Forwarding Engines. The line card has 12 Packet Forwarding Engines, each providing a maximum bandwidth of 800 Gbps.

You can channelize the ports using breakout cables to speeds of 400 Gbps, 200 Gbps, 100 Gbps, 50 Gbps, 40 Gbps, 25 Gbps, or 10 Gbps.

The 9.6-Tbps line card is designed to operate only with the following components:

  • JNP10004-SF2 and JNP10008-SF2 switch fabric

  • JNP10K-PWR-AC3, JNP10K-PWR-AC2, JNP10K-PWR-DC3, JNP10K-PWR-AC3H, or JNP10K-PWR-DC2 power supplies

  • JNP10008-FAN3 or JNP10008-FAN2 fan tray

  • JNP10008-FTC3 or JNP10008-FTC2 fan tray controller

  • JNP10004-FAN3 or JNP10004-FAN2 fan tray

  • JNP10004-FTC3 or JNP10004-FTC2 fan tray

Note:

The fabric connectors on the MX10K-LC9600 line card are sensitive to debris accumulation. The connectors interface with the connectors on the JNP10004-SF2 SFB and the JNP10008-SF2 SFB. The connectors must be kept clean and free of dust and other particles to ensure a high-quality connection between the MX10K-LC9600 line card and the JNP10004-SF2 SFB and the JNP10008-SF2 SFB.

The MX10K-LC9600 line card runs the Juniper Networks Junos OS software on Juniper Networks JNP10K-LC9600 hardware. The MX10K-LC9600 plugs in to the MX10004 and MX10008 routers horizontally at the front of the chassis.

The fabric interface connectors on the MX10K-LC9600 line card have a preinstalled protective plastic dust cover. This cover keeps the connectors clean and free of dust and other particles. Remove the dust cover before you install the line card in the router. Save the plastic cover for future use to re-install when you remove the line card from the router.

The WAN ports on the MX10K-LC9600 line card also have preinstalled protective plastic dust covers. These covers keep the ports clean and free of dust and other particles. Keep these covers installed in any port that is not occupied by an optic module.

Software release

  • Junos OS Release 21.4R1 and later when installed in MX10008.

  • Junos OS Release 22.3R1 and later when installed in MX10004.

Description

  • Model number: JNP10K-LC9600

  • Name in the CLI: JNP10K-LC9600

  • Weight: 27 lb (12.24 kg)

  • Dimensions: Height = 1.89 in. (48.01 mm), width = 17.2 in (436.88 mm), depth = 19.05 in. (484 mm) (excluding FRU ejector)

Hardware features

  • Is a fixed-configuration line card with 400-Gbps, 200-Gbps, 100-Gbps, 50-Gbps, 40-Gbps, 25-Gbps, or 10-Gbps port speeds.

  • Offers line-rate throughput of up to 9.6 Tbps.

  • Includes twelve Packet Forwarding Engines, each allows for a maximum bandwidth of 800 Gbps.

  • Is compatible with the JNP10004-SF2 and JNP10008-SF2 switch fabric boards.

  • Interoperates with the MX10K-LC2101 and MX10K-LC480 line cards.

  • Operates with the JNP10K-RE1, JNP10K-RE1-LT, and JNP10K-RE1-128; JNP10K-RE3, JNP10K-RE3-LT, JNP10K-RE3-256, and JNP10K-RE3LT256 Routing and Control Boards.

  • Operates only with the following power supplies and fan trays:

    • JNP10K-PWR-AC3

    • JNP10K-PWR-AC2

    • JNP10K-PWR-DC3

    • JNP10K-PWR-DC2

    • JNP10K-PWR-AC3H

    • JNP10008-FAN3

    • JNP10008-FTC3

    • JNP10008-FAN2

    • JNP10008-FTC2

    • JNP10004-FAN3

    • JNP10004-FTC3

    • JNP10004-FAN2

    • JNP10004-FTC2

  • Supports a maximum transmission unit (MTU) of 16,000 bytes for transit traffic and host-bound packets.

Software features

  • Supports rate selectability at the port level.

  • By default, the ports are configured as 400-Gigabit Ethernet ports.

  • Supports acoustic reduction through a low-power mode EM policy profile when only 100-Gigabit Ethernet ports are used.

  • Supports optical diagnostics and related alarms.

Power requirements

Power consumption at different temperatures when all ports are configured in 400-Gbps speed:

  • 25° C: 1655 W

  • 40° C: 1770 W

LEDs

PWR LED

  • Steady green—Line-card power is ok.
  • Steady red—Line-card power-on has failed.
  • Off—Line card is not receiving power.

STS LED

  • Steady green (blinking green when the beacon or the port location is on)—Line card is online.
  • Blinking green—The line card is booting.
  • Steady red (blinking red when the beacon or the port location is on)—Line card is faulty or an alarm has been raised.
  • Off—Line card is disabled or offline.

Port LED

  • Off—Port does not have a transceiver module.
  • Steady green (blinking green when the beacon or the port location is on)—Port link is up with no alarms or failures.
  • Steady amber (blinking amber when the beacon or the port location is on)—Port link is down because the port is disabled through the CLI, or the port encountered errors such as loss of signal, local fault, or remote fault.

Lane LEDs

  • The lane LEDs for the corresponding port indicate the port status.

  • Like the port status LED, each individual lane LED supports four states as: OFF, AMBER, GREEN, and RED.

Cables and connectors

Tip:

You can use the Hardware Compatibility Tool to find information about the pluggable transceivers that your Juniper Networks device supports.

See the list of supported transceivers for the MX Series at MX Series Supported Transceivers.