Help us improve your experience.

Let us know what you think.

Do you have time for a two-minute survey?

 
 

EX2300 Site Guidelines and Requirements

Environmental Requirements and Specifications for EX Series Switches

The switch must be installed in a rack or cabinet housed in a dry, clean, well-ventilated, and temperature-controlled environment.

Ensure that these environmental guidelines are followed:

  • The site must be as dust-free as possible, because dust can clog air intake vents and filters, reducing the efficiency of the switch cooling system.

  • Maintain ambient airflow for normal switch operation. If the airflow is blocked or restricted, or if the intake air is too warm, the switch might overheat, leading to the switch temperature monitor shutting down the switch to protect the hardware components.

Table 1 provides the required environmental conditions for normal switch operation.

Table 1: EX Series Switch Environmental Tolerances

Switch or device

Environment Tolerance

Altitude

Relative Humidity

Temperature

Seismic

EX2200-C

No performance degradation up to 5,000  feet (1524  meters)

Normal operation ensured in the relative humidity range 10% through 85% (noncondensing)

Normal operation ensured in the temperature range 32°   F (0° C) through 104°   F (40° C) at altitudes up to 5,000  ft (1,524 m).

For information about extended temperature SFP transceivers supported on EX2200 switches, see Pluggable Transceivers Supported on EX2200 Switches.

Complies with Zone 4 earthquake requirements as per GR-63, Issue 4.

EX2200 (except EX2200-C switches)

No performance degradation up to 10,000  feet (3048 meters)

Normal operation ensured in the relative humidity range 10% through 85% (noncondensing)

Normal operation ensured in the temperature range 32°   F (0° C) through 113°   F (45° C)

Complies with Zone 4 earthquake requirements as per GR-63, Issue 4.

EX2300-C

No performance degradation up to 5,000  feet (1524 meters)

Normal operation ensured in the relative humidity range 10% through 85% (noncondensing)

Normal operation ensured in the temperature range 32°   F (0° C) through 104°   F (40° C)

Complies with Zone 4 earthquake requirements as per GR-63, Issue 4.

EX2300 (except EX2300-C switches)

No performance degradation up to 13,000  feet (3962 meters) at 104°   F (40° C) as per GR-63

Normal operation ensured in the relative humidity range 10% through 85% (noncondensing)

Normal operation ensured in the temperature range 32°   F (0° C) through 113°   F (45° C)

Complies with Zone 4 earthquake requirements as per GR-63, Issue 4.

EX3200

No performance degradation up to 10,000  feet (3048 meters)

Normal operation ensured in the relative humidity range 10% through 85% (noncondensing)

Normal operation ensured in the temperature range 32°   F (0° C) through 113°   F (45° C)

Complies with Zone 4 earthquake requirements as per GR-63, Issue 4.

EX3300

No performance degradation up to 10,000  feet (3048 meters)

Normal operation ensured in the relative humidity range 10% through 85% (noncondensing)

Normal operation ensured in the temperature range 32°   F (0° C) through 113°   F (45° C)

Complies with Zone 4 earthquake requirements as per GR-63, Issue 4.

EX3400

No performance degradation up to 10,000  feet (3048 meters)

Normal operation ensured in the relative humidity range 10% through 85% (noncondensing)

Normal operation ensured in the temperature range 32°   F (0° C) through 113°   F (45° C)

Complies with Zone 4 earthquake requirements as per GR-63, Issue 4.

EX4100

No performance degradation up to 5,000  feet (1524 meters)

Normal operation ensured in the relative humidity range 10% through 85% (noncondensing)

Normal operation ensured in the temperature range 32°   F (0° C) through 113°   F (45° C)

Complies with Zone 4 earthquake requirements as per GR-63, Issue 4.

EX4200

No performance degradation up to 10,000  feet (3048 meters)

Normal operation ensured in the relative humidity range 10% through 85% (noncondensing)

Normal operation ensured in the temperature range 32°   F (0° C) through 113°   F (45° C)

Complies with Zone 4 earthquake requirements as per GR-63, Issue 4.

EX4300

EX4300 switches except the EX4300-48MP model— No performance degradation up to 10,000  feet (3048 meters)

EX4300-48MP model— No performance degradation up to 6,000  feet (1829 meters)

EX4300 switches except the EX4300-48MP model— Normal operation ensured in the relative humidity range 10% through 85% (noncondensing)

EX4300-48MP model— Normal operation ensured in the relative humidity range 5% through 90% (noncondensing)

Normal operation ensured in the temperature range 32°   F (0° C) through 113°   F (45° C)

Complies with Zone 4 earthquake requirements as per GR-63, Issue 4.

EX4400

No performance degradation up to 6,000  feet (1829 meters)

Normal operation ensured in the relative humidity range 10% through 90% (noncondensing)

Normal operation ensured in the temperature range 32°   F (0° C) through 113°   F (45° C)

Complies with Zone 4 earthquake requirements as per GR-63, Issue 4.

EX4500

No performance degradation up to 10,000  feet (3048 meters)

Normal operation ensured in the relative humidity range 10% through 85% (noncondensing)

Normal operation ensured in the temperature range 32°   F (0° C) through 113°   F (45° C)

Complies with Zone 4 earthquake requirements as per GR-63, Issue 4.

EX4550

No performance degradation up to 10,000  feet (3048 meters)

Normal operation ensured in the relative humidity range 10% through 85% (noncondensing)

  • EX4550-32F switches— Normal operation ensured in the temperature range 32°   F (0° C) through 113°   F (45° C)

  • EX4550-32T switches— Normal operation is ensured in the temperature range 32°   F through 104°   F (40° C)

Complies with Zone 4 earthquake requirements as per GR-63, Issue 4.

EX4600

No performance degradation to 6,562  feet (2000 meters)

Normal operation ensured in the relative humidity range 5% through 90%, noncondensing

  • Short-term operation ensured in the relative humidity range 5% through 93%, noncondensing

    Note:

    As defined in NEBS GR-63-CORE, Issue 4, short-term events can be up to 96 hours in duration but not more than 15 days per year.

  • Normal operation ensured in the temperature range 32°   F (0° C) through 113°   F (45° C)

  • Nonoperating storage temperature in shipping container: – 40°   F (–40° C) through 158°   F (70° C)

Complies with Zone 4 earthquake requirements per NEBS GR-63-CORE, Issue 4.

EX4650

No performance degradation to 6,000  feet (1829 meters)

Normal operation ensured in the relative humidity range 10% through 85% (condensing)

Normal operation is ensured in the temperature range 32°   F (0° C) through 104°   F (40° C)

Complies with Zone 4 earthquake requirements as per GR-63, Issue 4.

EX6210

No performance degradation up to 10,000  feet (3048 meters)

Normal operation ensured in the relative humidity range 10% through 85% (noncondensing)

Normal operation is ensured in the temperature range 32°   F (0° C) through 104°   F (40° C)

Complies with Zone 4 earthquake requirements as per GR-63, Issue 4.

EX8208

No performance degradation up to 10,000  feet (3048 meters)

Normal operation ensured in the relative humidity range 10% through 85% (noncondensing)

Normal operation is ensured in the temperature range 32°   F (0° C) through 104°   F (40° C)

Complies with Zone 4 earthquake requirements as per GR-63, Issue 4.

EX8216

No performance degradation up to 10,000  feet (3048 meters)

Normal operation ensured in the relative humidity range 10% through 85% (noncondensing)

Normal operation is ensured in the temperature range 32°   F (0° C) through 104°   F (40° C)

Complies with Zone 4 earthquake requirements as per GR-63, Issue 4.

EX9204

No performance degradation up to 10,000  feet (3048 meters)

Normal operation ensured in the relative humidity range 5% through 90% (noncondensing)

Normal operation is ensured in the temperature range 32°   F (0° C) through 104°   F (40° C)

Nonoperating storage temperature in shipping container: – 40°   F (–40° C) to 158°   F (70° C)

Complies with Zone 4 earthquake requirements as per GR-63.

EX9208

No performance degradation up to 10,000  feet (3048 meters)

Normal operation ensured in the relative humidity range 5% through 90% (noncondensing)

Normal operation is ensured in the temperature range 32°   F (0° C) through 104°   F (40° C)

Nonoperating storage temperature in shipping container: – 40°   F (–40° C) to 158°   F (70° C)

Complies with Zone 4 earthquake requirements as per GR-63.

EX9214

No performance degradation up to 10,000  feet (3048 meters)

Normal operation ensured in the relative humidity range 5% through 90% (noncondensing)

Normal operation is ensured in the temperature range 32°   F (0° C) through 104°   F (40° C)

Nonoperating storage temperature in shipping container: – 40°   F (–40° C) through 158°   F (70° C)

Complies with Zone 4 earthquake requirements as per GR-63.

EX9251

No performance degradation up to 10,000  ft (3048 m)

Normal operation ensured in relative humidity range of 5% to 90%, noncondensing

Normal operation ensured in temperature range of 32°   F (0° C) to 104°   F (40° C)

Nonoperating storage temperature in shipping container: – 40°   F (–40° C) to 158°   F (70° C)

Complies with Telcordia Technologies Zone 4 earthquake requirements

XRE200

No performance degradation up to 10,000  feet (3048 meters)

Normal operation ensured in the relative humidity range 10% through 85% (noncondensing)

Normal operation ensured in the temperature range 41°   F (5° C) through 104°   F (40° C)

Complies with Zone 4 earthquake requirements as per GR-63, Issue 4.

Note:

Install EX Series switches only in restricted areas, such as dedicated equipment rooms and equipment closets, in accordance with Articles 110– 16, 110– 17, and 110– 18 of the National Electrical Code, ANSI/NFPA 70.

General Site Guidelines

Efficient device operation requires proper site planning. For the device to operate properly, you must ensure maintenance and proper layout of the equipment, rack or cabinet, and wiring closet.

To plan and create an acceptable operating environment for your device and prevent environmentally caused equipment failures:

  • Keep the area around the chassis free from dust and conductive material, such as metal flakes.

  • Follow the prescribed airflow guidelines to ensure that the cooling system functions properly. Ensure that the exhaust from other equipment does not blow into the intake vents of the device.

  • Follow the prescribed electrostatic discharge (ESD) prevention procedures to prevent damaging the equipment. Static discharge can cause components to fail completely or intermittently over time.

  • Install the device in a secure area, so that only authorized personnel can access the device.

Site Electrical Wiring Guidelines

Table 2 describes the factors you must consider while planning the electrical wiring at your site.

Warning:

You must provide a properly grounded and shielded environment and use electrical surge-suppression devices.

Avertissement Vous devez établir un environnement protégé et convenablement mis à la terre et utiliser des dispositifs de parasurtension.

Table 2: Site Electrical Wiring Guidelines

Site Wiring Factor

Guidelines

Signaling limitations

If your site experiences any of the following problems, consult experts in electrical surge suppression and shielding:

  • Radio frequency interference (RFI) because of improperly installed wires.

  • Damage from lightning strikes occurring when wires exceed recommended distances or pass between buildings.

  • Damage to unshielded conductors and electronic devices as a result of electromagnetic pulses (EMPs) caused by lightning.

Radio frequency interference

To reduce or eliminate RFI from your site wiring, do the following:

  • Use a twisted-pair cable with a good distribution of grounding conductors.

  • If you need to exceed the recommended distances, use a high-quality twisted-pair cable with one ground conductor for each data signal, when applicable.

Electromagnetic compatibility

If your site is susceptible to problems with electromagnetic compatibility (EMC), particularly from lightning or radio transmitters, seek expert advice.

Strong sources of electromagnetic interference (EMI) can cause:

  • Destruction of the signal drivers and receivers in the device.

  • Electrical hazards as a result of power surges conducted over the lines into the equipment.

Rack Requirements

You can mount the device on two-post racks or four-post racks.

Rack Requirement

Guidelines

Rack type

A U is the standard rack unit defined by the Electronic Components Industry Association (ECIA) (http://www.ecianow.org).

You can mount the device on a rack that provides bracket holes or hole patterns spaced at 1U (1.75 in. or 4.45 cm) increments and meets the size and strength requirements to support the weight.

Mounting bracket hole spacing

The holes in the mounting brackets are spaced at 1U (1.75 in. or 4.45 cm) so that the device can be mounted in any rack that provides holes spaced at that distance.

Rack size and strength

Ensure that the:

  • Rack complies with the size and strength standards of a 19-in. rack as defined by the ECIA (http://www.ecianow.org).

  • Rack rails are spaced widely enough to accommodate the external dimensions of the device chassis. Also ensure that the outer edges of the front mounting brackets extend the width of the chassis to 19 in. (48.2 cm).

  • Rack is strong enough to support the weight of the device.

  • Spacing of rails and adjacent racks provides for proper clearance around the device and rack.

  • The EX4100-F 12 port switches can be mounted on a 2 post rack by using 2-post rack mount kit.

    The EX4100-F 24 and 48 port Switches can be mounted on a 2 post rack using 2-post rack mount kit or on a 4-post rack using either 2-post rack mount kit or 4-post rack mount kit.

  • EX4400 Switches can be mounted on a 2 post rack using 2-post rack mount kit or on a 4-post rack using either 2-post rack mount kit or 4-post rack mount kit.

    For Installations using 4-post rack mount kit:

    • If you are mounting a switch flush with the front posts of a rack, ensure the minimum distance between front and rear post shall be 24 in. (60.96 cm) and extendable upto 31.5 in. (80 cm).

    • If you are mounting a switch in a recessed position (using the EX-4PST-RMK) from the front posts of a rack, ensure the minimum distance between front and rear post shall be 26 in. (66.04 cm) and extendable upto 31.5 in. (80 cm).

Rack connection to building structure

  • Secure the rack to the building structure.

  • If your geographical area is earthquake-prone, secure the rack to the floor.

  • Secure the rack to the ceiling brackets as well as wall or floor brackets for maximum stability.

Cabinet Requirements

You can mount the device in a cabinet that contains a 19-in. rack.

Table 3: Cabinet Requirements and Specifications

Cabinet Requirement

Guidelines

Cabinet size and clearance

  • The minimum cabinet size is 27.7 in. (70.35 cm) between cabinet front door and cabinet rear wall. It is recommended to have minimum of 6 in. clearance from the cabinet front door and switch front panel minimum of 6 in. clearance from the cabinet rear wall and switch rear panel. Large cabinets improve airflow and reduce chances of overheating.

  • The outer edges of the front mounting brackets extend the width of the chassis to 19 in. (48.2 cm).

  • The EX4400 switches can be mounted on the front posts of a rack inside a cabinet by using the 2-post RMK or on a 4-post rack inside the cabinet using 4-post rack mount kit.

    For installations using 4-post rack mount kit:

    • If you are mounting a device/switch flush with the front posts of a rack inside the cabinet, ensure the minimum distance between front and rear post shall be 24.0 in. (60.96 cm) and extendable upto 31.50 in (80.0 cm).

    • If you are mounting a switch in a recessed position (using the EX-4PST-RMK) from the front posts of a rack, ensure the minimum distance between front and rear post shall be 26.0 in. (66.04cm) and

      extendable upto 31.5 in. (80.00 cm).

Cabinet airflow requirements

When you mount the device in a cabinet:

  • Ensure that ventilation through the cabinet is sufficient to prevent overheating.

  • Ensure that there is adequate cool air supply to dissipate the thermal output of the device or devices.

  • Ensure that the hot air exhaust of the chassis exits the cabinet without recirculating into the device. An open cabinet (without a top or doors) that employs hot air exhaust extraction from the top ensures the best airflow through the chassis. If the cabinet contains a top or doors, perforations in these elements assist with removing the hot air exhaust.

  • Install the device in the cabinet in a way that maximizes the open space on the side of the chassis that has the hot air exhaust.

  • Route and secure all cables to minimize the blockage of airflow to and from the chassis.

  • Ensure that the spacing of rails and adjacent cabinets is such that proper clearance exists around the device and cabinet.

  • A cabinet larger than the minimum required provides better airflow and reduces the chance of overheating.

Requirements for Mounting an EX2300 Switch On or Under a Desk or Other Level Surface or On a Wall

You can mount the switch on a desk or other level surface. You can mount the EX2300-C switch under a desk or other level surface. You can mount EX2300 switches except the EX2300-24MP and EX2300-48MP models on a wall. When choosing a location, allow at least 6 in. (15.2 cm) of clearance between the front and back of the chassis and adjacent equipment or walls.

Ensure that the wall onto which the switch is installed is stable and securely supported.

If you are mounting the switch in sheetrock (wall board with a gypsum plaster core) or in wall board not backed by wall studs, use hollow wall anchors capable of supporting the combined weight of two fully loaded chassis. Insert the screws into wall studs wherever possible to provide added support for the chassis.

Use the wall-mount kit from Juniper Networks to mount the switch on a wall. The wall-mount kit is not part of the standard package and must be ordered separately.

Clearance Requirements for Airflow and Hardware Maintenance for EX2300 Switches

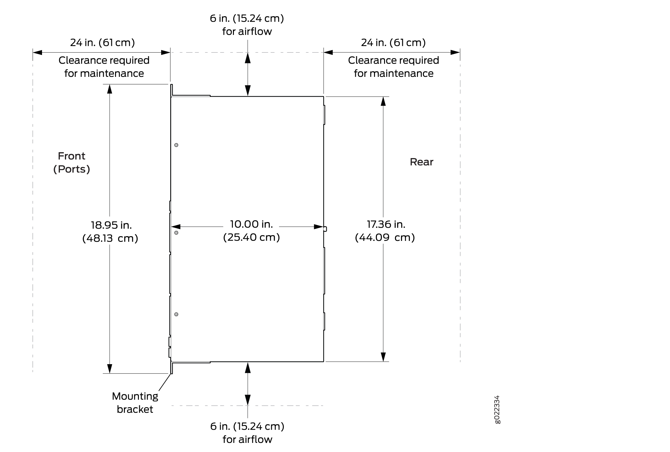
When planning the site for installing an EX2300 switch, you must allow sufficient clearance around the installed switch. Figure 1 shows the clearance requirements for the EX2300-C switches. Figure 2 shows the clearance requirements for EX2300 switches, except the EX2300-C, EX2300-24MP, and EX2300-48MP switches, with PoE capability. Figure 3 shows the clearance requirements for EX2300-24MP switches. Figure 4 shows the clearance requirements for EX2300-48MP switches.

Figure 1: Clearance Requirements for Airflow and Hardware Maintenance for EX2300-C Switches Technical diagram showing device dimensions: Height 10.98 in., Width 9.45 in., Depth 18.86 in., with clearance requirements: 6 in. for airflow top/bottom, 6 in. side maintenance, 24 in. front maintenance; mounting bracket at bottom.
Figure 2: Clearance Requirements for Airflow and Hardware Maintenance for EX2300 Switches Except EX2300-C, EX2300-24MP, and EX2300-48MP Switches Technical diagram showing side view dimensions and clearance for a rack-mounted device. Requires 24-inch clearance front and rear, 19-inch height, 12.36-inch depth.
Figure 3: Clearance Requirements for Airflow and Hardware Maintenance for EX2300-24MP Switches Technical diagram showing server dimensions and clearances: front height 18.95 inches, width 10.00 inches; rear height 17.36 inches. Airflow clearance 6 inches top and bottom; maintenance clearance 24 inches front and rear. Mounting bracket at bottom.
Figure 4: Clearance Requirements for Airflow and Hardware Maintenance for EX2300-48MP Switches Technical diagram detailing equipment dimensions and clearances: Front 18.95 in height, Rear 17.36 in height, Width 14.45 in, Airflow clearance 6 in top and bottom, Maintenance clearance 24 in front and rear, Mounting bracket at bottom. Suitable for rack installation planning.

The power cord retainer clips in EX2300 switches except the EX2300-24MP and EX2300-48MP switches extend out of the rear of the chassis by 3 in. (7.6 cm).

  • Allow at least 6 in. (15.2 cm) of clearance on the side between devices that have fans installed. Allow 2.8 in. (7 cm) between the side of the chassis and any non-heat-producing surface such as a wall. For the cooling system to function properly, the airflow around the chassis must be unrestricted.

    Figure 5 shows the airflow in EX2300 switches with 24 ports with PoE capability, except the EX2300-24MP switch. Figure 6 shows the airflow in EX2300-24MP switch. Figure 7 shows the airflow in EX2300 switches with 48 ports with PoE capability, except the EX2300-48MP switch. Figure 8 shows the airflow in EX2300-48MP switch. Figure 9 shows the airflow in EX2300 switches without PoE capability.

    Figure 5: Airflow Direction in EX2300 Switches with 24 Ports with PoE Capability Except the EX2300-24MP Switch Airflow Direction in EX2300 Switches with 24 Ports with PoE Capability Except the EX2300-24MP Switch
    Figure 6: Airflow Direction in EX2300-24MP Switches Airflow Direction in EX2300-24MP Switches
    Figure 7: Airflow Direction in EX2300 Switches with 48 Ports with PoE Capability Except the EX2300-48MP Switch Airflow Direction in EX2300 Switches with 48 Ports with PoE Capability Except the EX2300-48MP Switch
    Figure 8: Airflow Direction in EX2300-48MP Switches Airflow Direction in EX2300-48MP Switches
    Figure 9: Airflow Direction in EX2300 Switches without PoE Capability Airflow Direction in EX2300 Switches without PoE Capability
  • If you are mounting an EX2300 switch in a rack or cabinet with other equipment, or if you are placing it on or under a desk or floor near other equipment, ensure that the exhaust from other equipment does not blow into the intake vents of the chassis.

    Note:

    You can mount only EX2300-C switches under a desk or other level surface.

  • Leave at least 24 in. (61 cm) in front of the switch and 6 in. (15.2 cm) behind the switch. For service personnel to remove and install hardware components, you must leave adequate space at the front and back of the switch. NEBS GR-63 recommends that you allow at least 30 in. (76.2 cm) in front of the rack or cabinet and 24 in. (61 cm) behind the rack or cabinet.