Help us improve your experience.

Let us know what you think.

Do you have time for a two-minute survey?

 
 

Sistema de energía PTX10004

Los enrutadores PTX10004 admiten CA, CC, corriente alterna de alto voltaje (HVAC) y corriente continua de alto voltaje (HVDC) al ofrecer las siguientes fuentes de alimentación:

  • JNP10K-PWR-AC3

  • JNP10K-PWR-AC2

  • JNP10K-PWR-DC3

  • JNP10K-PWR-DC2

  • JNP10K-PWR-AC3H

Puede instalar hasta tres fuentes de alimentación en las ranuras etiquetadas como PSU0 a PSU2 (de arriba a abajo) ubicadas en la parte posterior del chasis.

Nota:

El JNP10K-PWR-AC2 y JNP10K-PWR-AC3 pueden compartir energía proporcionalmente en una configuración mixta, solo cuando se actualiza a JNP10K-PWR-AC3.

El JNP10K-PWR-AC2 y el JNP10K-PWR-AC3H pueden compartir energía proporcionalmente en una configuración mixta, siempre que las cuatro PSU funcionen con HVAC o HVDC.

Fuente de alimentación JNP10K-PWR-AC3

La fuente de alimentación JNP10K-PWR-AC3 es un modelo de alta capacidad que está diseñado para admitir sistemas de CA en modo de 15 A y 20 A; vea la Figura 1.

Figura 1: Fuente de alimentación JNP10K-PWR-AC3 JNP10K-PWR-AC3 Power Supply

Entrada—La fuente de alimentación toma cuatro entradas de CA monofásicas (180-264 VCA) (A0, A1, B0 y B1) a 20 A o 15 A y proporciona una salida de CC de 12,3 V. El receptáculo de entrada de la unidad de suministro de alimentación de CA (PSU) es IEC 320-C22. El conector de acoplamiento en el cable de alimentación es IEC 320-C21.

Resultado—La fuente de alimentación proporciona una salida de CC de 12,3 V a:

  • 7800 W (entrada de 20 A) con tres o cuatro fuentes activas, o

  • 6000 W (entrada de 20 A) con dos fuentes activas (una fuente a A0 o A1, y la segunda fuente a B0 o B1), o

  • 3000 W (entrada de 20 A) con una sola alimentación activa, o

  • 7800 W (entrada de 15 A) con cuatro fuentes activas, o

  • 6900 W (entrada de 15 A) con tres fuentes activas, o

  • 4600 W (entrada de 15 A) con dos fuentes activas, o

  • 2300 W (entrada de 15 A) con una sola alimentación activa.

  • El rango de voltaje de entrada operativo es de 180 a 264 VAC para sistemas de CA. La salida de CC es de 12,3 VCD.

  • El número de fuentes de alimentación y si las fuentes de alimentación proporcionan alimentación de alto rendimiento (20 A) o de bajo rendimiento (15 A) se configuran mediante un conjunto de conmutadores de paquete en línea (DIP) dobles en la placa frontal de la fuente de alimentación. Si una fuente de alimentación del chasis está configurada en bajo consumo, el presupuesto de consumo del chasis se reduce a bajo consumo, independientemente de la configuración del conmutador DIP o de los resultados de salida en la CLI. Este diseño protege contra la configuración accidental de la fuente de alimentación a 20 A en una instalación que solo puede proporcionar 15 A y el disparo del disyuntor de la instalación. Le recomendamos que no mezcle la configuración del interruptor DIP en su sistema. Consulte la Tabla 2 para obtener información sobre los voltajes de entrada y salida cuando utiliza los interruptores DIP.

  • La fuente de alimentación JNP10K-PWR-AC3 tiene un interruptor ENABLE en el panel frontal para habilitar / deshabilitar la salida principal de 12.3 VDC y la salida de espera de +5.0 V_BIAS también. Si el interruptor está en la posición DESACTIVAR, el PFC frontal se desactivará para minimizar el consumo de energía. Este conmutador tiene la prioridad más alta sobre cualquier otro método de apagado.

  • La eficiencia es del 93% a plena carga. El factor de potencia es 0,98. La corriente de irrupción máxima es de 50 A para la alimentación activa.

JNP10K-PWR-BLN3 o Active Blank

Juniper Networks ofrece un módulo de potencia en blanco activo (MAPA), JNP10K-PWR-BLN3. Esto ayuda en el flujo de aire y la refrigeración del chasis. Puede tener la siguiente combinación de MAPA, blanco pasivo y unidades de suministro de alimentación (PSU) JNP10K-PWR-AC3 en el chasis del enrutador:

  • Tres PSU

  • Dos PSU con un MAPA

  • Una fuente de alimentación con un ABPM y una pasiva en blanco

  • Una fuente de alimentación con dos MAPA

  • Tabla 1: PSU, MAPA, matriz pasiva en blanco

    PSU JNP10K-PWR-AC3

    MAPA (JNP10K-PWR-BLN3)

    Blanco pasivo

    3

    -

    -

    2

    1

    -

    1

    1

    1

    1

    2

    -

    Nota:

    Debe haber un mínimo de una unidad de fuente de alimentación (PSU) JNP10K-PWR-AC3 en el chasis del enrutador.

La fuente de alimentación JNP10K-PWR-AC3 tiene ventiladores internos que contribuyen al enfriamiento del chasis. Tres PSU o dos PSU junto con una MAPA deben estar presentes en un chasis en funcionamiento para tener el flujo de aire adecuado. Aunque se requiere que las fuentes de alimentación mínimas estén presentes en el chasis, no es necesario que todas estén conectadas a la fuente de alimentación. Si se instala una fuente de alimentación en una ranura, pero no está conectada a una fuente de alimentación, extrae energía del chasis para alimentar los ventiladores internos de las fuentes de alimentación.

Advertencia:

Peligro extremo de quemaduras: el JNP10K-PWR-AC3 puede alcanzar temperaturas en el rango de 158 °F a 176 °F (70 °C a 80 °C) en condiciones de funcionamiento.

Advertencia:

El enrutador es un equipo tipo A enchufable instalado en una ubicación de acceso restringido. Tiene un terminal de puesta a tierra de protección separado en el chasis que debe conectarse a tierra permanentemente para conectar a tierra el chasis adecuadamente y proteger al operador de peligros eléctricos.

PRECAUCIÓN:

Antes de comenzar a instalar el enrutador, asegúrese de que un electricista autorizado haya conectado una lengüeta de conexión a tierra adecuada al cable de conexión a tierra que suministra. El uso de un cable de conexión a tierra con una lengüeta mal conectada puede dañar el enrutador.

PRECAUCIÓN:

Utilice un disyuntor de 2 polos con una potencia nominal de 25 A en la instalación del edificio y el sistema, o según el código eléctrico local.

Las fuentes de alimentación JNP10K-PWR-AC3 tienen cinco interruptores DIP de doble posición (INP-A0, INP-A1, INP-B0, INP-B1 y DIP4) a los que se puede acceder desde el panel frontal. DIP4 es el quinto interruptor DIP, que se utiliza para indicar si la fuente de entrada de 20 A o 15 A está conectada. Consulte la Figura 2 y la Tabla 2 para conocer la disposición de los interruptores DIP y la potencia de salida cuando los interruptores DIP están configurados en diferentes combinaciones.

Figura 2: Conmutadores DIP en la fuente de alimentación NP10K-PWR-AC3 DIP Switches on NP10K-PWR-AC3 Power Supply

1— Interruptores DIP

Tabla 2: Configuración del interruptor DIP para la fuente de alimentación JNP10K-PWR-AC3

INP-A0 (conmutador 0)

INP-A1 (conmutador 1)

INP-B0 (conmutador 2)

INP-B1 (conmutador 3)

Interruptor 4 (entrada alta 20 A/entrada baja 15 A)

Potencia de salida

15-A

Desactivado

Desactivado

Desactivado

En

Apagado (15 A)

2300 W

Desactivado

Desactivado

En

Desactivado

Apagado (15 A)

2300 W

Desactivado

Desactivado

En

En

Apagado (15 A)

4600 W

Desactivado

En

Desactivado

Desactivado

Apagado (15 A)

2300 W

Desactivado

En

Desactivado

En

Apagado (15 A)

4600 W

Desactivado

En

En

En

Apagado (15 A)

6900 W

Desactivado

En

En

Desactivado

Apagado (15 A)

4600 W

En

Desactivado

Desactivado

Desactivado

Apagado (15 A)

2300 W

En

Desactivado

Desactivado

En

Apagado (15 A)

4600 W

En

Desactivado

En

Desactivado

Apagado (15 A)

4600 W

En

Desactivado

En

En

Apagado (15 A)

6900 W

En

En

Desactivado

Desactivado

Apagado (15 A)

4600 W

En

En

Desactivado

En

Apagado (15 A)

6900 W

En

En

En

Desactivado

Apagado (15 A)

6900 W

En

En

En

En

Apagado (15 A)

7800 W

20-A

Desactivado

Desactivado

Desactivado

En

Encendido (20 A)

3000 W

Desactivado

Desactivado

En

Desactivado

Encendido (20 A)

3000 W

Desactivado

Desactivado

En

En

Encendido (20 A)

6000 W

Desactivado

En

Desactivado

Desactivado

Encendido (20 A)

3000 W

Desactivado

En

Desactivado

En

Encendido (20 A)

6000 W

Desactivado

En

En

Desactivado

Encendido (20 A)

6000 W

Desactivado

En

En

En

Encendido (20 A)

7800 W

En

Desactivado

Desactivado

Desactivado

Encendido (20 A)

3000 W

En

Desactivado

Desactivado

En

Encendido (20 A)

6000 W

En

Desactivado

En

Desactivado

Encendido (20 A)

6000 W

En

Desactivado

En

En

Encendido (20 A)

7800 W

En

En

Desactivado

Desactivado

Encendido (20 A)

6000 W

En

En

Desactivado

En

Encendido (20 A)

7800 W

En

En

En

Desactivado

Encendido (20 A)

7800 W

En

En

En

En

Encendido (20 A)

7800 W

PRECAUCIÓN:

Es importante conectar las fuentes de alimentación de entrada de la fuente de alimentación JNP10K-PWR-AC3 a la red eléctrica de CA antes de encender el enrutador.

JNP10K-PWR-AC3 Indicadores LED de la fuente de alimentación

La fuente de alimentación JNP10K-PWR-AC3 tiene seis LED en su placa frontal: !, OK, A0, A1, B0 y B1. Los LED numerados corresponden a las cuatro entradas (INP-A0, INP-A1, INP-B0 e INP-B1). Además, hay dos LED más OK (Power OK) y !(Falta). Estos indicadores LED muestran información sobre el estado de la fuente de alimentación. Vea la Figura 3.

Figura 3: LED en una fuente de alimentación JNP10K-PWR-AC3 LEDs on a JNP10K-PWR-AC3 Power Supply

1: LED en la fuente de alimentación JNP10K-PWR-AC3 que indican:

  • ! Falla

  • Aceptar Potencia OK

  • A0 INP A0–Entrada de fuente 1

  • A1 INP A1–Entrada de fuente 2

  • B0 INP B0–Entrada de fuente 3

  • B1 INP B1–Entrada de fuente 4

Nota:

Las marcas físicas en la fuente de alimentación son INP-A0, INP-A1, INP-B0 e INP-B1. Estas marcas corresponden a INP-A0, INP-A1, INP-B0 e INP-B1 en la show chassis power salida (ver Tabla 3).

Tabla 3: Marcas físicas en el chasis AC3 versus mostrar comando de potencia del chasis

Marcado físico en JNP10K-PWR-AC3

Marcado de LED físico correspondiente

mostrar comando de alimentación del chasis

INP A0

A0

INP-A0

INP A1

A1

INP-A1

INP B0

B0

INP-B0

INP B1

B1

INP-B1

En la tabla 4 se describen los indicadores LED de una fuente de alimentación JNP10K-PWR-AC3, el color del LED, el estado y su significado.

Tabla 4: LED JNP10K-PWR-AC3 en un PTX10004

LED

Color

Estado

Descripción

A0

Amarillo

Sólido

Una de las siguientes opciones:

  • La fuente de alimentación está apagada.

  • Hay voltaje de entrada.

  • El voltaje de entrada está presente, pero se detecta una falla.

Verde

Sólido

La fuente de alimentación funciona correctamente.

A1

Amarillo

Sólido

Una de las siguientes opciones:

  • La fuente de alimentación está apagada.

  • Hay voltaje de entrada.

  • El voltaje de entrada está presente, pero se detecta una falla.

Verde

Sólido

La fuente de alimentación funciona correctamente.

B0

Amarillo

Sólido

Una de las siguientes opciones:

  • La fuente de alimentación está apagada.

  • Hay voltaje de entrada.

  • El voltaje de entrada está presente, pero se detecta una falla.

Verde

Sólido

La fuente de alimentación funciona correctamente.

B1

Amarillo

Sólido

Una de las siguientes opciones:

  • La fuente de alimentación está apagada.

  • Hay voltaje de entrada.

  • El voltaje de entrada está presente, pero se detecta una falla.

Verde

Sólido

La fuente de alimentación funciona correctamente.

OK (Potencia OK)

Verde

Sólido

La fuente de alimentación funciona correctamente.

Verde Parpadeando

La fuente de alimentación funciona correctamente, pero hay una discrepancia en el interruptor DIP correspondiente.

Ejemplo: Si A0 está recibiendo alimentación de entrada pero el interruptor DIP correspondiente 0 no está encendido, el LED parpadeará en verde.

Amarillo

Parpadeando

La salida de la fuente de alimentación ha detectado un fallo.

Apagado

Desactivado

La fuente de alimentación está apagada.

! (Falta)

Rojo

Sólido

La fuente de alimentación ha fallado y debe ser reemplazada.

Apagado

Desactivado

La fuente de alimentación funciona normalmente.

Fuente de alimentación JNP10K-PWR-AC2

La fuente de alimentación JNP10K-PWR-AC2 es un modelo de alta capacidad que está diseñado para admitir sistemas de CA, CA de alto voltaje (HVAC) o CC de alto voltaje (HVDC) en modo 20-A o 30-A; consulte la Figura 4. La fuente de alimentación alimenta la entrada de CA y proporciona una salida de CC de 5000 W con una alimentación simple y 5500 W con una alimentación doble. El rango de voltaje de entrada operativo es de 180 a 305 VCA para sistemas de CA y de 190 a 410 VCC para sistemas de CC.

El número de fuentes de alimentación y si las fuentes de alimentación proporcionan alimentación de alto rendimiento (30 A) o de bajo rendimiento (20 A) se configuran mediante un conjunto de conmutadores de paquete en línea (DIP) dobles en la placa frontal de la fuente de alimentación. Si una fuente de alimentación del chasis está configurada en bajo consumo, el presupuesto de consumo del chasis se reduce a bajo consumo, independientemente de la configuración del conmutador DIP o de los resultados de salida en la CLI. Este diseño protege contra la configuración accidental de la fuente de alimentación a 30 A en una instalación que solo puede proporcionar 20 A y el disparo del disyuntor de la instalación. Le recomendamos que no mezcle la configuración del interruptor DIP en su sistema. Consulte la Tabla 5 para obtener información sobre los voltajes de entrada y salida cuando utiliza los interruptores DIP.

Figura 4: Fuente de alimentación JNP10K-PWR-AC2 JNP10K-PWR-AC2 Power Supply
Advertencia:

Peligro extremo de quemaduras: no manipule una fuente de alimentación HVAC o HVDC que se ejecute en el chasis sin guantes protectores contra el calor. El JNP10K-PWR-AC2 puede alcanzar temperaturas en el rango de 158 ° F a 176 ° F (70 ° C a 80 ° C) en condiciones de funcionamiento.

Advertencia:

El enrutador es un equipo tipo A enchufable instalado en una ubicación de acceso restringido. Tiene un terminal de puesta a tierra de protección separado en el chasis que debe conectarse a tierra permanentemente para conectar a tierra el chasis adecuadamente y proteger al operador de peligros eléctricos.

PRECAUCIÓN:

Antes de comenzar a instalar el enrutador, asegúrese de que un electricista autorizado haya conectado una lengüeta de conexión a tierra adecuada al cable de conexión a tierra que suministra. El uso de un cable de conexión a tierra con una lengüeta mal conectada puede dañar el enrutador.

PRECAUCIÓN:

Utilice un disyuntor de 2 polos con una potencia nominal de 25 A en la instalación del edificio y el sistema, o según el código eléctrico local.

Tabla 5: Configuración del interruptor DIP para fuentes de alimentación JNP10K-PWR-AC2

INP0—PS 0(conmutador DIP 1)

INP1—PS 1 (conmutador DIP 2)

H/L (entrada alta 30 A/entrada baja 20 A)

Potencia de salida

En

En

Encendido (30 A)

5500 W

En

En

Apagado (20 A)

3000 W

En

Desactivado

Encendido (30 A)

5000 W

Desactivado

En

Encendido (30 A)

5000 W

En

Desactivado

Apagado (20 A)

2700 W

Desactivado

En

Apagado (20 A)

2700 W

Nota:

Si uno de los interruptores DIP está en la posición de encendido y si el interruptor de encendido está en la posición de apagado, el sistema activa una alarma de que faltan las fuentes de alimentación. Puede evitar esto colocando ambos interruptores DIP en la posición de apagado.

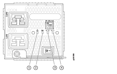
Nota:
  • IP1
    • INP1 en la salida de la CLI para Junos OS Evolved versión 20.4R2 o posterior.
    • INP0 en la salida de la CLI para versiones anteriores a Junos OS Evolved versión 20.4R2.
  • IP2
    • INP2 en la salida de la CLI para Junos OS Evolved versión 20.4R2 o posterior.
    • INP1 en la salida de la CLI para versiones anteriores a Junos OS Evolved versión 20.4R2.
PRECAUCIÓN:

Es importante conectar ambas fuentes de alimentación de entrada de la fuente de alimentación JNP10K-PWR-AC2 a la red eléctrica de CA antes de cargar el sistema con alimentación.

Las fuentes de alimentación tienen ventiladores internos que contribuyen al enfriamiento del chasis. Por lo tanto, todas las fuentes de alimentación deben estar presentes en un chasis en funcionamiento para tener el flujo de aire adecuado. Si bien se requiere que todas las fuentes de alimentación estén presentes en el chasis, no necesariamente deben estar conectadas a la alimentación. Si hay una fuente de alimentación instalada en una ranura, pero no está conectada a una fuente de alimentación, extrae energía del chasis para alimentar los ventiladores internos de las fuentes de alimentación.

JNP10K-PWR-AC2 Indicadores LED de la fuente de alimentación

La fuente de alimentación JNP10K-PWR-AC2 tiene cuatro LED en su placa frontal: !, OK, 2 y 1. Estos indicadores LED muestran información sobre el estado de la fuente de alimentación. Vea la Figura 5.

Figura 5: LED en una fuente de alimentación JNP10K-PWR-AC2 LEDs on a JNP10K-PWR-AC2 Power Supply
1

! Falla

3

2 INP2–Entrada de fuente 1

2

Aceptar Potencia OK

4

1 INP1–Entrada de fuente 0

Nota:

Las marcas físicas en la fuente de alimentación son 1 y 2. Estas marcas corresponden a INP0 e INP1 en la salida (véase el show chassis power Cuadro 6).

Tabla 6: Marcas físicas en el chasis versus mostrar comando de potencia del chasis

Marcado físico en JNP10K-PWR-AC2

mostrar comando de alimentación del chasis

1

INP0

2

INP1

En la tabla 7 se describen los indicadores LED de una fuente de alimentación JNP10K-PWR-AC2.

Tabla 7: LED JNP10K-PWR-AC2 en un PTX10004

LED

Color

Estado

Descripción

1 (o INPO en la salida de la CLI)

Amarillo

Sólido

Una de las siguientes opciones:

  • La fuente de alimentación está apagada.

  • No hay voltaje de entrada.

  • El voltaje de entrada está presente, pero se detecta una falla.

Verde

Sólido

La fuente de alimentación funciona correctamente.

2 (o INP1 en la salida de la CLI)

Amarillo

Sólido

Una de las siguientes opciones:

  • La fuente de alimentación está apagada.

  • No hay voltaje de entrada.

  • El voltaje de entrada está presente, pero se detecta una falla.

Verde

Sólido

La fuente de alimentación funciona correctamente.

OK (Potencia OK)

Verde

Sólido

La fuente de alimentación funciona correctamente.

Amarillo

Parpadeando

La salida de la fuente de alimentación ha detectado un fallo.

Apagado

Desactivado

La fuente de alimentación está apagada.

! (Falta)

Rojo

Sólido

La fuente de alimentación ha fallado y debe ser reemplazada.

Apagado

Desactivado

La fuente de alimentación funciona normalmente.

Fuente de alimentación JNP10K-PWR-DC3

La fuente de alimentación JNP10K-PWR-DC3 es un modelo de alta capacidad diseñado para admitir cuatro fuentes de alimentación en una sola carcasa que acepta 60 A u 80 A de cuatro fuentes de alimentación de entrada.

Figura 6: Fuente de alimentación JNP10K-PWR-DC3 JNP10K-PWR-DC3 Power Supply

La fuente de alimentación JNP10K-PWR-DC3 tiene un interruptor de encendido/espera en el panel frontal para habilitar o deshabilitar la salida principal de 12.3 VDC y la salida de espera de +5.0 V_BIAS.

El número de fuentes de alimentación y si las fuentes de alimentación proporcionan una entrada alta de 80 A o una entrada baja de 60 A se configuran mediante los conmutadores de paquete en línea dual (DIP) en el panel frontal de la fuente de alimentación. Las fuentes de alimentación JNP10K-PWR-DC3 tienen cinco interruptores DIP de doble posición. Los conmutadores DIP0 a DIP3 (INP-A0, INP-A1, INP-B0, INP-B1) indican si la entrada está conectada a la fuente. DIP4 (quinto interruptor DIP) indica si hay una fuente de entrada de 80 A o 60 A conectada. Consulte la Figura 7 para ver la disposición de los interruptores DIP y la Tabla 8 para obtener información sobre la potencia de salida cuando los interruptores DIP están configurados en diferentes combinaciones.

Figura 7: Conmutadores DIP en la fuente de alimentación JNP10K-PWR-DC3 DIP Switches on JNP10K-PWR-DC3 Power Supply
1

Conmutadores DIP

Tabla 8: Configuración del interruptor DIP para la fuente de alimentación JNP10K-PWR-DC3

INP-A0 (conmutador 0)

INP-A1 (conmutador 1)

INP-B0 (conmutador 2)

INP-B1 (conmutador 3)

Interruptor 4 (entrada baja 60 A / entrada alta 80 A)

Potencia de salida

60 A

Desactivado

Desactivado

Desactivado

En

Apagado (60 A)

2200 W

Desactivado

Desactivado

En

Desactivado

Apagado (60 A)

2200 W

Desactivado

Desactivado

En

En

Apagado (60 A)

4400 W

Desactivado

En

Desactivado

Desactivado

Apagado (60 A)

2200 W

Desactivado

En

Desactivado

En

Apagado (60 A)

4400 W

Desactivado

En

En

Desactivado

Apagado (60 A)

4400 W

Desactivado

En

En

En

Apagado (60 A)

6600 W

En

Desactivado

Desactivado

Desactivado

Apagado (60 A)

2200 W

En

Desactivado

Desactivado

En

Apagado (60 A)

4400 W

En

Desactivado

En

Desactivado

Apagado (60 A)

4400 W

En

Desactivado

En

En

Apagado (60 A)

6600 W

En

En

Desactivado

Desactivado

Apagado (60 A)

4400 W

En

En

Desactivado

En

Apagado (60 A)

6600 W

En

En

En

Desactivado

Apagado (60 A)

6600 W

En

En

En

En

Apagado (60 A)

7800 W

80 A

Desactivado

Desactivado

Desactivado

En

Encendido (80 A)

3000 W

Desactivado

Desactivado

En

Desactivado

Encendido (80 A)

3000 W

Desactivado

Desactivado

En

En

Encendido (80 A)

6000 W

Desactivado

En

Desactivado

Desactivado

Encendido (80 A)

3000 W

Desactivado

En

Desactivado

En

Encendido (80 A)

6000 W

Desactivado

En

En

Desactivado

Encendido (80 A)

6000 W

Desactivado

En

En

En

Encendido (80 A)

7800 W

En

Desactivado

Desactivado

Desactivado

Encendido (80 A)

3000 W

En

Desactivado

Desactivado

En

Encendido (80 A)

6000 W

En

Desactivado

En

Desactivado

Encendido (80 A)

6000 W

En

Desactivado

En

En

Encendido (80 A)

7800 W

En

En

Desactivado

Desactivado

Encendido (80 A)

6000 W

En

En

Desactivado

En

Encendido (80 A)

7800 W

En

En

En

Desactivado

Encendido (80 A)

7800 W

En

En

En

En

Encendido (80 A)

7800 W

Espacio en blanco activo (JNP10K-PWR-BLN3)

Juniper Networks ofrece el JNP10K-PWR-BLN3, que es un módulo de potencia en blanco activo (MAPA). Esto ayuda en el flujo de aire y la refrigeración del chasis en ausencia de una unidad de fuente de alimentación (PSU). Puede configurar el chasis del enrutador con una combinación de ABPM y PSU JNP10K-PWR-DC3:

Tabla 9: Matriz de PSU y MAPA

PSU JNP10K-PWR-DC3

JNP10K-PWR-BLN3 MAPA

3

-

2

1

1

2

Nota:

Debe haber un mínimo de una PSU JNP10K-PWR-DC3 en el chasis del enrutador.

La fuente de alimentación JNP10K-PWR-DC3 tiene ventiladores internos que contribuyen al enfriamiento del chasis. Tres PSU o dos PSU junto con un MAPA deben estar presentes en un chasis en funcionamiento para tener el flujo de aire adecuado. Las fuentes de alimentación mínimas deben estar presentes en el chasis, pero no es necesario que todas estén conectadas a la fuente de alimentación. Si se instala una fuente de alimentación en una ranura, pero no está conectada a una fuente de alimentación, extrae energía del chasis para alimentar los ventiladores internos de las fuentes de alimentación.

Advertencia:

El enrutador es un equipo tipo A enchufable instalado en una ubicación de acceso restringido. Tiene un terminal de puesta a tierra de protección separado en el chasis que debe conectarse a tierra permanentemente para conectar a tierra el chasis adecuadamente y proteger al operador de peligros eléctricos.

PRECAUCIÓN:

Antes de comenzar a instalar el enrutador, asegúrese de que un electricista autorizado haya conectado una lengüeta de conexión a tierra adecuada al cable de conexión a tierra que suministra. El uso de un cable de conexión a tierra con una lengüeta mal conectada puede dañar el enrutador.

JNP10K-PWR-DC3 Indicadores LED de la fuente de alimentación

La fuente de alimentación JNP10K-PWR-DC3 tiene seis LED en su placa frontal. Los LED A0, A1, B0 y B1 corresponden a las cuatro fuentes de entrada (INP-A0, INP-A1, INP-B0, INP-B1). Hay dos LED adicionales: OK (Power OK) y ! (lo que indica una falla). Estos LED muestran información sobre el estado de la fuente de alimentación. Vea la Figura 8.

Figura 8: LED en una fuente de alimentación JNP10K-PWR-DC3 LEDs on a JNP10K-PWR-DC3 Power Supply
1

LED en JNP10K-PWR-DC3:

  • OK–Potencia OK

  • !–Fallo

  • A0–Entrada de fuente INP-A0

  • A1–Entrada de fuente INP-A1

  • B0–Entrada de fuente INP-B0

  • B1–Entrada de fuente INP-B1

Tabla 10: Etiquetas de LED y asignación de terminología de CLI

Etiquetas LED en JNP10K-PWR-DC3

Salida del show chassis power comando

A0

INP-A0

A1

INP-A1

B0

INP-B0

B1

INP-B1

Tabla 11: LED en una fuente de alimentación JNP10K-PWR-DC3

LED

Color

Estado

Descripción

A0 (INP-A0 en la salida de la CLI)

Ámbar

Parpadeando

El voltaje de entrada en A0 está presente pero no dentro del rango operativo.

Verde

Sólido

El voltaje de entrada en A0 está presente y funciona dentro del rango operativo.

Apagado

Desactivado

Sin entrada.

A1 (INP-A1 en la salida de la CLI)

Ámbar

Parpadeando

El voltaje de entrada en A1 está presente pero no dentro del rango operativo.

Verde

Sólido

El voltaje de entrada en A1 está presente y funciona dentro del rango operativo.

Apagado

Desactivado

Sin entrada.

B0 (INP-B0 en la salida de la CLI)

Ámbar

Parpadeando

El voltaje de entrada en B0 está presente pero no dentro del rango operativo.

Verde

Sólido

El voltaje de entrada en B0 está presente y funciona dentro del rango operativo.

Apagado

Desactivado

Sin entrada.

B1 (INP-B1 en la salida de la CLI)

Ámbar

Parpadeando

El voltaje de entrada en B1 está presente pero no dentro del rango operativo.

Verde

Sólido

El voltaje de entrada en B1 está presente y funciona dentro del rango operativo.

Apagado

Desactivado

Sin entrada.

OK (Potencia OK)

Apagado

Desactivado

La salida de la fuente de alimentación no está dentro de los límites especificados.

Verde

Sólido

El voltaje de salida de la fuente de alimentación funciona dentro de los límites especificados.

! (Falta)

Rojo

Sólido

Una de las siguientes opciones:

  • La fuente de alimentación ha fallado y debe ser reemplazada.

  • Se produjo un error en la entrada esperada basada en la configuración del conmutador DIP.

Apagado

Desactivado

La fuente de alimentación funciona correctamente.

Fuente de alimentación JNP10K-PWR-DC2

La fuente de alimentación JNP10K-PWR-DC2 ofrece dos fuentes de alimentación en una sola carcasa que acepta 60 A u 80 A mediante cuatro fuentes de alimentación de entrada redundantes. Vea la Figura 9.

Figura 9: Fuente de alimentación JNP10K-PWR-DC2 JNP10K-PWR-DC2 Power Supply

Las dos fuentes de alimentación internas (PS 0 y PS 1) tienen fuentes de alimentación de entrada redundantes: A0 y/o B0 proporcionan energía a PS 0 y A1 y/o B1 proporcionan energía a PS 1. Del mismo modo, la alimentación de entrada A1 o B1 con el voltaje de entrada más alto proporciona energía a PS 1. A0, B0, A1 y B1 comparten la alimentación si el voltaje de entrada es el mismo. La entrada se configura mediante un conjunto de tres interruptores DIP en la placa frontal de la fuente de alimentación que establece la potencia de salida combinada para ambas fuentes de alimentación internas. La salida depende de la configuración de estos interruptores DIP. Ver Tabla 12. La salida del PS 0 y PS 1 comparte la potencia de salida.

Tabla 12: Configuración del interruptor DIP para fuentes de alimentación JNP10K-PWR-DC2

INP0—PS 0(conmutador DIP 1)

INP1—PS 1 (conmutador DIP 2)

H/L (entrada alta 80 A/entrada baja 60 A)

Potencia de salida

En

En

Encendido (80 A)

5500 W

En

En

Apagado (60 A)

4400 W

En

Desactivado

Encendido (80 A)

2750 W

Desactivado

En

Encendido (80 A)

2750 W

En

Desactivado

Apagado (60 A)

2200 W

Desactivado

En

Apagado (60 A)

2200 W

Una salida combinada de 5500 W con PS 0 y PS 1 activos está disponible a 56 VDC o más. Si el voltaje de entrada es inferior a 56 VCC, la potencia de salida disminuye linealmente, manteniendo la corriente de entrada un poco por debajo de los 60 A predeterminados. Sin embargo, la fuente de alimentación admite 5500 W con un voltaje de entrada más bajo si proporciona 80 A y establece el interruptor de la fuente de alimentación en la configuración de 80 A.

Una salida combinada de 2750 W con solo PS 0 o PS 1 activo está disponible a 56 VDC o más. Si el voltaje de entrada es inferior a 56 VCC, la potencia de salida disminuye linealmente, manteniendo la corriente de entrada un poco por debajo de los 60 A predeterminados. Sin embargo, la fuente de alimentación admite 2750 W a un voltaje de entrada más bajo si proporciona 80 A y establece el interruptor de la fuente de alimentación en la configuración de 80 A.

La fuente de alimentación JNP10K-PWR-DC2 requiere un disyuntor exclusivo para cada alimentación de CC de entrada. Debe usar un disyuntor que tenga una capacidad nominal de 80 A CC con retardo medio.

Las fuentes de alimentación tienen ventiladores internos que contribuyen al enfriamiento del chasis. Por lo tanto, todas las fuentes de alimentación deben estar presentes en un chasis en funcionamiento para tener el flujo de aire adecuado. Si bien se requiere que todas las fuentes de alimentación estén presentes en el chasis, no necesariamente deben estar conectadas a la alimentación. Si hay una fuente de alimentación instalada en una ranura, pero no está conectada a una fuente de alimentación, extrae energía del chasis para alimentar los ventiladores internos de las fuentes de alimentación.

Advertencia:

El enrutador es un equipo tipo A enchufable instalado en una ubicación de acceso restringido. Tiene un terminal de puesta a tierra de protección separado en el chasis que debe conectarse a tierra permanentemente para conectar a tierra el chasis adecuadamente y proteger al operador de peligros eléctricos.

PRECAUCIÓN:

Antes de comenzar a instalar el enrutador, asegúrese de que un electricista autorizado haya conectado una lengüeta de conexión a tierra adecuada al cable de conexión a tierra que suministra. El uso de un cable de conexión a tierra con una lengüeta mal conectada puede dañar el enrutador.

JNP10K-PWR-DC2 Indicadores LED de la fuente de alimentación

Una fuente de alimentación JNP10K-PWR-DC2 tiene cuatro LED en su placa frontal: 1, 2, OK y el símbolo de falla, !. Estos indicadores LED muestran información sobre el estado de la fuente de alimentación. Vea la Figura 10.

Figura 10: LED en una fuente de alimentación JNP10K-PWR-DC2 LEDs on a JNP10K-PWR-DC2 Power Supply
1

! Falla

3

2 Entrada de fuente de alimentación 1

2

Aceptar Potencia OK

4

1 Entrada de fuente de alimentación 0

En la tabla 13 se describen los indicadores LED de una fuente de alimentación JNP10K-PWR-DC2.

Tabla 13: LED en una fuente de alimentación JNP10K-PWR-DC2

LED

Color

Estado

Descripción

1 (INP0 en la salida de la CLI) o 2 (INP1 en la salida de la CLI)

Verde

Sólido

La alimentación de CC está dentro del rango de funcionamiento normal (-40 VDC a -72 VDC).

Amarillo

Parpadeando

El voltaje de entrada de alimentación de CC no está dentro del rango de funcionamiento normal.

Apagado

Desactivado

La fuente de alimentación está apagada.

OK (Potencia OK)

Verde

Sólido

La potencia de salida de CC está dentro del rango de funcionamiento normal.

Amarillo

Parpadeando

La salida de la fuente de alimentación está fuera de los límites de alimentación.

! (Falta)

Rojo

Sólido

La fuente de alimentación ha fallado y debe ser reemplazada.

Apagado

Desactivado

La fuente de alimentación funciona normalmente. O bien, solo se alimenta una entrada y el interruptor de activación para la entrada que no está alimentada está configurado en ON. Consulte Instalación de una fuente de alimentación JNP10K-PWR-DC2 para obtener más información acerca de los conmutadores habilitados.

Nota:

Si el LED 1 o 2 y OK están apagados, los cables de alimentación no están instalados correctamente o la fuente de alimentación ha fallado.

Si el LED 1 o 2 está encendido en verde y el LED OK está apagado, la fuente de alimentación no está instalada correctamente o la fuente de alimentación tiene una falla interna.

Si el ! El LED parpadea, agregue una fuente de alimentación para equilibrar la demanda y la oferta de energía.

Fuente de alimentación JNP10K-PWR-AC3H

La fuente de alimentación JNP10K-PWR-AC3H es un modelo de alta capacidad diseñado para admitir sistemas HVAC o HVDC en un modo de 15-A y 20-A; ver Figura 11. La fuente de alimentación detecta automáticamente si la alimentación de entrada es de CA o CC.

Figura 11: Fuente de alimentación JNP10K-PWR-AC3H

Entrada—La fuente de alimentación toma cuatro entradas monofásicas HVAC (180-305 VAC) o HVDC (190 - 410VDC) (A0, A1, B0 y B1) a 20 A o 15 A y proporciona una salida de CC de 12,3 V. El receptáculo de entrada de la unidad de suministro de alimentación de CA (PSU) es IEC 320-C22. El conector de acoplamiento en el cable de alimentación es IEC 320-C21.

Resultado—La fuente de alimentación proporciona una salida de CC de 12,3 V a:

  • 7800 W (entrada de 20 A) con tres o cuatro fuentes activas, o

  • 6000 W (entrada de 20 A) con dos fuentes activas (una fuente a A0 o A1, y la segunda fuente a B0 o B1), o

  • 3000 W (entrada de 20 A) con una sola alimentación activa, o

  • 7800 W (entrada de 15 A) con cuatro fuentes activas, o

  • 6900 W (entrada de 15 A) con tres fuentes activas, o

  • 4600 W (entrada de 15 A) con dos fuentes activas, o

  • 2300 W (entrada de 15 A) con una sola alimentación activa.

  • El rango de voltaje de entrada operativo es de 180 a 264 VAC para sistemas de CA. La salida de CC es de 12,3 VCD.

  • El número de fuentes de alimentación y si las fuentes de alimentación proporcionan alimentación de alto rendimiento (20 A) o de bajo rendimiento (15 A) se configuran mediante un conjunto de conmutadores de paquete en línea (DIP) dobles en la placa frontal de la fuente de alimentación. Si una fuente de alimentación del chasis está configurada en bajo consumo, el presupuesto de consumo del chasis se reduce a bajo consumo, independientemente de la configuración del conmutador DIP o de los resultados de salida en la CLI. Este diseño protege contra la configuración accidental de la fuente de alimentación a 20 A en una instalación que solo puede proporcionar 15 A y el disparo del disyuntor de la instalación. Le recomendamos que no mezcle la configuración del interruptor DIP en su sistema. Consulte la Tabla 2 para obtener información sobre los voltajes de entrada y salida cuando utiliza los interruptores DIP.

  • La fuente de alimentación JNP10K-PWR-AC3H tiene un interruptor ENABLE en el panel frontal para habilitar / deshabilitar la salida principal de 12.3 VDC y la salida de espera de +5.0 V_BIAS también. Si el interruptor está en la posición DESACTIVAR, el PFC frontal se desactivará para minimizar el consumo de energía. Este conmutador tiene la prioridad más alta sobre cualquier otro método de apagado.

  • La corrección del factor de potencia (PFC) es PF de 0,98 kW como mínimo a plena carga. La corriente de irrupción máxima es de 50 A para la alimentación activa.

JNP10K-PWR-BLN3 o Active Blank

Juniper Networks ofrece un módulo de potencia en blanco activo (MAPA), JNP10K-PWR-BLN3. Esto ayuda en el flujo de aire y la refrigeración del chasis. Puede tener la siguiente combinación de MAPA, blanco pasivo y JNP10K-PWR-AC3H unidades de suministro de alimentación (PSU) en el chasis del enrutador:

  • Tres PSU

  • Dos PSU con un MAPA

  • Una fuente de alimentación con un ABPM y una pasiva en blanco

  • Una fuente de alimentación con dos MAPA

  • Tabla 14: PSU, MAPA, matriz pasiva en blanco

    PSU JNP10K-PWR-AC3H

    MAPA (JNP10K-PWR-BLN3)

    Blanco pasivo

    3

    -

    -

    2

    1

    -

    1

    1

    1

    1

    2

    -

    Nota:

    Debe haber un mínimo de una unidad de fuente de alimentación (PSU) JNP10K-PWR-AC3H en el chasis del enrutador.

La fuente de alimentación JNP10K-PWR-AC3H tiene ventiladores internos que contribuyen al enfriamiento del chasis. Tres PSU o dos PSU junto con una MAPA deben estar presentes en un chasis en funcionamiento para tener el flujo de aire adecuado. Aunque se requiere que las fuentes de alimentación mínimas estén presentes en el chasis, no es necesario que todas estén conectadas a la fuente de alimentación. Si se instala una fuente de alimentación en una ranura, pero no está conectada a una fuente de alimentación, extrae energía del chasis para alimentar los ventiladores internos de las fuentes de alimentación.

Advertencia:

Peligro extremo de quemaduras: el JNP10K-PWR-AC3H puede alcanzar temperaturas en el rango de 158 °F a 176 °F (70 °C a 80 °C) en condiciones de funcionamiento.

Advertencia:

El enrutador es un equipo tipo A enchufable instalado en una ubicación de acceso restringido. Tiene un terminal de puesta a tierra de protección separado en el chasis que debe conectarse a tierra permanentemente para conectar a tierra el chasis adecuadamente y proteger al operador de peligros eléctricos.

PRECAUCIÓN:

Antes de comenzar a instalar el enrutador, asegúrese de que un electricista autorizado haya conectado una lengüeta de conexión a tierra adecuada al cable de conexión a tierra que suministra. El uso de un cable de conexión a tierra con una lengüeta mal conectada puede dañar el enrutador.

PRECAUCIÓN:

Utilice un disyuntor de 2 polos con una potencia nominal de 25 A en la instalación del edificio y el sistema, o según el código eléctrico local.

Las fuentes de alimentación JNP10K-PWR-AC3H tienen cinco interruptores DIP de doble posición (INP-A0, INP-A1, INP-B0, INP-B1 y DIP4) a los que se puede acceder desde el panel frontal. DIP4 es el quinto interruptor DIP, que se utiliza para indicar si la fuente de entrada de 20 A o 15 A está conectada. Consulte la Figura 12 y la Tabla 15 para conocer la disposición de los interruptores DIP y la potencia de salida cuando los interruptores DIP están configurados en diferentes combinaciones.

Figura 12: Conmutadores DIP en la fuente de alimentación NP10K-PWR-AC3H DIP Switches on NP10K-PWR-AC3H Power Supply

1: Interruptores DIP

Tabla 15: Configuración del interruptor DIP para la fuente de alimentación JNP10K-PWR-AC3H

INP-A0 (conmutador 0)

INP-A1 (conmutador 1)

INP-B0 (conmutador 2)

INP-B1 (conmutador 3)

Interruptor 4 (entrada alta 20 A/entrada baja 15 A)

Potencia de salida

15-A

Desactivado

Desactivado

Desactivado

En

Apagado (15 A)

2300 W

Desactivado

Desactivado

En

Desactivado

Apagado (15 A)

2300 W

Desactivado

Desactivado

En

En

Apagado (15 A)

4600 W

Desactivado

En

Desactivado

Desactivado

Apagado (15 A)

2300 W

Desactivado

En

Desactivado

En

Apagado (15 A)

4600 W

Desactivado

En

En

En

Apagado (15 A)

6900 W

Desactivado

En

En

Desactivado

Apagado (15 A)

4600 W

En

Desactivado

Desactivado

Desactivado

Apagado (15 A)

2300 W

En

Desactivado

Desactivado

En

Apagado (15 A)

4600 W

En

Desactivado

En

Desactivado

Apagado (15 A)

4600 W

En

Desactivado

En

En

Apagado (15 A)

6900 W

En

En

Desactivado

Desactivado

Apagado (15 A)

4600 W

En

En

Desactivado

En

Apagado (15 A)

6900 W

En

En

En

Desactivado

Apagado (15 A)

6900 W

En

En

En

En

Apagado (15 A)

7800 W

20-A

Desactivado

Desactivado

Desactivado

En

Encendido (20 A)

3000 W

Desactivado

Desactivado

En

Desactivado

Encendido (20 A)

3000 W

Desactivado

Desactivado

En

En

Encendido (20 A)

6000 W

Desactivado

En

Desactivado

Desactivado

Encendido (20 A)

3000 W

Desactivado

En

Desactivado

En

Encendido (20 A)

6000 W

Desactivado

En

En

Desactivado

Encendido (20 A)

6000 W

Desactivado

En

En

En

Encendido (20 A)

7800 W

En

Desactivado

Desactivado

Desactivado

Encendido (20 A)

3000 W

En

Desactivado

Desactivado

En

Encendido (20 A)

6000 W

En

Desactivado

En

Desactivado

Encendido (20 A)

6000 W

En

Desactivado

En

En

Encendido (20 A)

7800 W

En

En

Desactivado

Desactivado

Encendido (20 A)

6000 W

En

En

Desactivado

En

Encendido (20 A)

7800 W

En

En

En

Desactivado

Encendido (20 A)

7800 W

En

En

En

En

Encendido (20 A)

7800 W

PRECAUCIÓN:

Es importante conectar las fuentes de alimentación de entrada de la fuente de alimentación JNP10K-PWR-AC3H a la red eléctrica de HVAC antes de encender el enrutador.

Indicadores LED de la fuente de alimentación JNP10K-PWR-AC3H

La fuente de alimentación JNP10K-PWR-AC3H tiene seis LED en su placa frontal: !, OK, A0, A1, B0 y B1. Los LED numerados corresponden a las cuatro entradas (INP-A0, INP-A1, INP-B0 e INP-B1). Además, hay dos LED más OK (Power OK) y !(Falta). Estos indicadores LED muestran información sobre el estado de la fuente de alimentación. Vea la Figura 13.

Figura 13: LED en una fuente de alimentación JNP10K-PWR-AC3H LEDs on a JNP10K-PWR-AC3H Power Supply

1: los indicadores LED de la fuente de alimentación JNP10K-PWR-AC3H indican lo siguiente:

  • ! Falla

  • Aceptar Potencia OK

  • A0 INP A0–Entrada de fuente 1

  • A1 INP A1–Entrada de fuente 2

  • B0 INP B0–Entrada de fuente 3

  • B1 INP B1–Entrada de fuente 4

Nota:

Las marcas físicas en la fuente de alimentación son INP-A0, INP-A1, INP-B0 e INP-B1. Estas marcas corresponden a INP-A0, INP-A1, INP-B0 e INP-B1 en la salida (véase el show chassis power Cuadro 16).

Tabla 16: Marcas físicas en chasis AC3H versus mostrar comando de potencia del chasis

Marcado físico en JNP10K-PWR-AC3H

Marcado de LED físico correspondiente

Mostrar potencia del chasis Comando

INP A0

A0

INP-A0

INP A1

A1

INP-A1

INP B0

B0

INP-B0

INP B1

B1

INP-B1

En la tabla 17 se describen los indicadores LED de una fuente de alimentación JNP10K-PWR-AC3H, el color del LED, el estado y su significado.

Tabla 17: LED JNP10K-PWR-AC3H en un PTX10004

LED

Color

Estado

Descripción

A0 (INP-AO en la salida de la CLI)

Amarillo

Sólido

Una de las siguientes opciones:

  • La fuente de alimentación está apagada.

  • Hay voltaje de entrada.

  • El voltaje de entrada está presente, pero se detecta una falla.

Verde

Sólido

La fuente de alimentación funciona correctamente.

A1 (INP-A1 en la salida de la CLI)

Amarillo

Sólido

Una de las siguientes opciones:

  • La fuente de alimentación está apagada.

  • Hay voltaje de entrada.

  • El voltaje de entrada está presente, pero se detecta una falla.

Verde

Sólido

La fuente de alimentación funciona correctamente.

B0 (INP-B0 en la salida de la CLI)

Amarillo

Sólido

Una de las siguientes opciones:

  • La fuente de alimentación está apagada.

  • Hay voltaje de entrada.

  • El voltaje de entrada está presente, pero se detecta una falla.

Verde

Sólido

La fuente de alimentación funciona correctamente.

B1 (INP-B1 en la salida de la CLI)

Amarillo

Sólido

Una de las siguientes opciones:

  • La fuente de alimentación está apagada.

  • Hay voltaje de entrada.

  • El voltaje de entrada está presente, pero se detecta una falla.

Verde

Sólido

La fuente de alimentación funciona correctamente.

OK (Potencia OK)

Verde

Sólido

La fuente de alimentación funciona correctamente.

Verde Parpadeando

La fuente de alimentación funciona correctamente, pero hay una discrepancia en el interruptor DIP correspondiente.

Ejemplo: Si A0 está recibiendo alimentación de entrada pero el interruptor DIP correspondiente 0 no está encendido, el LED parpadeará en verde.

Amarillo

Parpadeando

La salida de la fuente de alimentación ha detectado un fallo.

Apagado

Desactivado

La fuente de alimentación está apagada.

! (Falta)

Rojo

Sólido

La fuente de alimentación ha fallado y debe ser reemplazada.

Apagado

Desactivado

La fuente de alimentación funciona normalmente.

Nota: El estado de PSM permanece en línea durante la falla del recurso compartido actual. Cuando se produce un fallo en el uso compartido de corriente en dispositivos con fuentes de alimentación de tercera generación, el sistema no indica el fallo en el LED ni cambia el estado del módulo de fuente de alimentación (PSM) a Fault. En cambio, el sistema mantiene el estado de PSM en línea y activa una alarma.