Chasis ACX710
Panel de administración de enrutadores ACX710
El panel de administración de los enrutadores ACX710 se encuentra en la parte frontal del enrutador junto con los puertos de interfaz. La figura 1 muestra los componentes del panel de administración en un enrutador ACX710.
ACX710
|
1
—
Puerto TOD (RJ-45) |
5
—
Puerto de consola (RJ-45) |
|
número arábigo
—
Puerto de E/S (RJ-45) |
6
—
Puerto LMT (RJ-45) |
|
3
—
Puerto USB |
7
—
Puerto BITS (RJ-48C) |
|
4
—
Leds |
El panel de administración de un enrutador ACX710 muestra el número de producto del enrutador y consta de los siguientes componentes:
-
LED de estado
-
Puerto RJ-45 1PPS+TOD (UIT-T G.703 Amd1) para conectarse a un dispositivo externo de hora del día (TOD). Consulte Conectar un dispositivo a la hora del día al enrutador ACX710.
-
Puerto de alarma RJ-45 para tres contactos de alarma de entrada y uno de salida. Consulte Conectar un enrutador ACX710 a dispositivos de alarma externos.
-
Puerto USB para actualizaciones de imágenes
-
Puerto de consola RJ-45 (CON) para conectar el dispositivo a una consola de administración o a un servidor de consola. Consulte Conectar un enrutador ACX710 a una consola de administración.
-
Puerto RJ-45 (LMT) para conectar el dispositivo a una red para administración fuera de banda. Consulte Conectar un enrutador ACX710 a una red para administración fuera de banda.
-
Puerto RJ-48C (BITS) para entrada/salida de 2,048 MHz, E1/T1 (BITS). Consulte Conexión de un dispositivo de reloj externo T1 o E1 al enrutador ACX710.
Panel de puertos de los enrutadores ACX710
El panel de puertos de un enrutador ACX710 tiene las siguientes configuraciones de puertos:
-
Veinticuatro puertos de 10 GbE o 1 GbE (puertos 0 a 23) que funcionan a una velocidad de 10 Gbps cuando se utilizan transceptores conectables plus de factor de forma pequeño (SFP+) o a una velocidad de 1 Gbps cuando se utilizan ópticas conectables de factor de forma pequeño (SFP). Los puertos del 0 al 15 también admiten una velocidad de 1000 Mbps cuando se utilizan ópticas SFP de tres velocidades. Los puertos 16 a 23 admiten velocidades de 100 Mbps y 1000 Mbps cuando se utiliza óptica SFP de tres velocidades.
-
Cuatro puertos de 100 GbE (puertos 0 a 3) que admiten transceptores quad de factor de forma pequeño conectables 28 (QSFP28). Puede canalizar estos puertos en cuatro interfaces de 25 Gbps mediante cables de conexión y configuración de canalización. Estos puertos también admiten velocidades de 40 Gbps cuando se utilizan ópticas quad de factor de forma pequeño conectable plus (QSFP+). Puede canalizar estos puertos de 40 Gbps en cuatro interfaces de 10 Gbps mediante cables de conexión y configuración de canalización.
La figura 2 muestra el panel de puertos en un enrutador ACX710.
|
1
—
Puertos 1GbE/10GbE (24 puertos SFP o SFP+) |
número arábigo
—
Puertos de 40 GbE/100 GbE (4 puertos QSFP+ o QSFP28) |
Ver también
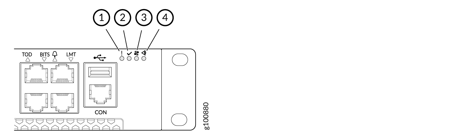
LED de estado del chasis en enrutadores ACX710
Los enrutadores ACX710 tienen cuatro LED de estado del chasis en la parte frontal del chasis.
ACX710
|
1
—
LED de falla |
3
—
LED del ventilador |
|
número arábigo
—
LED operativo |
4
—
LED de estado |
La Tabla 1 describe los LED de estado del chasis en los enrutadores ACX710, sus colores y estados, y el estado que indican.
| Nombre |
Color |
Estado |
Descripción |
|---|---|---|---|
| Culpa |
Canchas |
Apagado |
El enrutador está detenido o no hay alarma. |
| Rojo |
Encendido constante |
Se produjo un fallo de hardware importante, como una alarma de temperatura o un fallo de alimentación, y el enrutador se detuvo. Apague el enrutador colocando la toma de corriente en la posición de apagado (O) y desenchufando los cables de alimentación. Corrija cualquier problema de voltaje o temperatura del sitio, y permita que el enrutador se enfríe. |
|
| Operacional |
Canchas |
Apagado |
El enrutador está apagado o detenido. |
| Verde |
Encendido constante |
El enrutador está encendido o en funcionamiento. |
|
| Abanicar |
Canchas |
Apagado |
El módulo del ventilador funciona normalmente. El sistema ha verificado que el módulo esté activado, que el flujo de aire esté en la dirección correcta y que el ventilador funcione correctamente. |
| Amarillo |
Encendido constante |
Se ha detectado un error en el módulo del ventilador. Reemplace la bandeja del ventilador lo antes posible. O el ventilador ha fallado o está colocado incorrectamente. Para mantener un flujo de aire adecuado a través del chasis, deje la bandeja del ventilador instalada en el chasis hasta que esté listo para reemplazarla. |
|
| Estado |
Canchas |
Apagado |
No hay alarmas importantes o críticas en el sistema. |
| Amarillo |
Encendido constante |
Hay una alarma importante o crítica en el sistema. |
Ver también
LED de puerto de red en enrutadores ACX710
El color y el estado del LED del puerto de red en un enrutador ACX710 indican la actividad del vínculo y el estado de los puertos de red.
En la Tabla 2 se describe cómo interpretar el color y el estado del LED del puerto de red.
| Color |
Estado |
Descripción |
|---|---|---|
| Apagado |
Canchas |
No hay ningún vínculo en el puerto. |
| Verde |
Intermitente |
Se establece un vínculo y hay actividad de vínculo. |
| Encendido constante |
Se establece un vínculo, pero no hay actividad de vínculo. |
Etiquetas de seguridad en enrutadores ACX710
El panel frontal de los enrutadores ACX710 muestra etiquetas de seguridad.
La Tabla 3 describe cómo interpretar las etiquetas de seguridad.
| Símbolo |
Descripción |
|---|---|
|
|
Le avisa de que el dispositivo emite radiación láser visible o invisible y de que debe evitar cualquier exposición directa al rayo láser. |
|
|
Indica que debe usar una correa para la muñeca ESD para evitar daños en el equipo por descarga electrostática. |
|
|
Le avisa de la presencia de superficies calientes en el dispositivo. Tenga cuidado al manipular el dispositivo. |
|
|
Le avisa del riesgo de descarga eléctrica. |
|
|
Indica que debe tener cuidado al utilizar el dispositivo. |
|
|
Le avisa para que mantenga su distancia de las aspas del ventilador en movimiento. |
|
|
Indica que el enchufe de red debe desconectarse en caso de mal funcionamiento o cuando se deja desatendido. |






