打开和安装 QFX5220
QFX5220 开箱
QFX5220 机箱是一个刚性钣金结构,用于容纳硬件组件。QFX5220 装在纸板箱中发货,并用泡沫包装材料固定。
QFX5220 在装运纸箱内得到了最大程度的保护。在准备好开始安装之前,请勿打开交换机的包装。
要打开 QFX5220 的包装,请执行以下操作:
- 将装运纸箱移至尽可能靠近安装地点的暂存区域,但要有足够的空间卸下系统组件。
- 放置纸箱,使箭头朝上。
- 打开装运纸箱的顶部翻盖。
- 拉出将开关固定到位的包装材料。
- 根据包装盒中包含的库存验证内容物。表 1 列出了 QFX5220-32CD 随附的组件库存,表 2 列出了 QFX5220-128C 随附的组件库存。
- 请保存好运输纸箱和包装材料,以备日后需要移动或运送交换机时使用。
| 组件 |
数量 |
|---|---|
| 机箱 |
1 |
| 风扇模块 |
6、出厂安装 |
| 电源
|
2、出厂安装 |
| 机架安装套件 - QFX5K-4PST-RMK-E QFX5K-4PST-RMK-E 机架安装套件由以下部分组成:
备用机架安装套件订单号:
|
1 |
| 机架安装装配图 |
1 |
| 带 IEC 连接器的电源线 |
2 |
| 文档路线图卡 |
1 |
| 保修政策 |
1 |
- RJ-45 到 DB-9 适配器 (JNP-CBL-RJ45-DB9)
- RJ-45 转 USB-A 适配器 (JNP-CBL-RJ45-USBA)
- RJ-45 转 USB-C 适配器 (JNP-CBL-RJ45-USBC)
如果您想使用 RJ-45 到 USB-A 或 RJ-45 到 USB-C 适配器,您的 PC 上必须安装 X64(64 位)虚拟 COM 端口 (VCP) 驱动程序。看, https://ftdichip.com/drivers/vcp-drivers/ 下载驱动程序。
| 组件 |
数量 |
|---|---|
| 机箱 |
1 |
| 风扇模块,QFX5220-128C-FANAO |
6、出厂安装 |
| 电源。JPSU-1600W-AC-AFO |
4、出厂安装 |
| 适用于 QFX5220-128C 的机架安装套件
备用机架安装套件的订单号为 QFX5220-4PRMK-4U。 |
1
|
| EMI 前面板 备用 EMI 前面板的订单号为 QFX5220-141-EMI-DR |
1 |
| C13 交流电源线,带适合您所在地理位置的插头(仅限交流系统) |
2 |
| 文档路线图卡 |
1 |
| 保修政策 |
1 |
更新基本安装数据
如果对安装基数进行任何添加或更改,或者安装基数已移动,请更新安装基数数据。对于装机量数据不准确的产品,瞻博网络不对不符合硬件更换 SLA 的要求负责。
在 https://supportportal.juniper.net/s/CreateCase 更新您的安装基础。
开始机架安装之前
开始在机架或机柜中安装 QFX5220 交换机之前:
QFX5220 需要两个人进行安装,一个人将设备提升到位,另一个人将设备连接到机架上。如果要安装 60 英寸以上的 QFX5220(152.4 厘米)离地,您可以在尝试安装设备之前卸下电源和风扇模块以尽量减轻重量。
如果要在机架上安装多个设备,请先将设备安装在机架的最低位置。继续从机架底部安装到顶部的其余设备,以最大程度地降低机架倾倒的风险。
使用 QFX5220-32CD-4PRMK 机架安装套件将 QFX5220-32CD 安装到机架或机柜中
只能将 QFX5220-32CD 交换机安装在四柱 19 英寸上。机架或机柜,使用交换机随附的机架安装套件。机架安装套件可适用于仅四柱机架安装或机架和机柜安装。四柱安装通过所有四个角均匀地支撑交换机。
对于四柱机架或机柜安装,QFX5220-32CD-4PRMK 安装套件包含两个前安装导轨组件和两个与前安装导轨匹配的后安装刀片。此配置允许交换机的任一端与机架齐平安装,并且仍可针对不同深度的机架进行调整。
前机架导轨和后机架导轨的间距必须介于 28 英寸之间。(71.1 厘米)和 36 英寸(91.4 厘米)从前至后。
本主题将介绍如下内容:
使用 QFX5220-32CD-4PRMK 机架安装套件将 QFX5220-32CD 安装到四柱机架中
要使用提供的 QFX5220-32CD-4PRMK 机架安装套件将 QFX5220-32CD 安装到四柱机架上:
适用于 QFX5220-32CD 的四柱机柜安装
您可以将 QFX5220-32CD 安装在机柜内的四柱机架上。对于机柜安装,您需要重新配置提供的安装导轨。安装导轨需要从齐平安装改为后退设计,以便在机柜中留出空间进行网络布线。对四柱机柜安装使用以下过程:
使用 QFX5K-4PST-RMK-E 机架安装套件将 QFX5220-32CD 安装到机架中
您可以将 QFX5220-32CD 交换机安装在方孔或螺纹孔四柱 19 英寸上。机架使用部分免工具 QFX5K-4PST-RMK-E 机架安装套件,可作为备件提供。
QFX5K-4PST-RMK-E 机架安装套件由以下部分组成:
-
一对前后安装导轨
-
一对安装支架
-
16 平头 M4 x 6 毫米十字螺钉
-
一对垫片
四柱安装通过所有四个角均匀地支撑设备。
使用 QFX5K-4PST-RMK-E 机架安装套件将设备安装在方孔机架上
确保您有以下可用的工具和零件:
-
ESD 接地带 - 未提供。
-
2 号十字 (+) 螺丝刀 - 未提供
-
一对前后安装导轨。这些安装导轨连接到机架安装套件随附的前机架柱和后机架柱
-
一对侧面安装支架和 16 个平头 M4 x 6 毫米十字螺钉。如果这些托架未预安装,则可连接到设备上(机架安装套件随附)
-
一对垫片 — 机架安装套件随附
要使用 QFX5K-4PST-RMK-E 机架安装套件将设备安装在机架的四个柱子上:
使用 QFX5K-4PST-RMK-E 机架安装套件将设备安装在带螺纹孔的机架上
确保您有以下可用的工具和零件:
-
ESD 接地带 - 未提供。
-
2 号十字 (+) 螺丝刀 - 未提供
-
一对前后安装导轨。这些安装导轨连接到机架安装套件随附的前机架柱和后机架柱
-
一对侧面安装支架和 16 个平头 M4 x 6 毫米十字螺钉。如果这些托架未预安装,则可连接到设备上(机架安装套件随附)
-
一对垫片 — 机架安装套件随附
要将设备安装在带螺纹孔的四柱机架上:
使用 QFX5220-4PRMK-4U 机架安装套件,将 QFX5220-128C 安装到四柱机架中
您只能将 QFX5220-128C 交换机安装在四柱 19 英寸上。机架或机柜,使用交换机随附的机架安装套件。机架安装套件可适用于仅四柱机架安装或机架和机柜安装。四柱安装通过所有四个角均匀地支撑交换机。
对于四柱机架或机柜安装,QFX5220-141-EMI-DR 安装套件包含两个前安装导轨组件和两个与前安装导轨匹配的后安装刀片。此配置允许交换机的任一端与机架齐平安装,并且仍可针对不同深度的机架进行调整。
前机架导轨和后机架导轨的间距必须介于 28 英寸之间。(71.1 厘米)和 36 英寸(91.4 厘米)从前至后。
要使用提供的机架安装套件将 QFX5220-128C 安装到四柱机架上:
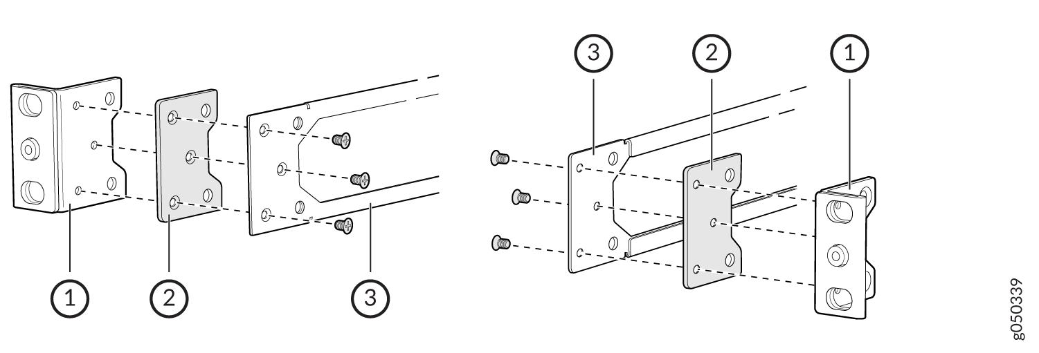
QFX5220-128C 上的 EMI 面板安装
QFX5220-128C 具有 EMI 前面板,可保护光纤布线并提供额外的电磁干扰 (EMI) 保护。五合一。deepEMI 面板直接连接到机架,可以在安装光学器件之前或之后添加。
如果您的系统使用许多 DAC,则可能需要更深的 EMI 门。一个 14 英寸。深度 EMI 面板可作为备用。超深 EMI 面板是 QFX5220-141-EMI-DR。
开始之前,请参阅 图 34 ,并确保您具备以下工具和部件:
-
2 号十字 (+) 螺丝刀(未提供)
-
EMI 面板(提供)
-
右侧安装架(提供)
-
左侧安装架(提供)
-
可选导流板(提供 2 个)
|
1
—
左右安装架 |
3
—
EMI 面板 |
|
2
—
导流板,有助于抑制来自前侧开口的 EMI 辐射 |
以下是 EMI 前面板的安装方法:


































