打开包装并安装 QFX5120 交换机
打开 QFX5120 交换机的包装
我们将QFX5120交换机装在纸板箱中运输,并用泡沫包装材料固定。
QFX5120开关在运输纸箱内得到最大程度的保护。在准备好安装交换机之前,请勿打开交换机包装。
要打开交换机包装,请执行以下作:
- 将装运纸箱移至尽可能靠近安装地点的暂存区域,但要有足够的空间来卸下系统组件。
- 放置纸箱,使纸箱上标记的箭头朝上。
- 打开装运纸箱上的顶部翻盖。
- 拉出将开关固定到位的包装材料。
- 根据纸箱上贴的标签上的库存验证收到的零件。
- 请保存装运纸箱和包装材料,以备日后需要移动或运送交换机时使用。
QFX5120交换机的零件库存(装箱单)
交换机装运包括一份装箱单。根据装箱单中的物品检查您用开关收到的零件。装箱单指定了零件号,并提供了订单中每个零件的描述。发货的部件取决于您订购的交换机型号。
如果装箱单中缺少任何部件,请联系您的客户服务代表,或在美国或加拿大境内致电 1-888-314-5822 联系瞻博网络客户服务。有关没有免费电话号码的国家/地区的国际拨号或直拨选项,请参阅 https://www.juniper.net/support/requesting-support.html。
表 1 列出了QFX5120交换机标准装箱单中的零件及其数量。
| 元件 |
数量 |
|
|---|---|---|
| 开关 |
1 |
|
| 风扇模块 |
QFX5120-32C型 |
6 预装 |
| QFX5120-48T、QFX5120-48Y 和 QFX5120-48YM |
5 预装 |
|
| 电源 |
2(交流或直流)预装 |
|
| 适合您所在地理位置的交流电源线,适用于交流供电型号 |
2 |
|
| 四柱机架安装套件 - QFX5120-48T、QFX5120-48Y 和 QFX5120-48YM |
机架安装套件 - JNP-4PST-RMK-1U-E (部分免工具RMK) JNP-4PST-RMK-1U-E 机架安装套件由以下部件组成:
备件机架安装套件订购号
|
1 |
| 四柱免工具机架安装套件 - QFX5120-32C |
QFX5120-32C-RMK-E 机架安装套件 - QFX5120-32C-RMK-E (免工具RMK) QFX5120-32C-RMK-E 机架安装套件由以下部件组成:
|
1 |
| 文档路线图 |
1 |
|
| 最终用户许可协议 |
1 |
|
- RJ-45 到 DB-9 适配器 (JNP-CBL-RJ45-DB9)
- RJ-45 转 USB-A 适配器 (JNP-CBL-RJ45-USBA)
- RJ-45 转 USB-C 适配器 (JNP-CBL-RJ45-USBC)
如果要使用 RJ-45 转 USB-A 或 RJ-45 转 USB-C 适配器,则必须在 PC 上安装 X64(64 位)虚拟 COM 端口 (VCP) 驱动程序。请参阅, https://ftdichip.com/drivers/vcp-drivers/ 下载驱动程序。
您必须提供相应的安装螺钉,以便将交换机安装在机架或机柜上。
所有机架安装套件均需单独订购。
| 型号 | 机架安装套件 |
|---|---|
| QFX5120-32C型 |
|
| QFX5120-48YM |
|
| QFX5120-48T |
|
| QFX5120-48Y |
|
更新基本安装数据
如果对安装基础进行任何添加或更改,或者如果安装基础已移动,请更新安装基础数据。对于没有准确装机量数据的产品,如不符合硬件更换 SLA,瞻博网络概不负责。
在 https://supportportal.juniper.net/s/CreateCase 更新您的安装基础。
将 QFX5120-32C 交换机安装在四柱机架上
安装 QFX5120-32C 交换机之前:
-
验证站点是否满足 QFX5120交换机的站点准备清单中所述的要求。
-
将机架放置在其永久位置,为气流和维护留出足够的间隙,并将机架固定在建筑结构上。
-
确保您已采取必要的预防措施来防止静电放电 (ESD) 损坏(请参阅 防止静电放电损坏)。
-
从装运箱中取出交换机(请参阅 拆开 QFX5120 交换机的包装)。
确保您拥有以下可用的部件和工具:
-
2 号十字 (+) 螺丝刀 - 未提供
-
八颗螺钉用于将安装支架固定到机架上 - 未提供
-
静电放电 (ESD) 接地带 - 未提供
-
前安装支架 - 2(随机架安装套件提供)
-
侧面安装导轨 - 2(随机架安装套件提供)
-
用于将前安装支架和侧面安装导轨连接到交换机机箱的平头 M4X8 螺钉 — 20(随机架安装套件提供)
-
后部安装(L 形)支架 - 2(随机架安装套件提供)
-
盘头 M4X8 螺钉,用于将后安装支架连接到侧面安装导轨 - 2(随机架安装套件提供)
您可以将 QFX5120-32C 开关安装在 19 英寸的四个柱子上。机架或包含四柱 19 英寸的机柜中。使用机架安装套件进行机架安装。(本主题的其余部分使用机架来表示机架或机柜。)
必须有一人能够提起交换机,而另一人将交换机固定到机架上。
如果要在一个机架上安装多个设备,请将最重的设备安装在机架底部,然后按设备重量的递减顺序将其他设备从机架底部安装到顶部。
要安装 QFX5120-32C 交换机,请执行以下作:
将 QFX5120-32C 交换机安装在双柱机架上
将 QFX5120-32C 交换机安装到两柱机架上的之前:
-
验证站点是否满足 QFX5120交换机的站点准备清单中所述的要求。
-
将机架放置在其永久位置,为气流和维护留出足够的间隙,并将机架固定在建筑结构上。
-
确保您已采取必要的预防措施来防止静电放电 (ESD) 损坏(请参阅 防止静电放电损坏)。
-
从装运箱中取出交换机(请参阅 拆开 QFX5120 交换机的包装)。
确保您拥有以下可用的部件和工具:
-
2 号十字 (+) 螺丝刀 - 未提供
-
八颗螺钉用于将安装支架固定到机架上 - 未提供
-
静电放电 (ESD) 接地带 - 未提供
-
双柱机架安装支架,用于将交换机安装在双柱机架上 - 2(随附双柱机架安装套件)
-
平头 4x6 毫米十字螺钉,用于将两柱机架安装支架连接到机箱 - 8(随附双柱机架安装套件)
您可以将QFX5120开关安装在四柱 19 英寸的四柱上。机架或包含四柱 19 英寸的机柜中。机架,与前柱齐平,使用四柱机架安装套件。(本主题的其余部分使用机架来表示机架或机柜。)您可以使用嵌入式安装支架将 QFX5120-48T、QFX5120-48Y 和 QFX5120-48YM 交换机安装在四柱机架内的嵌入位置。您还可以使用单独订购的两柱机架安装套件将 QFX5120-48YM 交换机安装在两柱机架上。
必须有一人能够提起交换机,而另一人将交换机固定到机架上。
如果要在一个机架上安装多个设备,请将最重的设备安装在机架底部,然后按设备重量的递减顺序将其他设备从机架底部安装到顶部。
要将 QFX5120-32C 交换机安装在两柱机架上:
使用 QFX5120-32C-RMK-E 机架安装套件安装 QFX5120-32C
使用本主题中的信息,通过 QFX5120-32C-RMK-E 机架安装套件安装 QFX5120-32C。
您可以将 QFX5120-32 开关安装在方孔或螺纹孔四柱 19 英寸上。机架使用的工具较少 QFX5120-32C-RMK-E 机架安装套件。
QFX5120-32C-RMK-E 机架安装套件由以下部件组成:
-
一对连接到机箱的侧面安装支架
-
一对连接到机架柱的前后安装导轨
四柱安装通过所有四个角均匀地支撑设备。
安装 QFX5120-32C 交换机之前:
-
验证站点是否满足 QFX5120交换机的站点准备清单中所述的要求。
-
将机架放置在其永久位置,为气流和维护留出足够的间隙,并将机架固定在建筑结构上。
-
确保您已采取必要的预防措施来防止静电放电 (ESD) 损坏(请参阅 防止静电放电损坏)。
-
从装运箱中取出交换机(请参阅 拆开QFX5120交换机的包装)。
- 使用 QFX5120-32C-RMK-E 机架安装套件将 QFX5120-32C 安装在方孔 4 柱机架上
- 使用 QFX5120-32C-RMK-E 机架安装套件安装在螺纹孔 4 柱机架上,将 QFX5120-32C 安装在 4 柱机架上
使用 QFX5120-32C-RMK-E 机架安装套件将 QFX5120-32C 安装在方孔 4 柱机架上
确保您拥有以下可用工具和部件:
-
ESD 接地带 - 未提供。
-
QFX5120-32C-RMK-E 机架安装套件
要将设备安装在四柱机架上:
使用 QFX5120-32C-RMK-E 机架安装套件安装在螺纹孔 4 柱机架上,将 QFX5120-32C 安装在 4 柱机架上
确保您拥有以下可用工具和部件:
-
ESD 接地带 - 未提供。
-
QFX5120-32C-RMK-E 机架安装套件
要将设备安装在带螺纹孔的四柱机架上:
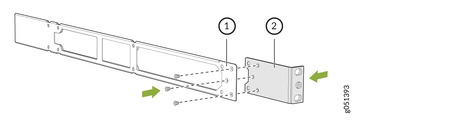
使用 JNP-4PST-RMK-1U-E 机架安装套件,将 QFX5120-48T、QFX5120-48Y 或 QFX5120-48YM 交换机安装在机架或机柜中
您可以将 QFX5120-48T、QFX5120-48Y 或 QFX5120-48YM 开关安装在方孔或螺纹孔四柱 19 英寸上。机架采用部分刀具较少的 JNP-4PST-RMK-1U-E 机架安装套件。
JNP-4PST-RMK-1U-E 机架安装套件由以下部件组成:
-
一对前后安装导轨
-
一对安装支架
-
16 个平头 M4 x 6mm 十字螺丝
四柱安装通过所有四个角均匀地支撑设备。
使用 JNP-4PST-RMK-1U-E 机架安装套件将设备安装在方孔机架上
确保您拥有以下可用工具和部件:
-
ESD 接地带 - 未提供。
-
2 号十字 (+) 螺丝刀 - 未提供
-
一对连接到机架柱的前后安装导轨 — 随机架安装套件提供
-
一对安装支架和 16 个平头 M4 x 6mm 十字螺钉。如果未预安装,这些托架会连接到设备 — 随机架安装套件提供
要使用 JNP-4PST-RMK-1U-E 机架安装套件将设备安装在机架上的四个柱子上:
使用 JNP-4PST-RMK-1U-E 机架安装套件将设备安装在螺纹孔机架上
确保您拥有以下可用工具和部件:
-
ESD 接地带 - 未提供
-
2 号十字 (+) 螺丝刀 - 未提供
-
一对连接到机架柱的前后安装导轨 — 随机架安装套件提供
-
一对侧面安装支架和 16 个平头 M4 x 6mm 十字螺钉。如果未预安装,这些托架会连接到设备 — 随机架安装套件提供
要使用 JNP-4PST-RMK-1U-E 机架安装套件将设备安装在螺纹孔机架中的四个柱子上:
使用 EX-4PST-RMK 机架安装套件,将 QFX5120-48T、QFX5120-48Y 或 QFX5120-48YM 交换机与机架或机柜的前柱齐平安装
QFX5120-48T、QFX5120-48Y 和 QFX5120-48YM 交换机上的保护接地端子与机架前柱齐平安装,只有当前柱和后柱之间的距离为 23 英寸时,才能通过左后支架上的插槽进入。(58.5 厘米)至 30.25 英寸(76.8 厘米)。
安装 QFX5120-48T、QFX5120-48Y 或 QFX5120-48YM 交换机之前:
-
验证站点是否满足 QFX5120交换机的站点准备清单中所述的要求。
-
将机架放置在其永久位置,为气流和维护留出足够的间隙,并将机架固定在建筑结构上。
-
确保您已采取必要的预防措施来防止静电放电 (ESD) 损坏(请参阅 防止静电放电损坏)。
-
从装运箱中取出交换机(请参阅 拆开QFX5120交换机的包装)。
确保您拥有以下可用的部件和工具:
-
2 号十字 (+) 螺丝刀 - 未提供
-
八颗螺钉用于将安装支架固定到机架上 - 未提供
-
静电放电 (ESD) 接地带 - 未提供
-
前安装支架组件,用于将交换机与机架 - 2 的前柱齐平安装(随四柱机架安装套件一起提供)
(前安装支架组件由一个侧导轨组成,侧导轨上连接着一个 L 形支架。
-
平头 4x6 毫米十字螺钉,用于将前安装支架连接到机箱 - 12(随附四柱机架安装套件)
-
后安装支架 - 2(随四柱机架安装套件提供)
您可以将QFX5120开关安装在四柱 19 英寸的四柱上。机架或包含四柱 19 英寸的机柜中。机架,与前柱齐平,使用四柱机架安装套件。(本主题的其余部分使用机架来表示机架或机柜。)您可以使用嵌入式安装支架将 QFX5120-48T、QFX5120-48Y 和 QFX5120-48YM 交换机安装在四柱机架内的嵌入位置。您还可以使用单独订购的两柱机架安装套件将 QFX5120-48YM 交换机安装在两柱机架上。
本主题介绍将 QFX5120-48T、QFX5120-48Y 和 QFX5120-48YM 交换机与四柱机架的前柱齐平的安装步骤。如果要将交换机安装在四柱机架前柱的凹陷位置,请参阅 从机架或机柜的前柱将 QFX5120-48T、QFX5120-48Y 或 QFX5120-48YM 交换机安装在凹入位置。如果要在双柱机架上安装 QFX5120-48YM 交换机,请参阅 在双柱机架上安装 QFX5120-48YM 交换机。
必须有一人能够提起交换机,而另一人将交换机固定到机架上。
如果要在一个机架上安装多个设备,请将最重的设备安装在机架底部,然后按设备重量的递减顺序将其他设备从机架底部安装到顶部。
要将 QFX5120-48T、QFX5120-48Y 或 QFX5120-48YM 交换机与四柱机架的前柱齐平安装:
使用 EX-4PST-RMK 机架安装套件,将 QFX5120-48T、QFX5120-48Y 或 QFX5120-48YM 交换机从机架或机柜的前柱安装在凹陷位置
只有当前柱和后柱之间的距离为 25 英寸时,才能通过左后支架上的插槽进入安装在机架前柱凹陷位置的 QFX5120-48T、QFX5120-48Y 和 QFX5120-48YM 上的保护接地端子。(63.5 厘米)至 32.25 英寸(81.9 厘米)。
安装 QFX5120-48T、QFX5120-48Y 或 QFX5120-48YM 交换机之前:
-
验证站点是否满足 QFX5120交换机的站点准备清单中所述的要求。
-
将机架放置在其永久位置,为气流和维护留出足够的间隙,并将机架固定在建筑结构上。
-
确保您已采取必要的预防措施来防止静电放电 (ESD) 损坏(请参阅 防止静电放电损坏)。
-
从装运箱中取出交换机(请参阅 拆开QFX5120交换机的包装)。
确保您拥有以下可用的部件和工具:
-
2 号十字 (+) 螺丝刀 - 未提供
-
八颗螺钉用于将安装支架固定到机架上 - 未提供
-
静电放电 (ESD) 接地带 - 未提供
-
前安装支架组件,用于将交换机与机架 - 2 的前柱齐平安装(随四柱机架安装套件一起提供)
(前安装支架组件由一个侧导轨组成,侧导轨上连接着一个 L 形支架。
-
平头 4x6 毫米十字螺钉,用于将前安装支架连接到机箱 - 12(随附四柱机架安装套件)
-
后安装支架 - 2(随四柱机架安装套件提供)
-
嵌入式安装支架,用于将交换机安装在机架前柱的凹入位置 - 2(随附四柱机架安装套件)
-
平头 4-40 十字螺钉,用于将嵌入式安装支架连接到侧轨—6(随附四柱机架安装套件)
您可以将QFX5120开关安装在四柱 19 英寸的四柱上。机架或包含四柱 19 英寸的机柜中。机架,与前柱齐平,使用四柱机架安装套件。(本主题的其余部分使用机架来表示机架或机柜。)您可以使用嵌入式安装支架将 QFX5120-48T、QFX5120-48Y 和 QFX5120-48YM 交换机安装在四柱机架内的嵌入位置。您还可以使用单独订购的两柱机架安装套件将 QFX5120-48YM 交换机安装在两柱机架上。
本主题介绍将 QFX5120-48T、QFX5120-48Y 和 QFX5120-48YM 交换机从四柱机架的前柱凹入位置安装的过程。如果要将交换机与四柱机架的前柱齐平安装,请参阅将 QFX5120-48T、QFX5120-48Y 或 QFX5120-48YM 交换机与机架或机柜的前柱齐平安装。如果要在双柱机架上安装 QFX5120-48YM 交换机,请参阅 在双柱机架上安装 QFX5120-48YM 交换机。
必须有一人能够提起交换机,而另一人将交换机固定到机架上。
如果要在一个机架上安装多个设备,请将最重的设备安装在机架底部,然后按设备重量的递减顺序将其他设备从机架底部安装到顶部。
要将 QFX5120-48T、QFX5120-48Y 或 QFX5120-48YM 交换机安装在四柱机架前柱的凹陷位置:
将 QFX5120-48Y 交换机安装在两柱机架上
在双柱机架上安装 QFX5120-48Y 交换机之前:
-
验证站点是否满足 QFX5120交换机的站点准备清单中所述的要求。
-
将机架放置在其永久位置,为气流和维护留出足够的间隙,并将机架固定在建筑结构上。
-
确保您已采取必要的预防措施来防止静电放电 (ESD) 损坏(请参阅 防止静电放电损坏)。
-
从装运箱中取出交换机(请参阅 拆开 QFX5120 交换机的包装)。
确保您拥有以下可用的部件和工具:
-
2 号十字 (+) 螺丝刀 - 未提供
-
八颗螺钉用于将安装支架固定到机架上 - 未提供
-
静电放电 (ESD) 接地带 - 未提供
-
双柱机架安装支架,用于将交换机安装在双柱机架上 - 2(随附双柱机架安装套件)
-
平头 4x6 毫米十字螺钉,用于将两柱机架安装支架连接到机箱 - 8(随附双柱机架安装套件)
您可以将QFX5120开关安装在四柱 19 英寸的四柱上。机架或包含四柱 19 英寸的机柜中。机架,与前柱齐平,使用四柱机架安装套件。(本主题的其余部分使用机架来表示机架或机柜。)您可以使用嵌入式安装支架将 QFX5120-48Y 交换机安装在四柱机架内的嵌入位置。您还可以使用单独订购的两柱机架安装套件将 QFX5120-48Y 交换机安装在两柱机架上。
本主题介绍在两柱机架上安装 QFX5120-48Y 交换机的步骤。如果要将交换机与四柱机架的前柱齐平安装,请参阅将 QFX5120-48T、QFX5120-48Y 或 QFX5120-48YM 交换机与机架或机柜的前柱齐平安装。如果要将交换机安装在四柱机架前柱的凹陷位置,请参阅 从机架或机柜的前柱将 QFX5120-48T、QFX5120-48Y 或 QFX5120-48YM 交换机安装在凹入位置。
必须有一人能够提起交换机,而另一人将交换机固定到机架上。
如果要在一个机架上安装多个设备,请将最重的设备安装在机架底部,然后按设备重量的递减顺序将其他设备从机架底部安装到顶部。
要将 QFX5120-48Y 交换机安装在两柱机架上:
将 QFX5120-48T 交换机安装在双柱机架上
在双柱机架上安装 QFX5120-48T 交换机之前:
-
验证站点是否满足 QFX5120交换机的站点准备清单中所述的要求。
-
将机架放置在其永久位置,为气流和维护留出足够的间隙,并将机架固定在建筑结构上。
-
确保您已采取必要的预防措施来防止静电放电 (ESD) 损坏(请参阅 防止静电放电损坏)。
-
从装运箱中取出交换机(请参阅 拆开 QFX5120 交换机的包装)。
确保您拥有以下可用的部件和工具:
-
2 号十字 (+) 螺丝刀 - 未提供
-
八颗螺钉用于将安装支架固定到机架上 - 未提供
-
静电放电 (ESD) 接地带 - 未提供
-
双柱机架安装支架,用于将交换机安装在双柱机架上 - 2(随附双柱机架安装套件)
-
平头 4x6 毫米十字螺钉,用于将两柱机架安装支架连接到机箱 - 8(随附双柱机架安装套件)
您可以将QFX5120开关安装在四柱 19 英寸的四柱上。机架或包含四柱 19 英寸的机柜中。机架,与前柱齐平,使用四柱机架安装套件。(本主题的其余部分使用机架来表示机架或机柜。)您可以使用嵌入式安装支架将 QFX5120-48T 交换机安装在四柱机架内的嵌入位置。您还可以使用单独订购的两柱机架安装套件将 QFX5120-48T 交换机安装在两柱机架上。
本主题介绍在双柱机架上安装 QFX5120-48T 交换机的过程。如果要将交换机与四柱机架的前柱齐平安装,请参阅将 QFX5120-48T、QFX5120-48Y 或 QFX5120-48YM 交换机与机架或机柜的前柱齐平安装。如果要将交换机安装在四柱机架前柱的凹陷位置,请参阅 从机架或机柜的前柱将 QFX5120-48T、QFX5120-48Y 或 QFX5120-48YM 交换机安装在凹入位置。
必须有一人能够提起交换机,而另一人将交换机固定到机架上。
如果要在一个机架上安装多个设备,请将最重的设备安装在机架底部,然后按设备重量的递减顺序将其他设备从机架底部安装到顶部。
要将 QFX5120-48T 交换机安装在两柱机架上:
将 QFX5120-48YM 交换机安装在两柱机架上
在双柱机架上安装 QFX5120-48YM 交换机之前:
-
验证站点是否满足 QFX5120交换机的站点准备清单中所述的要求。
-
将机架放置在其永久位置,为气流和维护留出足够的间隙,并将机架固定在建筑结构上。
-
确保您已采取必要的预防措施来防止静电放电 (ESD) 损坏(请参阅 防止静电放电损坏)。
-
从装运箱中取出交换机(请参阅 拆开 QFX5120 交换机的包装)。
确保您拥有以下可用的部件和工具:
-
2 号十字 (+) 螺丝刀 - 未提供
-
八颗螺钉用于将安装支架固定到机架上 - 未提供
-
静电放电 (ESD) 接地带 - 未提供
-
双柱机架安装支架,用于将交换机安装在双柱机架上 - 2(随附双柱机架安装套件)
-
平头 4x6 毫米十字螺钉,用于将两柱机架安装支架连接到机箱 - 8(随附双柱机架安装套件)
您可以将QFX5120开关安装在四柱 19 英寸的四柱上。机架或包含四柱 19 英寸的机柜中。机架,与前柱齐平,使用四柱机架安装套件。(本主题的其余部分使用机架来表示机架或机柜。)您可以使用嵌入式安装支架将 QFX5120-48YM 交换机安装在四柱机架内的嵌入位置。您还可以使用单独订购的两柱机架安装套件将 QFX5120-48YM 交换机安装在两柱机架上。
本主题介绍在双柱机架上安装 QFX5120-48YM 交换机的过程。如果要将交换机与四柱机架的前柱齐平安装,请参阅将 QFX5120-48T、QFX5120-48Y 或 QFX5120-48YM 交换机与机架或机柜的前柱齐平安装。如果要将交换机安装在四柱机架前柱的凹陷位置,请参阅 从机架或机柜的前柱将 QFX5120-48T、QFX5120-48Y 或 QFX5120-48YM 交换机安装在凹入位置。
必须有一人能够提起交换机,而另一人将交换机固定到机架上。
如果要在一个机架上安装多个设备,请将最重的设备安装在机架底部,然后按设备重量的递减顺序将其他设备从机架底部安装到顶部。
要将 QFX5120-48YM 交换机安装在两柱机架上:


































































