Help us improve your experience.

Let us know what you think.

Do you have time for a two-minute survey?

 
 

MX10K-LC9600

MX10K-LC9600(型号:JNP10K-LC9600)是一款固定配置的 24 端口线卡,可提供 9.6 Tbps 的线速吞吐量。该线卡有 24 个 QSFP 端口,每个端口能够支持高达 400 Gbps 的速度。

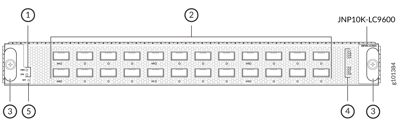
图 1:MX10K-LC9600 MX10K-LC9600
1

电源 (PWR) 和状态 (STS) LED

4

通道 LED

阿拉伯数字

QSFP 端口

5

离线 (OFF) 按钮

3

顶出手柄

 

MX10K-LC9600 线卡结合了基于瞻博网络定制 ASIC 的数据包转发引擎。线卡有六个转发 ASIC,每个承载两个数据包转发引擎。线卡具有 12 个数据包转发引擎,每个引擎提供 800 Gbps 的最大带宽。

您可以使用分支电缆将端口通道化为 400 Gbps、200 Gbps、100 Gbps、50 Gbps、40 Gbps、25 Gbps 或 10 Gbps 的速度。

9.6-Tbps 线卡设计为仅与以下组件一起运行:

  • JNP10004-SF2 和 JNP10008-SF2 交换矩阵

  • JNP10K-PWR-AC3、JNP10K-PWR-AC2、JNP10K-PWR-DC3、JNP10K-PWR-AC3H 或 JNP10K-PWR-DC2 电源

  • JNP10008-FAN3 或 JNP10008-FAN2 风扇托架

  • JNP10008-FTC3 或 JNP10008-FTC2 风扇托架控制器

  • JNP10004-FAN3 或 JNP10004-FAN2 风扇托架

  • JNP10004-FTC3 或 JNP10004-FTC2 风扇托架

注意:

MX10K-LC9600 线卡上的结构连接器对碎屑堆积非常敏感。连接器与 JNP10004-SF2 SFB 和 JNP10008-SF2 SFB 上的连接器连接。连接器必须保持清洁,无灰尘和其他颗粒,以确保 MX10K-LC9600 线卡与 JNP10004-SF2 SFB 和 JNP10008-SF2 SFB 之间的高质量连接。

MX10K-LC9600 线卡在瞻博网络 JNP10K-LC9600 硬件上运行瞻博网络 Junos OS 软件。MX10K-LC9600 水平插入机箱正面的 MX10004 和 MX10008 路由器。

MX10K-LC9600 线卡上的交换矩阵接口连接器预装了保护性塑料防尘罩。该盖子可保持连接器清洁,无灰尘和其他颗粒。在路由器中安装线卡之前,请先取下防尘盖。保留塑料盖,以备将来从路由器上卸下线卡时重新安装。

MX10K-LC9600 线卡上的 WAN 端口还预装了保护性塑料防尘罩。这些盖子保持端口清洁,没有灰尘和其他颗粒。将这些盖板安装在光学模块未占用的任何端口中。

软件发布

  • 安装在 MX10008 中的 Junos OS 21.4R1 及更高版本。

  • Junos OS 22.3R1 及更高版本(安装在 MX10004 中时)。

描述

  • 型号:JNP10K-LC9600

  • CLI 中的名称: JNP10K-LC9600

  • 重量:27 磅(12.24 千克)

  • 尺寸:高度 = 1.89 英寸。(48.01 毫米),宽度 = 17.2 英寸(436.88 毫米),深度 = 19.05 英寸。(484 毫米)(不包括 FRU 弹出器)

硬件功能

  • 固定配置线卡,具有 400 Gbps、200 Gbps、100 Gbps、50 Gbps、40 Gbps、25 Gbps 或 10 Gbps 端口速度。

  • 提供高达 9.6 Tbps 的线速吞吐量。

  • 包括 12 个数据包转发引擎,每个引擎允许最大 800 Gbps 的带宽。

  • 与 JNP10004-SF2 和 JNP10008-SF2 交换机结构板兼容。

  • 与 MX10K-LC2101 和 MX10K-LC480 线卡互作。

  • 可与 JNP10K-RE1、JNP10K-RE1-LT 和 JNP10K-RE1-128 配合使用;JNP10K-RE3、JNP10K-RE3-LT、JNP10K-RE3-256 和 JNP10K-RE3LT256路由和控制板。

  • 仅在使用以下电源和风扇托架时运行:

    • JNP10K-PWR-AC3

    • JNP10K-PWR-AC2

    • JNP10K-PWR-DC3

    • JNP10K-PWR-DC2

    • JNP10K-PWR-AC3H

    • JNP10008-FAN3

    • JNP10008-FTC3

    • JNP10008-FAN2

    • JNP10008-FTC2

    • JNP10004-FAN3

    • JNP10004-FTC3

    • JNP10004-FAN2

    • JNP10004-FTC2

  • 支持中转流量和主机绑定数据包的最大传输单元 (MTU) 为 16,000 字节。

软件功能

  • 支持端口级别的速率选择。

  • 默认情况下,端口配置为 400 千兆以太网端口。

  • 仅使用 100 千兆以太网端口时,可通过低功耗模式 EM 策略配置文件降低噪音。

  • 支持光学诊断和相关报警。

电源要求

当所有端口均配置为 400 Gbps 速度时,不同温度下的功耗:

  • 25° C:1655 W

  • 40° C:1770 W

LED 指示

压水堆 LED 指示

  • 绿色常亮 — 线卡电源正常。
  • 红色常亮 — 线卡开机失败。
  • 脱机 — 线卡未通电。

STS LED 指示

  • 绿色常亮(当信标或端口位置打开时呈绿色闪烁)— 线卡处于联机状态。
  • 绿色闪烁 — 线卡正在启动。
  • 红色常亮(当信标或端口位置打开时呈红色闪烁)— 线卡出现故障或已发出告警。
  • 脱机 — 线卡已禁用或脱机。

端口 LED

  • 关闭 — 端口没有收发器模块。
  • 绿色常亮(当信标或端口位置打开时呈绿色闪烁)— 端口链路已开通,没有报警或故障。
  • 琥珀色常亮(当信标或端口位置打开时呈琥珀色闪烁)— 端口链路已关闭,因为端口已通过 CLI 禁用,或者端口遇到错误,如信号丢失、本地故障或远程故障。

通道 LED

  • 相应端口的通道 LED 指示端口状态。

  • 与端口状态 LED 一样,每个单独的通道 LED 支持四种状态:关闭、琥珀色、绿色和红色。

电缆和连接器

提示:

您可以使用 硬件兼容性工具 查找有关瞻博网络设备支持的可插拔收发器的信息。

有关 MX 系列支持的收发器列表,请参阅 MX 系列支持的收发器