SSR1200 Chassis
Front Panel of an SSR1200
Figure 1 shows the front panel of an SSR1200. The SSR1200 comes with a claim code that you can use to onboard the SSR1200 to Juniper Mist.
1 — Chassis LEDs | 6 — 1/10 GbE SFP+ ports (1/0 through 1/3) |
2 — LCD screen | 7 — 1 GbE Ethernet ports (0/0 through 0/6) |
3 — RESET button | 8 — Console port |
4 — USB 3.0 ports | 9 — Claim code |
5 — 1 GbE management port (for Mist operations) | 10 — Navigation buttons for LCD screen (reserved for future use) |
Rear Panel of an SSR1200
Figure 2 shows the rear panel of an SSR1200.
1 — Earth grounding | 4 — Fans |
2 — AC power supply units | 5 — ESD point |
3 — Power switch |
Chassis Physical Specifications for SSR1200
Table 1 summarizes the physical specifications of SSR1200.
| Model | Height | Width | Depth | Weight |
|---|---|---|---|---|
| SSR1200 | 44 mm | 438 mm | 431 mm | 16.5 kg (36.38 lbs.) |
Chassis Status LEDs
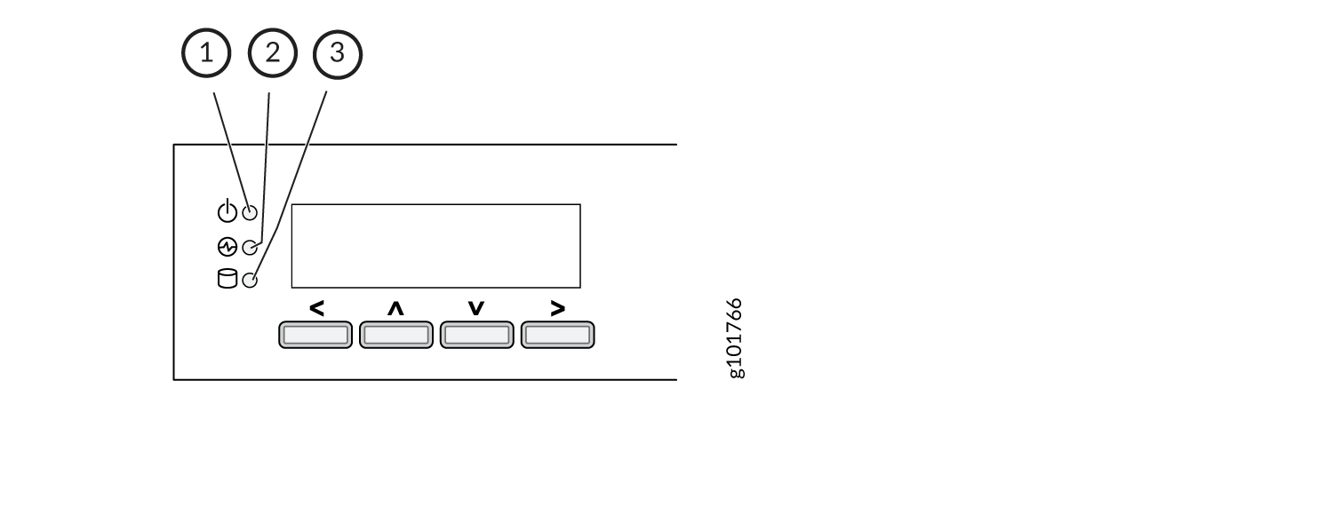
Figure 3 shows the chassis status LEDs on the front panel, and Table 2 describes the LEDs.
| Callout | LED | Description |
|---|---|---|
| 1 | Power |
|
| 2 | Status |
|
| 3 | SSD |
|
Network Port LEDs
Each network port uses two LEDs to indicate the link activity and speed. Figure 4 shows the location of the LEDs on the SSR1200. Table 3 describes the LEDs on the Ethernet ports and Table 4 describes the LEDs on the SFP+ ports.
| Callout | LED | Description |
|---|---|---|
| 1 | Link Activity (LED on the left) |
|
| 2 | Speed (LED on the right) |
|
| Callout | LED | Description |
|---|---|---|
| 1 | Link Activity (LED on the left) |
|
| 2 | Speed (LED on the right) |
|
Cooling System
The cooling system of the SSR1200 consists of two fixed fans. The fan controller on the appliance monitors the temperature of the chassis and adjusts the fan speed according to the temperature. The SSR1200 appliances have front-to-back airflow. The air is pulled in through the front of the chassis toward the fan modules, from where it is exhausted out of the chassis. The fans are not field-replaceable.
Power System
The SSR1200 appliance ships with two AC power supply units (1+1 redundancy) preinstalled. Each power supply unit is a hot-removable and hot-insertable field-replaceable unit (FRU) when the second power supply is installed and running. You can remove and replace either one of them without powering off the appliance or disrupting the appliance functions.
If both power supply units are installed, and if only one power supply unit is connected to the power source, the appliance raises an alarm.
Each power supply has its own fan and is cooled by its own internal cooling system.
Table 5 lists the power specifications for the SSR1200 appliance.
| Model | AC Input Voltage (Operating Range) | AC Input Line Frequency | AC Input Current Rating | Maximum Power Consumption | Power Supply Type |
|---|---|---|---|---|---|
| SSR1200 | 100–240 VAC | 50–60 Hz | 3–5 A | 300 W | External, hot swappable |
AC Power Cord Specifications for SSR1200
We ship detachable region-specific AC power cords with the chassis. The coupler is type C13 as described by International Electrotechnical Commission (IEC) standard 60320. The plug end of the power cord fits into the power source outlet that is standard for your geographical location.
Table 6 lists the AC power cords specifications provided for the power supplies for each country or region.
|
Country/Region |
Electrical Specifications |
Plug Standards |
Juniper Model Number |
Graphic |
|---|---|---|---|---|
|
Argentina |
250 VAC, 10 A, 50 Hz |
IRAM 2073 Type RA/3 |
CBL-EX-PWR-C13-AR |
No graphic available |
|
Australia |
250 VAC, 10 A, 50 Hz |
AS/NZS 3112 Type SAA/3 |
CBL-EX-PWR-C13-AU |
|
|
Brazil |
250 VAC, 10 A, 50 Hz |
NBR 14136 Type BR/3 |
CBL-EX-PWR-C13-BR |
No graphic available |
|
China |
250 VAC, 10 A, 50 Hz |
GB 1002-1996 Type PRC/3 |
CBL-EX-PWR-C13-CH |
|
|
Europe (except Italy, Switzerland, and United Kingdom) |
250 VAC, 10 A, 50 Hz |
CEE (7) VII Type VIIG |
CBL-EX-PWR-C13-EU |
|
|
India |
250 VAC, 10 A, 50 Hz |
IS 1293 Type IND/3 |
CBL-EX-PWR-C13-IN |
No graphic available |
|
Israel |
250 VAC, 10 A, 50 Hz |
SI 32/1971 Type IL/3G |
CBL-EX-PWR-C13-IL |
|
|
Italy |
250 VAC, 10 A, 50 Hz |
CEI 23-16 Type I/3G |
CBL-EX-PWR-C13-IT |
|
|
Japan |
125 VAC, 12 A, 50 Hz or 60 Hz |
JIS 8303 |
CBL-EX-PWR-C13-JP |
|
|
Korea |
250 VAC, 10 A, 50 Hz or 60 Hz |
CEE (7) VII Type VIIGK |
CBL-EX-PWR-C13-KR |
|
|
North America |
125 VAC, 13 A, 60 Hz |
NEMA 5-15 Type N5-15 |
CBL-EX-PWR-C13-US |
|
|
South Africa |
250 VAC, 10 A, 50 Hz |
SABS 164/1:1992 Type ZA/3 |
CBL-EX-PWR-C13-SA |
|
|
Switzerland |
250 VAC, 10 A, 50 Hz |
SEV 6534-2 Type 12G |
CBL-EX-PWR-C13-SZ |
No graphic available |
|
United Kingdom |
250 VAC, 10 A, 50 Hz |
BS 1363/A Type BS89/13 |
CBL-EX-PWR-C13-UK |
|








