Help us improve your experience.

Let us know what you think.

Do you have time for a two-minute survey?

 
 

MX10K-LC4800

The MX10K-LC4800 line card (model number: JNP10K-LC4800) is a fixed-configuration 44-port line card that provides a line-rate throughput of 4.8 Tbps. This line card supports 100-Gigabit Ethernet (100GbE) and 400GbE deployments.

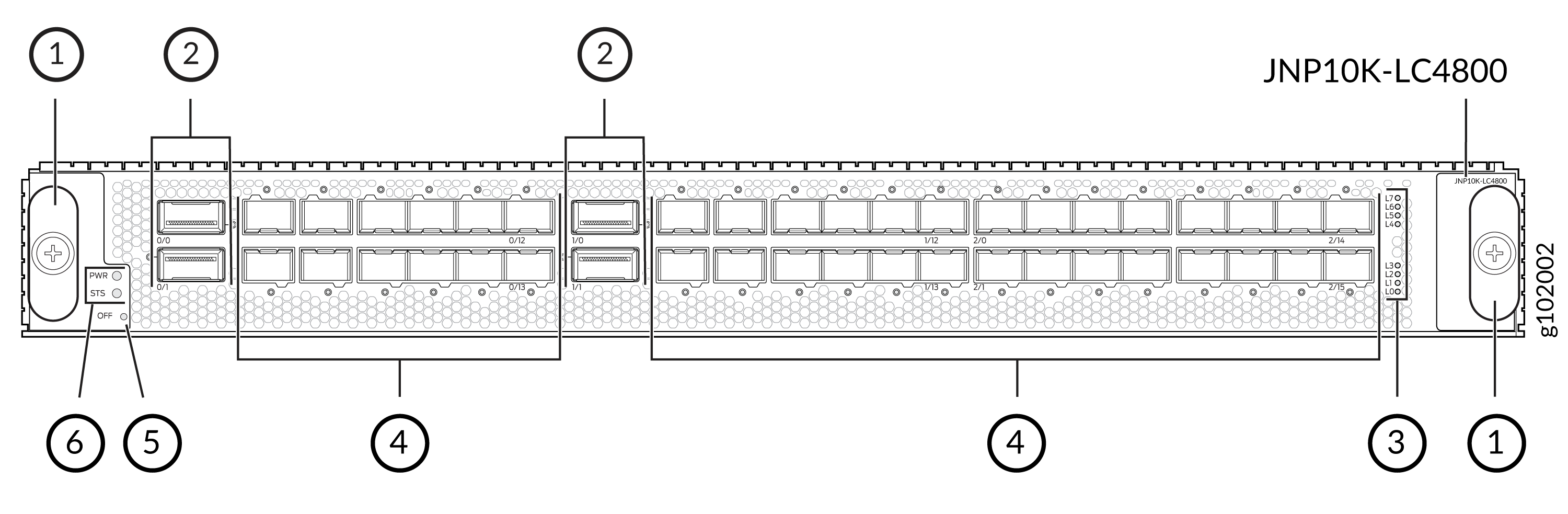
Figure 1: MX10K-LC4800 Line Card MX10K-LC4800 Line Card
  1

Ejectors

  4

SFP56-DD ports

  2

QSFP56-DD ports

  5

OFF (offline) button

  3

Lane LEDs

  6

PWR and STS LEDs

The MX10K-LC4800 line card plugs into the MX10004 and MX10008 routers horizontally at the front of the chassis. The line card runs the Junos operating system (Junos OS).

Software release

Junos OS Release 24.2R1 and later when installed in MX10004 or MX10008 routers.

Description

  • Model number: JNP10K-LC4800

  • Name in the CLI: JNP10K-LC4800

  • Weight: 40 lb (18.14 kg)

  • Dimensions: Height = 1.89 in. (48.01 mm), width = 17.2 in (436.88 mm), depth = 19.05 in. (484 mm) (excluding the ejectors)

Hardware features

  • Is a fixed-configuration line card with 44 ports (40 SFP56-DD ports and 4 QSFP56-DD ports).

  • Supports channelization of the ports, using breakout cables, as follows:

    • Each SFP56-DD port supports the following speeds: 1 Gbps, 10 Gbps, 25 Gbps, 50 Gbps, and 100 Gbps.

    • Each QSFP56-DD port supports the following speeds: 4x10 Gbps, 4x25 Gbps, 40 Gbps, 100 Gbps, 2x100 Gbps, 4x100 Gbps, and 400 Gbps.

      Note:

      The MX10K-LC4800 line card does not support mixed breakout port speeds within a single port cage. For example, you cannot configure 4x25 Gbps and 4x10 Gbps speeds simultaneously within a single port cage.

      Note:

      When you configure a QSFP56-DD port as a 400 Gbps port, the adjacent two SFP56-DD ports (horizontally placed) get disabled.

  • Offers a line-rate throughput of up to 4.8 Tbps. However, all the ports on the line card operate at a speed of 100 Gbps by default, providing a maximum per-slot bandwidth of 4.4 Tbps.

  • Has three forwarding ASICs, each hosting two Packet Forwarding Engines. Each Packet Forwarding Engine supports a maximum bandwidth of 800 Gbps.

  • Supports up to 32-GB Double Data Rate 4 (DDR4) memory (16 GB x 2 VLP DDR4 RDIMM PMB).

  • Is compatible with the JNP10004-SF2 (in the MX10004) and JNP10008-SF2 (in the MX10008) Switch Fabric Boards (SFBs).

  • Interoperates with the MX10K-LC9600, MX10K-LC2101, and MX10K-LC480 line cards.

  • Operates with the JNP10K-RE1, JNP10K-RE1-LT, and JNP10K-RE1-128; JNP10K-RE3, JNP10K-RE3-LT, JNP10K-RE3-256, and JNP10K-RE3LT256 Routing and Control Boards (RCBs).

  • Operates only with the following power supply units (PSUs) and fan trays:

    • JNP10K-PWR-AC2

    • JNP10K-PWR-DC2

    • JNP10K-PWR-AC3

    • JNP10K-PWR-DC3

    • JNP10K-PWR-AC3H

    • JNP10008-FAN2 or JNP10008-FAN3 (in the MX10008)

    • JNP10008-FTC2 or JNP10008-FTC3 (in the MX10008)

    • JNP10004-FAN2 or JNP10004-FAN3 (in the MX10004)

    • JNP10004-FTC2 or JNP10004-FTC3 (in the MX10004)

  • Supports a maximum transmission unit (MTU) of 16,000 bytes for transit traffic and host-bound packets.

    Note:

    If you configure an SFP56-DD port as a 1-Gbps port, the port supports an MTU of 3800 bytes.

  • Adheres to the complete NEBS compliance (NEBS GR63-CORE, GR1089-CORE, and SR3580 compliance).

Software features

  • Supports rate selectability at the port level

  • By default, the ports are configured as 100-Gigabit Ethernet ports

  • Supports optical diagnostics and related alarms

  • Has three logical PICs, each serviced by a dedicated forwarding ASIC

  • Enhanced MACsec support on all the optical ports

Power requirements

Power consumption at different temperatures when all the ports are configured to operate at 100-Gbps speed:

  • 25°C: 966 W

  • 40°C: 1005 W

  • 55°C: 1030 W

LEDs

PWR LED

  • Steady green—Line card is receiving power.
  • Steady red—Line card has failed to power on.
  • Off—Line card is not receiving power.

STS LED

  • Steady green (when the beacon or the port location is on)—Line card is online.
  • Blinking green—The line card is booting.
  • Steady red (when the beacon or the port location is on)—Line card is faulty or an alarm has been raised.
  • Off—Line card is disabled or offline.

Port LED (next to each port)

  • Off—Port does not have a transceiver module.
  • Steady green (when the beacon or the port location is on)—Port link is up with no alarms or failures.
  • Steady amber (when the beacon or the port location is on)—Port link is down because the port is disabled through the CLI, or the port encountered errors such as loss of signal, local fault, or remote fault.

Lane LEDs

  • The lane LEDs for the corresponding ports indicate the port status.

  • Similar to the port status LED, each individual lane LED supports four states: OFF, AMBER, GREEN, and RED.

Cables and connectors

Tip:

You can use the Hardware Compatibility Tool to find information about the pluggable transceivers that your Juniper Networks device supports.

The following 400G-ZR optics are only supported up to 40°C. For more information, see Hardware Compatibility Tool.

  • JCO400-QDD-ZR

  • JCO400-QDD-ZR-M

  • QDD-400G-ZR

  • QDD-400G-ZR-M

  • QDD-400G-ZR-M-HP