Help us improve your experience.

Let us know what you think.

Do you have time for a two-minute survey?

 
 

EX4100-H Models and Specifications

This topic provides details of the EX4100-H models and their specifications, information on number of ports and PoE support, throughput, and components in the shipment for each model.

The EX4100-H line of switches consists of both multigigabit PoE and non-PoE (fiber port) models. These switches run on either AC and/or DC power and support fanless convection cooling.

Let's take a look at the different EX4100-H models and their specifications.

EX4100-H-12MP

Components on the Front Panel of EX4100-H-12MP Switch

Figure 1 shows the components on the front panel of an EX4100-H-12MP switch.

Figure 2 shows the LEDs on the front panel of an EX4100-H-12MP switch.

Figure 1: Components on the Front Panel of an EX4100-H-12MP Switch Diagram of Juniper EX4100-MG PoE++ network switch with labeled components like management port, console port, power connections, QR code, reset button, LED indicators, PSU indicators, uplink ports, VCP, laser warning, grounding, alarm ports, Ethernet ports, and device model.
  1. USB 2.0 Type-A host port

  2. RJ-45 RS232 console port

  3. PSU 0 input

  4. USB Type-C console port

  5. Reset button

  6. Claim code label

  7. Mode button

  8. PSU 1 input

  9. Two 1/10 Gbps SFP/SFP+ MACsec-enabled uplink ports

  10. Protective ground terminal

  11. Two 1/10 Gbps SFP/SFP+ Virtual Chassis ports (VCPs)

  12. Footpad

  13. Dry contact alarm ports

  14. Eight 10M/100M/1 Gbps RJ-45 PoE++ ethernet ports

  15. Four 100M/1/2.5 Gbps RJ-45 PoE++ ethernet ports

  16. RJ-45 management port

Figure 2: Components on the Front Panel of an EX4100-H-12MP Switch (LEDs) Rear panel diagram of Juniper Networks EX4100-H MG PoE++ switch with labeled components: Console Port, LED Indicators, Uplink Ports, Virtual Chassis Port, Alarm Input/Output. Warnings about laser radiation.
  1. PSU 0 input and PSU 1 input LEDs

  2. Port mode and chassis status LEDs

    • Chassis status LEDs (labeled SYS, ALM, MST, and CLD)

    • Port mode LEDs (labeled SPD, DX, EN, and PoE)

  3. LEDs on the 10 Gbps SFP+ MACsec-enabled uplink ports

  4. LEDs on the 10 Gbps SFP+ VCPs

  5. LEDs of the Dry Contact Alarm

Table 1: EX4100-H-12MP Switch Models, Shipped Components, and First Junos Release

Model

Fan Modules

Power Supply Unit

First Junos OS Release

EX4100-H-12MP

NA. Fanless model. Convection cooled.

340 W AC external power supply unit

A 340 W DC external power supply unit

24.3R1

Table 2: EX4100-H-12MP Switches—Physical Specifications and Ports

Item

Description

Chassis dimensions

Height - 6 in. (15.24 cm)

Depth - 5.3 in. (13.40 cm)

Width - 4.4 in. (11.17 cm)

Weight

5.22 lb (2.37 kg)

Built-in ports

  • Four 100M/1/2.5 Gbps RJ-45 PoE++ MACsec-enabled ethernet ports

  • Eight 10M/100M/1 Gbps RJ-45 PoE++ ethernet ports

  • Two 1/10 Gbps SFP/SFP+ MACsec-enabled uplink ports

  • Two 1/10 Gbps SFP/SFP+ VCPs

PoE ports

12 - PoE++ (90 W by default)

EX4100-H-24MP

Components on the Front and Rear Panels of EX4100-H-24MP Switch

Figure 3 shows the components on the front panel of an EX4100-H-24MP switch.

Figure 3: Components on the Front Panel of an EX4100-H-24MP Switch Diagram of Juniper Networks EX4100-H-MG-POE front panel with labeled components including multigigabit ports, console port, reset button, alarm relay connector, management port, USB port, virtual chassis ports, uplink ports, grounding point, power supply connections, LED indicators, system buttons, model label, terminal block, and grounding terminal.
  1. Eight 1/2.5 Gbps ports RJ-45 PoE++ ethernet ports

  2. Sixteen 1 Gbps ports RJ-45 PoE++ ethernet ports

  3. USB Type-C console port

  4. Reset button

  5. RJ-45 management port

  6. LEDs of the Dry Contact Alarm

  7. Chassis status LEDs (labeled SYS, ALM, MST, and CLD) and Port mode LEDs (labeled SPD, DX, EN, and PoE)

  8. Four 1/10 Gbps SFP/SFP+ MACsec-enabled uplink ports

  9. PSU 0 input and PSU 1 input LEDs

  10. Claim code label

  11. PSU power input terminal

  12. Four 1/10 Gbps SFP/SFP+ Virtual Chassis ports (VCPs)/uplink ports

  13. USB 2.0 Type-A host port

  14. RJ-45 RS232 console port

  15. Factory Reset/Mode button

  16. Dry contact alarm ports

Figure 4 shows the components on the rear panel of an EX4100-H-24MP switch.

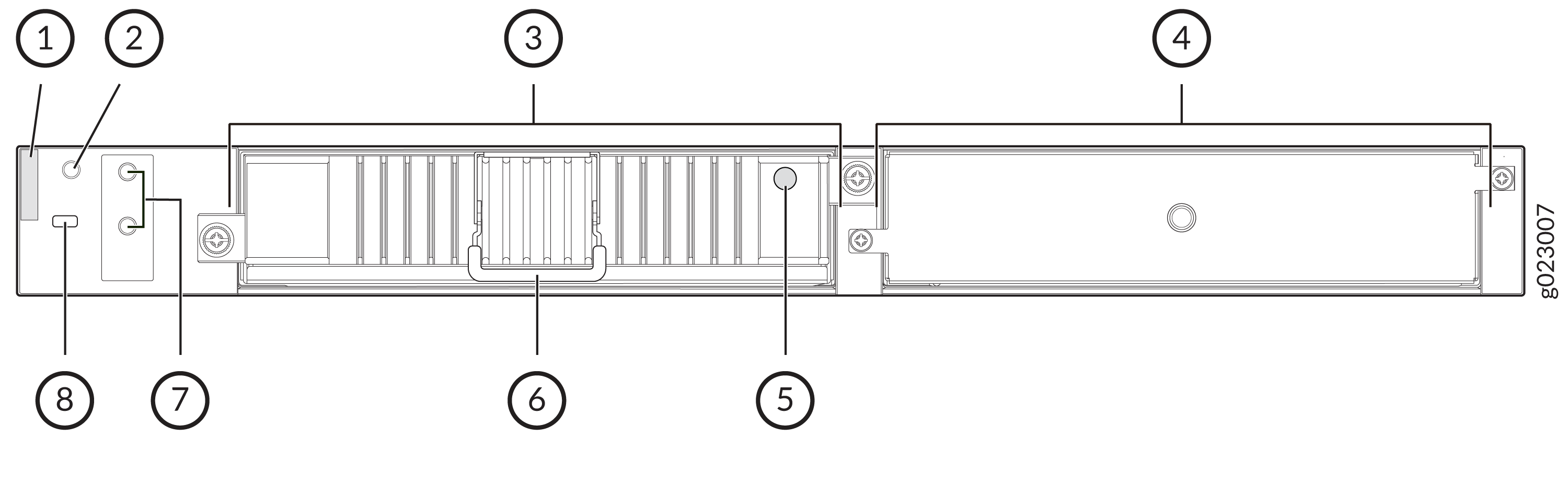
Figure 4: Components on the Rear Panel of an EX4100-H-24MP Switch Technical diagram of an electronic component with numbered labels 1-8 identifying parts like connectors, cooling grid, enclosure, fasteners, and latch.
  1. Serial number label

  2. ESD point

  3. Power supply unit (PSU)

  4. PSU blank

  5. OUT_OK PSU power supply unit LED

  6. PSU handle

  7. Protective earthing terminal

  8. Physical security lock point

Table 3: EX4100-H-24MP Switch Models, Shipped Components and First Junos Release

Model number

Fan Modules

Power Supply

First Junos OS Release

EX4100-H-24MP

NA. Fanless model. Convection cooled.

340 W AC FRU power supply unit

340 W DC FRU power supply unit

24.4R1

Table 4: EX4100-H-24MP Switches—Physical Specifications and Ports

Item

Description

Chassis dimensions

Height—1.7 in. (4.33 cm)

Depth—with AC PSU - 14.96 in. (37.99 cm)

Depth—with DC PSU - 15.35 in. (38.99 cm)

Width—17.28 in. (43.90 cm)

Weight

With no PSU: 15.25 lb (6.92 kg)

With 1 AC PSU: 18.40 lb (8.35 kg)

With 1 DC PSU: 18.45 lb (8.37 kg)

Built-in ports

  • Eight 1/2.5 Gbps ports RJ-45 PoE++ ethernet ports

  • Sixteen 1 Gbps ports RJ-45 PoE++ ethernet ports

  • Four 1/10 Gbps SFP/SFP+ Virtual Chassis ports (VCPs)/uplink ports

  • Four 1/10 Gbps SFP/SFP+ MACsec-enabled uplink ports

PoE ports

24 - PoE++ (90 W by default)

EX4100-H-24F

Components on the Front and Rear Panels of EX4100-H-24F Switch

Figure 5 shows the components on the front panel of an EX4100-H-24F switch.

Figure 5: Components on the Front Panel of an EX4100-H-24F Switch Labeled diagram of Juniper Networks EX4100-H-24F Ethernet Switch front panel highlighting access ports 0-23, console port, reset button, alarm relay connector, management port, USB port, system LEDs, power supply unit LEDs, grounding point, power supply connectors PSU0 and PSU1, uplink ports, VCP ports, label area, alarm relay pinout, and access port numbering.
  1. Twenty four 1 Gbps SFP ports

  2. USB Type-C console port

  3. Reset button

  4. RJ-45 management port

  5. LEDs of the Dry Contact Alarm

  6. Chassis status LEDs (labeled SYS, ALM, MST, and CLD) and port mode LEDs (labeled SPD, DX, EN, and PoE)

  7. Four 1/10 Gbps SFP/SFP+ MACsec-enabled uplink ports

  8. PSU 0 input and PSU 1 input LEDs

  9. Claim code label

  10. PSU power input terminal

  11. Four 1/10 Gbps SFP/SFP+ Virtual Chassis ports (VCPs)/uplink ports

  12. USB 2.0 Type-A host port

  13. RJ-45 RS232 console port

  14. Factory Reset/Mode button

  15. Dry contact alarm ports

Figure 6 shows the components on the rear panel of an EX4100-H-24F switch.

Figure 6: Components on the Rear Panel of an EX4100-H-24F Switch Technical diagram of a power supply unit with labeled components: outer casing, mounting holes, input/output connectors, handle, status light, warning symbol, cooling fins, and DC input specifications.
  1. PSU power supply unit

  2. PSU blank

  3. ESD point

  4. Protective earthing terminal

  5. Physical security lock point

  6. OUT_OK PSU power supply unit LED

  7. PSU handle

  8. Serial number

Table 5: EX4100-H-24F Switch Models, Shipped Components and First Junos Release

Model number

Fan Modules

Power Supply

First Junos OS Release

EX4100-H-24F

NA. Fanless model. Convection cooled.

90 W AC FRU power supply unit

90 W DC FRU power supply unit

24.4R1

Table 6: EX4100-H-24F Switches—Physical Specifications and Ports

Item

Description

Chassis dimensions

Height—1.7 in. (4.33 cm)

Depth—14.96 in. (37.99 cm)

Width—17.28 in. (43.90 cm)

Weight

With no PSU: 17.79 lb (8.07 kg)

With 1 AC PSU: 20.28 lb (9.20 kg)

With 1 DC PSU: 20.24 lb (9.23 kg)

Built-in ports

  • Twenty four 1 Gbps SFP ports

  • Four 1/10 Gbps SFP/SFP+ Virtual Chassis ports (VCPs)/uplink ports

  • Four 1/10 Gbps SFP/SFP+ MACsec-enabled uplink ports

PoE ports

0