Mantenimiento de tarjetas de línea MX10004
El mantenimiento de los enrutadores MX10004 Juniper Networks incluye la extracción y reinstalación de tarjetas de línea.
Las tarjetas de línea en el MX10004 son unidades reemplazables en el campo (FRU) que se pueden instalar en cualquiera de las ranuras para tarjetas de línea en la parte frontal del chasis. Las tarjetas de línea son insertables en caliente y extraíbles en caliente: puede quitarlas y reemplazarlas sin apagar el enrutador ni interrumpir las funciones del enrutador.
Maneje y guarde MX10004 tarjetas de línea correctamente
Las tarjetas de línea MX10004 tienen componentes frágiles. Para evitar dañar las tarjetas de línea, asegúrese de seguir prácticas de manejo seguras.
Manejar una tarjeta de MX10004 Line correctamente
Presta atención a la forma en que manejas las tarjetas de línea. Las tarjetas de línea se instalan horizontalmente, y es mejor sostenerlas por los lados de las unidades cuando no están en el chasis.
Para manejar correctamente una tarjeta de línea de MX10004:
Guarde una tarjeta de línea correctamente
Debe almacenar las tarjetas de línea en el chasis o en un contenedor de envío de repuesto, horizontalmente y con el lado de chapa hacia abajo. No apile estas unidades una encima de la otra o encima de cualquier otro componente.
Debe colocar cada unidad por separado en una bolsa antiestática o en una alfombra antiestática colocada sobre una superficie plana y estable.
Debido a que estas unidades son pesadas y las bolsas antiestáticas son frágiles, dos personas deben insertar la tarjeta de línea en la bolsa.
Las tarjetas de línea MX10K-LC9600 se envían con una cubierta protectora de plástico en los conectores de la interfaz de tela. La cubierta de plástico mantiene los conectores limpios y libres de polvo y otras partículas. Cuando retire la tarjeta de línea MX10K-LC9600 del enrutador, vuelva a insertar la cubierta protectora de plástico en los conectores de interfaz de tela y, a continuación, coloque la tarjeta de línea en una bolsa antiestática o en una alfombra antiestática colocada sobre una superficie plana y estable.
Para guardar una tarjeta de línea correctamente en una bolsa antiestática:
- Sostenga la unidad horizontalmente con la placa frontal hacia usted.
- Deslice la abertura de la bolsa antiestática sobre el borde del conector.
Si debe insertar la tarjeta de línea en una bolsa antiestática usted mismo:
-
Coloque la unidad horizontalmente sobre una estera antiestática que esté sobre una superficie plana y estable con el lado de chapa hacia abajo.
-
Oriente la unidad con la placa frontal hacia usted.
-
Inserte con cuidado el borde del conector en la abertura de la bolsa y tire de la bolsa hacia usted para cubrir la unidad.
Conecte una tarjeta de MX10004 Line o desconéctela
El botón sin conexión/en línea (OFF) está empotrado debajo de la placa frontal directamente debajo del LED de estado (STS). Puede poner en línea cualquiera de las tarjetas de línea MX10004 o desconectarlas utilizando cualquiera de estos dos métodos:
-
Presione el botón OFF con una herramienta de clavija no conductora, como un palillo de dientes, hasta que el LED STS se apague después de unos 5 segundos.
-
Ejecute el comando de la CLI:
user@host> request chassis fpc slot slot-number offline
Instalar una tarjeta de línea MX10004 en el chasis del enrutador
Antes de instalar una tarjeta de línea en el chasis del enrutador:
-
Asegúrese de haber tomado las precauciones necesarias para evitar daños por descarga electrostática (ESD). Consulte Prevención de daños por descarga electrostática.
-
Revise cómo manejar y almacenar la tarjeta de línea. Consulte Manejar y almacenar correctamente MX10004 tarjetas de línea.
-
Inspeccione el borde del conector de la tarjeta de línea en busca de daños físicos. La instalación de una tarjeta de línea dañada podría dañar el enrutador.
-
Asegúrese de que el enrutador tenga suficiente energía para alimentar la tarjeta de línea mientras mantiene su nredundancia de alimentación +1. Para determinar si el enrutador tiene suficiente energía disponible para la tarjeta de línea, utilice el
show chassis power detailcomando. -
Asegúrese de que tiene las siguientes partes y herramientas disponibles para instalar una tarjeta de línea en el enrutador:
-
Correa de conexión a tierra ESD
-
Destornillador Phillips (+), número 2
-
Para instalar una tarjeta de línea MX10004 en el chasis del enrutador:
Puede instalar el kit de administración de cables opcional después de instalar las tarjetas de línea.
Extraer una tarjeta de línea del chasis de un enrutador MX10004
Si tiene el sistema opcional de gestión de cables con tarjeta de línea, no es necesario quitar el sistema de gestión de cables antes de extraer la tarjeta de línea.
Antes de extraer una tarjeta de línea del chasis del enrutador:
-
Asegúrese de haber tomado las precauciones necesarias para evitar daños por descarga electrostática (ESD). Consulte Prevención de daños por descarga electrostática.
-
Si hay cables ópticos (incluidos los transceptores instalados en la tarjeta de línea), extráigalos antes de extraer la tarjeta de línea. Consulte Desconectar un cable de fibra óptica de un transceptor óptico en un enrutador MX10004.
-
Revise cómo manejar y almacenar la tarjeta de línea. Consulte Manejar y almacenar correctamente MX10004 tarjetas de línea.
-
Asegúrese de que tiene las siguientes piezas y herramientas disponibles para extraer una tarjeta de línea de un chasis MX10004:
-
Correa de conexión a tierra ESD
-
Una bolsa antiestática o alfombra antiestática
Nota:Colocar una tarjeta de línea en una bolsa electrostática puede requerir que una segunda persona ayude a deslizar la tarjeta de línea en la bolsa.
-
Tarjeta de línea de reemplazo o una cubierta (JNP10K-LC-BLNK) para la ranura vacía
-
No retire la tarjeta de línea a menos que tenga disponible una tarjeta de línea de reemplazo o una cubierta de tarjeta de línea (JNP10K-LC-BLNK).
Si no va a instalar otra tarjeta de línea en la ranura para tarjetas vacía en poco tiempo, instale la tapa de la tarjeta de línea en la ranura para mantener un flujo de aire adecuado en la jaula de tarjetas.
Los filtros de aire en las cubiertas de la tarjeta de línea evitarán que el polvo y otras partículas entren en el chasis. Si una ranura para tarjeta de línea vacía no está cubierta, es posible que se acumule polvo y otras partículas en los pines del conector de las tarjetas de línea instaladas y de los SFB, y que afecten al rendimiento del enrutador.
Para extraer una tarjeta de línea del chasis de un enrutador MX10004:
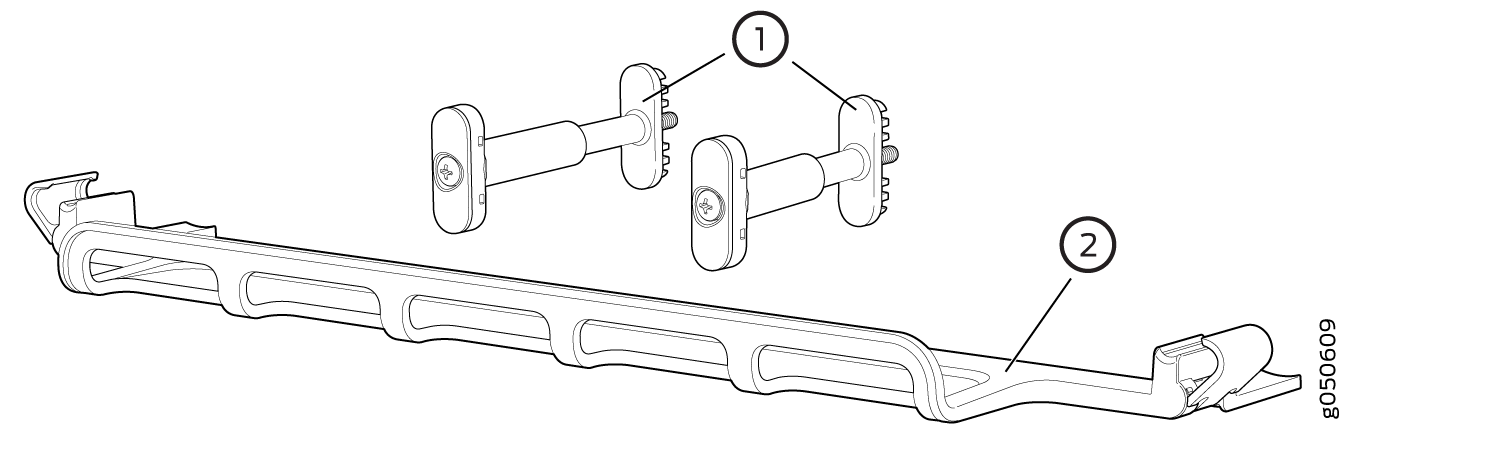
Instalación del sistema de gestión de cables—JLC-CBL-MGMT-KIT
El sistema de administración de cables JLC-CBL-MGMT-KIT de Juniper Networks es un kit opcional que se puede pedir. Este kit organiza y protege el cableado óptico conectado a las tarjetas de línea. Después de instalar una tarjeta de línea, aún puede extraer la tarjeta de línea sin necesidad de quitar el sistema de administración de cables.
Asegúrese de que tiene la siguiente herramienta disponible para instalar el sistema de gestión de cables en una tarjeta de línea:
Destornillador Phillips (+), número 2
Para instalar el sistema de gestión de cables:













