Help us improve your experience.

Let us know what you think.

Do you have time for a two-minute survey?

 
 

Tarjetas de línea EX9200

Compatibilidad de versión y modelo de tarjeta de línea en un conmutador EX9200

Nota:

Si va a instalar tarjetas de línea publicadas después de Junos OS versión 14.1, asegúrese de que el módulo de estructura de conmutación (módulo SF) EX9200-SF2 esté instalado en el chasis del conmutador.

En la tabla 1 se muestran los números de modelo, la descripción de la tarjeta de línea, la versión de Junos OS en la que se admite por primera vez la tarjeta de línea y el módulo de estructura de conmutador (módulo SF) que se debe instalar en el conmutador para admitir cada tarjeta de línea.

Tabla 1: Modelos de tarjeta de línea para conmutadores EX9200

Número de modelo

Descripción

Primer lanzamiento de Junos OS

Módulo SF requerido

EX9200-2C-8XS

Una tarjeta de línea con dos puertos de 100 Gigabit Ethernet y ocho puertos de 10 Gigabit Ethernet

Vea la tarjeta de línea EX9200-2C-8XS.

13.2R1

EX9200-SF o EX9200-SF2

EX9200-4QS

Una tarjeta de línea con cuatro puertos Ethernet de 40 Gigabit

Consulte tarjeta de línea EX9200-4QS

12.3R2

EX9200-SF o EX9200-SF2

EX9200-6QS

Una tarjeta de línea con seis puertos 40 Gigabit Ethernet y 24 puertos 10 Gigabit Ethernet

Vea la tarjeta de línea EX9200-6QS.

14.2R1

PRECAUCIÓN:

Junos OS versión 14.2R1 admite la tarjeta de línea EX9200-6QS, excepto para una configuración específica. Consulte las notas de la versión de Junos OS 14.2R2 para ver el problema conocido PR1068396 para determinar si esa configuración se aplica al conmutador y qué versión se debe usar si la configuración se aplica.

EX9200-SF o EX9200-SF2

EX9200-MPC

Una tarjeta de línea modular que acepta cualquiera de las siguientes MIC:

  • EX9200-10XS-MIC

  • EX9200-20F-MIC

  • EX9200-40T-MIC

Vea la tarjeta de línea EX9200-MPC.

15.1R3

EX9200-SF, EX9200-SF2 o EX9200-SF3

EX9200-12QS

Una tarjeta de línea con 12 puertos de velocidad seleccionables de 40 Gigabit Ethernet, cada uno de los cuales puede alojar transceptores

Consulte tarjeta de línea EX9200-12QS.

16.1R1

EX9200-SF2 o EX9200-SF3

EX9200-15C

Una tarjeta de línea con 15 puertos de velocidad seleccionables. Todos los puertos pueden operar a velocidades de 10 Gbps, 25 Gbps, 40 Gbps o 100 Gbps

Vea la tarjeta de línea EX9200-15C.

20.3R1

EX9200-SF3

EX9200-32XS

Una tarjeta de línea con 32 puertos Ethernet de 10 Gigabit

Vea la tarjeta de línea EX9200-32XS.

12.3R2

EX9200-SF, EX9200-SF2 o EX9200-SF3

EX9200-40T

Una tarjeta de línea con 40 puertos 10/100/1000BASE-T que admiten conectores RJ-45

Vea la tarjeta de línea EX9200-40T

12.3R2

EX9200-SF o EX9200-SF2

EX9200-40F

Una tarjeta de línea con 40 puertos 1 Gigabit Ethernet

Vea la tarjeta de línea EX9200-40F.

12.3R2

EX9200-SF o EX9200-SF2

EX9200-40F-M

Una tarjeta de línea con 40 puertos 1 Gigabit Ethernet con capacidad de seguridad de control de acceso a medios (MACsec)

Vea la tarjeta de línea EX9200-40F-M.

14.2R1

EX9200-SF o EX9200-SF2

EX9200-40XS

Una tarjeta de línea con 40 puertos 10 Gigabit Ethernet con capacidad de seguridad de control de acceso a medios (MACsec), cada uno de los cuales puede alojar transceptores de factor de forma pequeño conectables plus (SFP+) de 10 Gigabit.

Vea la tarjeta de línea EX9200-40XS.

16.1R1

EX9200-SF2 o EX9200-SF3

Asegúrese de que todas las tarjetas de línea de un conmutador sean compatibles con la versión de Junos OS que desea usar.

Tarjeta de línea EX9200-2C-8XS

Las tarjetas de línea de los conmutadores EX9200 combinan un motor de reenvío de paquetes e interfaces Ethernet en un solo conjunto. Las tarjetas de línea son unidades reemplazables en campo (FRUs) que puede instalar en las ranuras de tarjeta de línea en la parte frontal del chasis del conmutador. Las tarjetas de línea son insertables en caliente y extraíbles en caliente: puede quitarlas y reemplazarlas sin apagar el conmutador ni interrumpir las funciones del conmutador.

Modelos de tarjetas de línea

En la tabla 2 se muestra el número de modelo, la descripción del modelo de tarjeta de línea y la versión de Junos OS en la que se admite por primera vez la tarjeta de línea.

Tabla 2: Tarjeta de línea EX9200-2C-8XS

Modelo

Descripción

Se requiere la versión de Junos OS

EX9200-2C-8XS

Una tarjeta de línea con dos puertos 100 Gigabit Ethernet, cada uno de los cuales puede alojar transceptores conectables de factor de forma (CFP) de 100 Gigabit C; y ocho puertos Ethernet de 10 Gigabit, cada uno de los cuales puede alojar transceptores conectables plus (SFP+) de factor de forma pequeño de 10 Gigabits

13.2R1 o posterior

Véase la figura 1

Figura 1: Tarjeta de línea EX9200-2C-8XS EX9200-2C-8XS Line Card
  1
Palancas de eyector
  4
Puertos Ethernet de 100 Gigabit
  2
LED de tarjeta de línea
  5
Indicadores LED para los puertos de 100 Gigabit Ethernet
  3
Indicadores LED para los puertos de 10 Gigabit Ethernet
  6
Puertos Ethernet de 10 Gigabit

Puede usar el show version comando para ver la versión de Junos OS para conmutadores de la serie EX cargada en el conmutador.

Componentes de la tarjeta de línea

La tarjeta de línea EX9200-2C-8XS tiene:

  • Dos puertos Ethernet de 100 Gigabit, cada uno de los cuales puede alojar transceptores CFP. Estos puertos son compatibles con transceptores 100GBASE-LR4 y 100GBASE-SR10.

  • Ocho puertos Ethernet de 10 Gigabit, cada uno de los cuales puede alojar transceptores SFP+. Estos puertos son compatibles con transceptores 10GBASE-SR, 10GBASE-LR, 10GBASE-ER y 10GBASE-ZR.

  • Dos cubiertas antipolvo para los dos puertos 100 Gigabit Ethernet y ocho cubiertas antipolvo para los ocho puertos 10 Gigabit Ethernet

  • LED de tarjeta de línea: un LED etiquetado como OK/FAIL, que indica el estado de la tarjeta de línea. Consulte LED de tarjeta de línea en un conmutador EX9200.

  • INDICADORES LED para los puertos: un LED en cada puerto, el LED de vínculo/actividad, que indica el estado del vínculo y la actividad en el puerto. Consulte Indicadores LED de puerto de red en tarjetas en línea en un conmutador EX9200.

Los puertos se dividen en dos grupos de puertos. Los cuatro puertos 10 Gigabit Ethernet etiquetados de 0/0 a 0/3 y el puerto 100 Gigabit Ethernet etiquetado como 1/0 forman un grupo de puertos. Los cuatro puertos de 10 Gigabit Ethernet etiquetados de 2/0 a 2/3 y el puerto 100 Gigabit Ethernet etiquetado como 3/0 forman el otro grupo de puertos. Los puertos de cada grupo comparten 130 gigabits de ancho de banda. Por lo tanto, puede transmitir hasta 130 gigabits de tráfico a través de un grupo de puertos, sin pérdida de paquetes.

Tarjeta de línea EX9200-4QS

Las tarjetas de línea de los conmutadores EX9200 combinan un motor de reenvío de paquetes e interfaces Ethernet en un solo conjunto. Son unidades reemplazables en campo (FRUs) que puede instalar en las ranuras de tarjeta de línea en la parte frontal del chasis del conmutador. Las tarjetas de línea son insertables en caliente y extraíbles en caliente: puede quitarlas y reemplazarlas sin apagar el conmutador ni interrumpir las funciones del conmutador.

Modelos de tarjetas de línea

En la tabla 3 , se muestra el número de modelo, la descripción del modelo de tarjeta de línea y la versión de Junos OS en la que se admite por primera vez la tarjeta de línea.

Tabla 3: Tarjeta de línea EX9200-4QS

Modelo

Descripción

Se requiere la versión de Junos OS

EX9200-4QS

Una tarjeta de línea con cuatro puertos Ethernet de 40 Gigabit, cada uno de los cuales puede alojar transceptores de factor de forma pequeño conectables plus (QSFP+) de 40 Gigabit quad

12.3R2 o posterior

Véase la figura 2.

Figura 2: Tarjeta EX9200-4QS Line Card de línea EX9200-4QS
  1
Palanca del eyector
  4
INDICADORES LED para los puertos
  2
LED de tarjeta de línea
  5
Puertos Ethernet de 40 Gigabit
  3
MIC LED
 

Puede usar el show version comando para ver la versión de Junos OS para conmutadores de la serie EX cargada en el conmutador.

Componentes de la tarjeta de línea

La tarjeta de línea EX9200-4QS tiene:

Tarjeta de línea EX9200-6QS

Las tarjetas de línea de los conmutadores EX9200 combinan un motor de reenvío de paquetes e interfaces Ethernet en un solo conjunto. Las tarjetas de línea son unidades reemplazables en campo (FRUs) que puede instalar en las ranuras de tarjeta de línea en la parte frontal del chasis del conmutador. Las tarjetas de línea son insertables en caliente y extraíbles en caliente: puede quitarlas y reemplazarlas sin apagar el conmutador ni interrumpir las funciones del conmutador.

Modelos de tarjetas de línea

En la tabla 4 , se muestra el número de modelo, la descripción del modelo de tarjeta de línea y la versión de Junos OS en la que se admite por primera vez la tarjeta de línea.

Tabla 4: Tarjeta de línea EX9200-6QS

Modelo

Descripción

Se requiere la versión de Junos OS

EX9200-6QS

Una tarjeta de línea con seis puertos de 40 Gigabit Ethernet, cada uno de los cuales puede alojar transceptores de factor de forma pequeño conectables plus (QSFP+) de 40 Gigabit quad; y 24 puertos de 10 Gigabit Ethernet, cada uno de los cuales puede alojar transceptores conectables de factor de forma pequeño (SFP+) de 10 Gigabit.

14.2R1 o posterior

PRECAUCIÓN:

Junos OS versión 14.2R1 admite la tarjeta de línea EX9200-6QS, excepto para una configuración específica. Consulte las notas de la versión de Junos OS 14.2R2 para ver el problema conocido PR1068396 para determinar si esa configuración se aplica al conmutador y qué versión se debe usar si la configuración se aplica.

Véase la figura 3.

Figura 3: Tarjeta de línea EX9200-6QS EX9200-6QS Line Card
  1
Palanca del eyector
  4
Puertos Ethernet de 10 Gigabit
  2
LED de tarjeta de línea
  5
INDICADORES LED para los puertos de 40 Gigabit Ethernet
  3
Indicadores LED para los puertos de 10 Gigabit Ethernet
  6
Puertos Ethernet de 40 Gigabit

Puede usar el show version comando para ver la versión de Junos OS para conmutadores de la serie EX cargada en el conmutador.

Componentes de la tarjeta de línea

La tarjeta de línea EX9200-6QS tiene:

  • Seis puertos Ethernet de 40 Gigabit, cada uno de los cuales puede alojar transceptores QSFP+. Estos puertos son compatibles con transceptores 40GBASE-LR4 y 40GBASE-SR4. A partir de Junos OS para conmutadores de la serie EX , versión 15.1 R3, estos puertos son compatibles con el transceptor JNP-QSFP-40G-LX4.

  • 24 puertos de 10 Gigabit Ethernet, cada uno de los cuales puede alojar transceptores SFP+. Estos puertos son compatibles con transceptores 10GBASE-SR, 10GBASE-LR, 10GBASE-ER y 10GBASE-ZR.

  • LED de tarjeta de línea: un LED etiquetado como OK/FAIL, que indica el estado de la tarjeta de línea. Consulte LED de tarjeta de línea en un conmutador EX9200.

  • LED de puerto de red: un LED en cada puerto de red, el LED de vínculo/actividad, que indica el estado del vínculo y la actividad en el puerto. Consulte Indicadores LED de puerto de red en tarjetas en línea en un conmutador EX9200.

Puede instalar transceptores SFP+ y QSFP+ en cualquier combinación en los puertos de la tarjeta de línea. Los puertos se dividen en dos grupos de puertos. Los doce puertos de 10 Gigabit Ethernet etiquetados de 0/0 a 0/11 forman PIC 0 y doce puertos de 10 Gigabit Ethernet etiquetados de 1/0 a 1/11 de forma PIC 1; La PIC 0 y la PIC 1 forman un grupo de puertos. Los tres puertos de 40 Gigabit Ethernet etiquetados de 2/0 a 2/2 de forma PIC 2 y tres puertos de 40 Gigabit Ethernet etiquetados  de 3/0 a 3/2 de forma PIC 3; La PIC 2 y PIC 3 forman el otro grupo de puertos. Los puertos de cada grupo de puertos comparten 240 gigabits de ancho de banda. Por lo tanto, puede transmitir hasta 240 gigabits de tráfico a través de un grupo de puertos, sin pérdida de paquetes.

La PIC 0 y la PIC 1 se activan de forma predeterminada. Si desactiva la PIC 0 y la PIC 1, la PIC 2 y la PIC 3 se activan automáticamente. De manera similar, si desactiva la PIC 2 y la PIC 3, la PIC 0 y la PIC 1 se activan automáticamente. Puede optar por activar solo una de las PIC y mantener la otra inactiva. Para desactivar una PIC activa, utilice el power comando.

La tarjeta de línea admite las siguientes combinaciones de PIC activas:

  • Pic cualquiera

  • PIC 0 y PIC 1

  • PIC 0 y PIC 3

  • PIC 1 y PIC 2

  • PIC 2 y PIC 3

Nota:

La tarjeta de línea no admite las siguientes combinaciones de PIC activas:

  • PIC 0 y PIC 2

  • PIC 1 y PIC 3

Tarjeta de línea EX9200-MPC

Modelos de tarjetas de línea

En la tabla 5 se muestra el número de modelo, la descripción del modelo de tarjeta de línea y la versión de Junos OS en la que se admite por primera vez la tarjeta de línea.

Tabla 5: EX9200-MPC

Modelo

Descripción

Se requiere la versión de Junos OS

EX9200-MPC

Una tarjeta de línea modular que acepta cualquiera de las siguientes tarjetas de interfaz modular (MIC):

  • EX9200-10XS-MIC

  • EX9200-20F-MIC

  • EX9200-40T-MIC

Las MIC se pueden ordenar por separado.

La tarjeta de línea EX9200-MPC tiene dos ranuras en la placa facial en las que puede instalar las MIC. Puede instalar las MIC en las siguientes configuraciones:

  • Un EX9200-10XS-MIC

  • Un EX9200-20F-MIC

  • Un EX9200-10XS-MIC y un EX9200-20F-MIC

  • Dos MIC EX9200-10XS

  • Dos MIC EX9200-20F

  • Un EX9200-40T-MIC

Puede transmitir hasta 130 gigabits de tráfico a través de la tarjeta de línea sin pérdida de paquetes.

15.1R3

Véase la Figura 4.

Figura 4: Tarjeta EX9200-MPC Line Card de línea EX9200-MPC
  1
Palanca del eyector
  3
Ranuras MIC cubiertas por paneles de cubierta
  2
LED de tarjeta de línea
 

Puede usar el show version comando para ver la versión de Junos OS para conmutadores de la serie EX cargada en el conmutador.

Componentes de la tarjeta de línea

La tarjeta de línea EX9200-MPC tiene:

  • Dos ranuras que pueden aceptar cualquiera de las siguientes MIC:

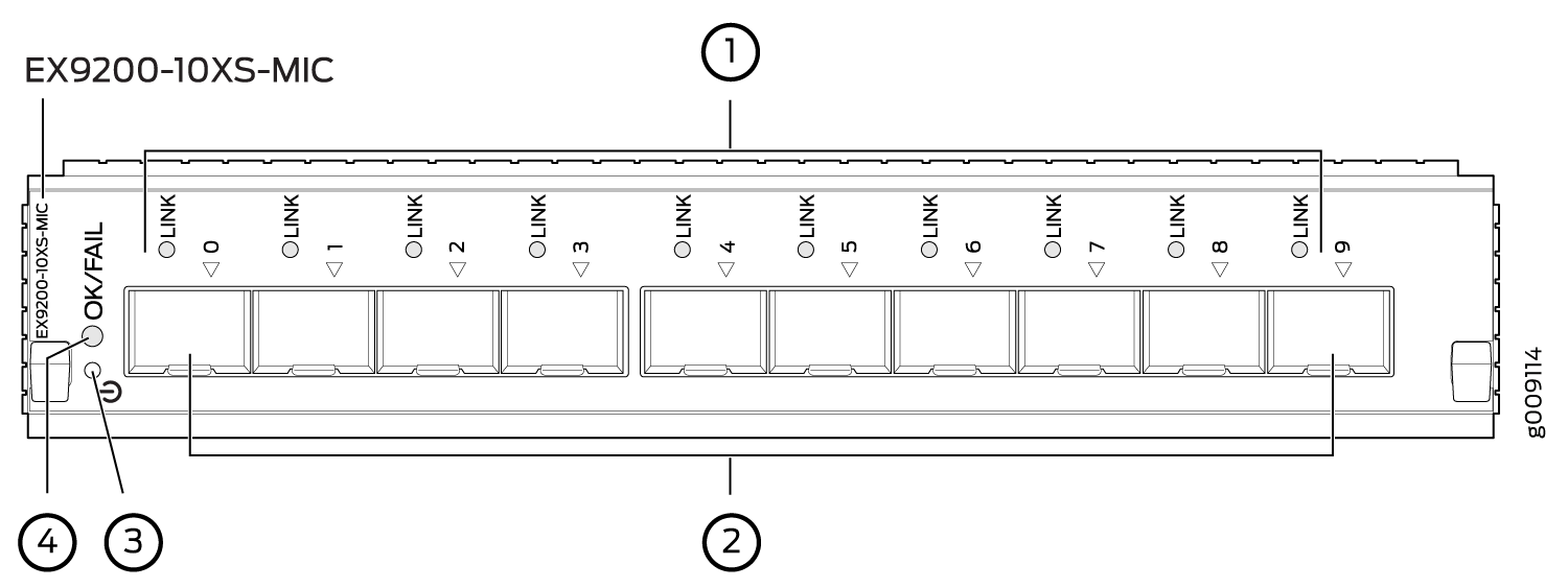
    • EX9200-10XS-MIC, que tiene diez puertos Ethernet de 10 Gigabit, cada uno de los cuales puede alojar transceptores enchufables plus (SFP+) de factor de forma pequeño. Los puertos forman un grupo de puertos. Los puertos son compatibles con transceptores 10GBASE-SR, 10GBASE-LR, 10GBASE-ER y 10GBASE-ZR. Un LED etiquetado como OK/FAIL en el MIC indica el estado de la MIC. Consulte LED de tarjeta de interfaz modular en un conmutador EX9200. El MIC se envía con 10 cubiertas antipolvo para los 10 puertos. Véase la Figura 5.

      Figura 5: EX9200-10XS-MIC EX9200-10XS-MIC
        1
      INDICADORES LED para los puertos
        3
      Botón de encendido MIC
        2
      Puertos Ethernet de 10 Gigabit
        4
      MIC LED
    • EX9200-20F-MIC, que tiene veinte puertos de 1 Gigabit Ethernet con capacidad de seguridad de control de acceso a medios (MACsec), cada uno de los cuales puede alojar transceptores de 1 Gigabit pequeño enchufable (SFP). El EX9200-20F-MIC en la tarjeta de línea EX9200-MPC es compatible con el estándar de seguridad MAC 802.1AE IEEE (también conocido como MACsec) con cifrado AES-128 bits, lo que proporciona soporte para la confidencialidad de datos de capa de vínculo, integridad de datos y autenticación de origen de datos. Debe aplicar una sola licencia (EX9200-SFL) para habilitar MACsec. Los puertos se dividen en dos grupos de puertos de diez puertos cada uno. Los puertos etiquetados como [0/2]/0 a [0/2]/8 y [1/3]/0 a [1/3]/8 forman un grupo de puertos y los puertos etiquetados como [0/2]/1 a [0/2]/9 y [1/3]/1 a [1/3]/9 forman otro grupo de puertos. Estos puertos son compatibles con 1000BASE-T, 1000BASE-SX, 100BASE-FX, 1000BASE-LX, 1000BASE-BX-U, 1000BASE-BX-D, 100BASE-BX-U, 100BASE-BX-D y 1000BASE-LH. Un LED etiquetado como OK/FAIL en el MIC indica el estado de la MIC. Consulte LED de tarjeta de interfaz modular en un conmutador EX9200. El MIC se envía con 20 cubiertas antipolvo para los 20 puertos. Véase la Figura 6.

      Figura 6: EX9200-20F-MIC EX9200-20F-MIC
        1
      INDICADORES LED para los puertos
        3
      MIC LED
        2
      Puertos 1 Gigabit Ethernet
        4
      Botón de encendido MIC
    • EX9200-40T-MIC, que tiene 40 puertos RJ-45, que pueden aceptar conectores RJ-45. Los puertos se dividen en tres grupos de puertos. Los puertos etiquetados de 0/1 a 1/5 y 0/0 a 1/4 grupo pic0de puertos de forma, los puertos etiquetados de 1/7 a 2/3 y de 1/6 a 2/2 grupo pic1de puertos de forma, y los puertos etiquetados de 2/5 a 3/9 y 2/4 a 3/8 grupo pic2de puertos de forma. Un LED etiquetado como OK/FAIL en el MIC indica el estado de la MIC. Consulte LED de tarjeta de interfaz modular en un conmutador EX9200. Véase la figura 7.

      Figura 7: EX9200-40T-MIC EX9200-40T-MIC
        1
      LED de vínculo/actividad para los puertos
        4
      Botón de encendido MIC
        2
      LED de estado de los puertos
        5
      MIC LED
        3
      Puertos RJ-45
       
  • Paneles de cubierta: dos paneles de cubierta que cubren las ranuras MIC.

  • LED de tarjeta de línea: un LED etiquetado como OK/FAIL, que indica el estado de la tarjeta de línea. Consulte LED de tarjeta de línea en un conmutador EX9200.

  • LEDs de puerto de red: cada puerto del EX9200-10XS-MIC y cada puerto del EX9200-20F-MIC tiene un LED, el LED de vínculo/actividad, que indica el estado del vínculo y la actividad en el puerto. Cada puerto del EX9200-40T-MIC tiene otro LED, el LED de estado, que indica el estado de los parámetros del puerto. Consulte Indicadores LED de puerto de red en tarjetas en línea en un conmutador EX9200.

Tarjeta de línea EX9200-12QS

Las tarjetas de línea de los conmutadores EX9200 combinan un motor de reenvío de paquetes e interfaces Ethernet en un solo conjunto. Las tarjetas de línea son unidades reemplazables en campo (FRUs) que puede instalar en las ranuras de tarjeta de línea en la parte frontal del chasis del conmutador. Las tarjetas de línea son insertables en caliente y extraíbles en caliente: puede quitarlas y reemplazarlas sin apagar el conmutador ni interrumpir las funciones del conmutador.

Modelos de tarjetas de línea

En la tabla 6 se muestra el número de modelo, la descripción del modelo de tarjeta de línea y la versión de Junos OS en la que se admite por primera vez la tarjeta de línea.

Tabla 6: Tarjeta de línea EX9200-12QS

Modelo

Descripción

Se requiere la versión de Junos OS

EX9200-12QS

Una tarjeta de línea con 12 puertos de velocidad seleccionables, cada uno de los cuales puede alojar transceptores. Todos los puertos pueden operar a velocidades de 10 y 40 Gbps. Los puertos están configurados para funcionar a una velocidad de 10 Gbps de forma predeterminada. Los puertos etiquetados 0/2, 0/5, 1/2 y 1/5 (véase la Figura 8) también pueden funcionar a velocidades de 100 Gbps. La tarjeta de línea admite unidades máximas de transmisión (TMT) de 256 bytes a 9192 bytes.

16.1R1 o posterior

Nota:

Para que la tarjeta de línea EX9200-12QS esté operativa, debe instalar el módulo de estructura de conmutador EX9200-SF2 (módulo SF) en el conmutador. Consulte Módulo de estructura de conmutador en un conmutador EX9200 e Instalación de un módulo SF en un conmutador EX9200.

La Figura 8 muestra los componentes de una tarjeta de línea EX9200-12QS.

Figura 8: Tarjeta de línea EX9200-12QS EX9200-12QS Line Card
  1
Palanca del eyector
  3
Puertos Ethernet de 10G/40G/100G
  2
INDICADORES LED de tarjeta de línea
  4
LED de vínculo/actividad para los puertos Ethernet 10G/40G/100G

Puede usar el show version comando para ver la versión de Junos OS para conmutadores de la serie EX cargada en el conmutador.

Componentes de la tarjeta de línea

La tarjeta de línea EX9200-12QS tiene:

  • Puertos Gigabit Ethernet de doce velocidades seleccionables. Todos los puertos pueden operar a velocidades de 10 y 40 Gbps. Los puertos están configurados para funcionar a una velocidad de 10 Gbps de forma predeterminada. Los puertos etiquetados 0/2, 0/5, 1/2 y 1/5 (véase la Figura 8) también pueden funcionar a velocidades de 100 Gbps. Puede configurar la velocidad del puerto mediante el siguiente comando:

    • Puede configurar un puerto para que funcione a una velocidad de 10 Gbps. Si configura los puertos para que funcionen a una velocidad de 10 Gbps, cada puerto funcionará como cuatro interfaces de 10 Gbps.

    • Puede configurar un puerto para que funcione a una velocidad de 40 Gbps e instalar un transceptor QSFP+ de 40 Gigabit en el puerto.

    • Puede configurar los puertos etiquetados como 0/2, 0/5, 1/2 y 1/5 (consulte la Figura 8) para que funcionen a una velocidad de 100 Gbps e instalen transceptores QSFP+ de 100 Gigabit en estos puertos.

  • Doce cubiertas antipolvo para los puertos

  • LED de tarjeta de línea: un LED etiquetado como OK/FAIL, que indica el estado de la tarjeta de línea. Consulte LED de tarjeta de línea en un conmutador EX9200.

  • LED de puerto de red: cuatro LED para cada puerto de red, el LED de vínculo/actividad, que indica el estado del vínculo y la actividad en el puerto. Consulte Indicadores LED de puerto de red en tarjetas en línea en un conmutador EX9200.

    Hay cuatro INDICADORES LED etiquetados como 0, 1, 2 y 3 para cada puerto (consulte la Figura 8). Si un puerto está configurado para funcionar a una velocidad de 10 Gbps, se crean cuatro interfaces de 10 Gbps y los INDICADORES LED etiquetados como 0, 1, 2 y 3 para ese puerto se vuelven operativos. Cada uno de estos INDICADORES indica el vínculo/actividad en cada interfaz en el puerto correspondiente. Si un puerto está configurado para funcionar a una velocidad de 40 Gbps, el LED etiquetado como 0 para ese puerto se vuelve operativo. Si los puertos etiquetados 0/2, 0/5, 1/2 y 1/5 están configurados para funcionar a una velocidad de 100 Gbps, el LED etiquetado como 3 para cada uno de estos puertos se vuelve operativo.

Puede encontrar la lista de transceptores compatibles con la tarjeta de línea EX9200-12QS en la página herramienta de compatibilidad de hardware para la tarjeta de línea EX9200-12QS.

Los puertos se dividen en dos grupos de puertos. Los seis puertos etiquetados de 0/0 a 0/5 forman un grupo de puertos, PIC 0. Los seis puertos etiquetados de 1/0 a 1/5 forman el otro grupo de puertos, PIC 1. Los puertos de cada grupo comparten 240 gigabits de ancho de banda. Por lo tanto, puede transmitir hasta 240 gigabits de tráfico a través de un grupo de puertos sin pérdida de paquetes.

Tarjeta de línea EX9200-15C

Las tarjetas de línea de los conmutadores EX9200 combinan un motor de reenvío de paquetes e interfaces Ethernet en un solo conjunto. Las tarjetas de línea son unidades reemplazables en campo (FRUs) que puede instalar en las ranuras de tarjeta de línea en la parte frontal del chasis del conmutador. Las tarjetas de línea son insertables en caliente y extraíbles en caliente: puede quitarlas y reemplazarlas sin apagar el conmutador ni interrumpir las funciones del conmutador.

Modelos de tarjetas de línea

En la tabla 7 se muestra el número de modelo, la descripción del modelo de tarjeta de línea y la versión de Junos OS en la que se admite por primera vez la tarjeta de línea.

Tabla 7: Tarjeta de línea EX9200-15C

Modelo

Descripción

Se requiere la versión de Junos OS

Nombre en la CLI

EX9200-15C

  • Tarjeta de línea de configuración fija con 15 puertos de velocidad seleccionables. Todos los puertos pueden funcionar a velocidades de 10 Gbps, 25 Gbps, 40 Gbps o 100 Gbps. Los puertos están configurados para funcionar a una velocidad de 100 Gbps de forma predeterminada.

  • Transferencia de datos de velocidad de línea de hasta 1,5 Tbps cuando se instala con un plano medio mejorado.

    Nota:

    En la CLI, cuando se ejecuta el show chassis hardware comando, la descripción del plano medio dirá <platform>-BP3 para un plano medio mejorado. El EX9214 solo usa planos medios mejorados.

  • Transferencia de datos de velocidad de línea de hasta 800 Gbps cuando se instala con un plano medio estándar.

    Nota:

    En la CLI, cuando se ejecuta el show chassis hardware comando, la descripción del plano medio dirá <platform>-BP para un plano medio estándar.

  • Admite unidades máximas de transmisión (UMT) de 256 bytes a 16 000 bytes para el tráfico de tránsito, y de 256 bytes a 9500 bytes para paquetes enlazados por host.

20.3R1 o posterior

EX9200-15C

Nota:
  • Para que la tarjeta de línea EX9200-15C esté operativa, debe instalar el módulo de estructura de conmutador EX9200-SF3 (módulo SF) en el conmutador. Consulte Módulo EX9200-SF3 en un conmutador EX9200.

  • Para lograr el máximo rendimiento de velocidad de línea, el modo de redundancia de estructura de la tarjeta de línea debe configurarse en modo de mayor ancho de banda.

  • Para lograr el máximo rendimiento, debe instalarse en el sistema la siguiente cantidad de módulos SF EX9200-SF3:

    • EX9214: tres módulos EX9200-SF3 SF

    • EX9204 y EX9208: dos módulos EX9200-SF3 SF

La Figura 9 muestra los componentes de una tarjeta de línea EX9200-15C.

Figura 9: Tarjeta EX9200-15C Line Card de línea EX9200-15C
  1
OK/FAIL LED
  4
Botón presencia física
  2
LED de carril
  5
LED de puerto
  3
Puertos de red
 

Puede usar el show version comando para ver la versión de Junos OS para conmutadores de la serie EX cargada en el conmutador.

Componentes de la tarjeta de línea

La tarjeta de línea EX9200-15C tiene:

  • Quince puertos de red que se pueden configurar para 10 Gbps, 25 Gbps, 40 Gbps o 100 Gbps (los cables de salida se utilizan para velocidades de 10 Gbps y 25 Gbps).

  • La tarjeta entreplanta del procesador del conmutador (SPMB) consta de una CPU Intel Broadwell de 8 núcleos de 1,6 GHz, SSD SATA de 100 GB y dos módulos DRAM DDR4 ECC de 16 GB.

  • Tres motores de reenvío de paquetes, cada uno con un ancho de banda máximo de 500 Gbps.

  • Silicio Juniper Trio 5 para aumentar el escalamiento del ancho de banda, los suscriptores y los servicios.

Nota:

En conmutadores EX9214, el EX9200-15C no se admite en las ranuras de tarjeta de línea numeradas 0, 1 y 11.

Requisitos de alimentación del EX9200-15C

Los números de energía se miden mediante la siguiente configuración:

  • Reenvío IPv4 con tamaño de paquete de 200 bytes

  • Tráfico de velocidad de línea en todos los puertos para un ancho de banda agregado de 1,5 Tbps

  • Los 15 puertos están configurados para 100 GbE, con transceptores QSFP28 LR4 instalados en todos los puertos

A diferentes temperaturas:

  • 104 ° F (40 ° C): 785 W

  • 77 ° F (25 ° C): 720 W

LED EX9200-15C

ACEPTAR/FALLAR LED, un bicolor:

  • Verde: el MPC funciona normalmente.

  • Red— MPC falló.

LED de puerto:

  • Desactivado: el enlace del puerto está caído con pérdida de señal.

  • Verde: el enlace del puerto está activo sin alarmas ni fallas.

  • Amber: el enlace del puerto está inactivo con alarmas. O el puerto se ha deshabilitado administrativamente mediante la CLI.

  • Rojo: un transceptor en el puerto experimenta un error.

LED de carril:

Hay cuatro LED de carril, que son compartidos por los puertos de red. Los LED de carril funcionan con el software Junos OS para determinar para qué puerto los LED de carril muestran el estado.

Los LED de carril se utilizan para las siguientes configuraciones:

  • Cuando un puerto de red está configurado para 4 x interfaces canalizadas de 10 GbE con un cable de salida.

  • Cuando un puerto de red está configurado para 4 x interfaces canalizadas de 25 GbE con un cable de salida.

Cables y conectores

Puede utilizar la Herramienta de compatibilidad de hardware para encontrar información acerca de los transceptores conectables compatibles con su dispositivo Juniper Networks.

La lista de transceptores compatibles para la serie EX se encuentra en Transceptores compatibles con la serie EX.

Tarjeta de línea EX9200-32XS

Las tarjetas de línea de los conmutadores EX9200 combinan un motor de reenvío de paquetes e interfaces Ethernet en un solo conjunto. Son unidades reemplazables en campo (FRUs) que puede instalar en las ranuras de tarjeta de línea en la parte frontal del chasis del conmutador. Las tarjetas de línea son insertables en caliente y extraíbles en caliente: puede quitarlas y reemplazarlas sin apagar el conmutador ni interrumpir las funciones del conmutador.

Modelos de tarjetas de línea

En la tabla 8 se muestra el número de modelo, la descripción del modelo de tarjeta de línea y la versión de Junos OS en la que se admite por primera vez la tarjeta de línea.

Tabla 8: Tarjeta de línea EX9200-32XS

Modelo

Descripción

Se requiere la versión de Junos OS

EX9200-32XS

Una tarjeta de línea con 32 puertos Ethernet de 10 Gigabit, cada uno de los cuales puede alojar transceptores conectables plus de factor de forma pequeño de 10 Gigabit (SFP+)

12.3R2 o posterior

Véase la figura 10.

Figura 10: Tarjeta de línea EX9200-32XS EX9200-32XS Line Card
  1
Palanca del eyector
  3
INDICADORES LED para los puertos
  2
LED de tarjeta de línea
  4
Puertos Ethernet de 10 Gigabit

Puede usar el show version comando para ver la versión de Junos OS para conmutadores de la serie EX cargada en el conmutador.

Componentes de la tarjeta de línea

La tarjeta de línea tiene:

Los puertos se dividen en dos grupos de puertos de 16 puertos cada uno: los puertos etiquetados de 0/0 a 0/7 y de 1/0 a 1/7 forman un grupo de puertos; los puertos etiquetados del 2/0 al 2/7 y del 3/0 al 3/7 forman el otro grupo de puertos. Los puertos de cada grupo comparten 130 gigabits de ancho de banda. Por lo tanto, puede transmitir hasta 130 gigabits de tráfico a través de un grupo de puertos, sin pérdida de paquetes.

Tarjeta de línea EX9200-40T

Las tarjetas de línea de los conmutadores EX9200 ofrecen servicios de reenvío de paquetes. Son unidades reemplazables en campo (FRUs) que puede instalar en las ranuras de tarjeta de línea en la parte frontal del chasis del conmutador. Las tarjetas de línea son insertables en caliente y extraíbles en caliente: puede quitarlas y reemplazarlas sin apagar el conmutador ni interrumpir las funciones del conmutador.

Modelos de tarjetas de línea

La tabla 9 muestra el número de modelo, la descripción del modelo de tarjeta de línea y la versión de Junos OS en la que se admite la tarjeta de línea por primera vez.

Tabla 9: Tarjeta de línea EX9200-40T

Modelo

Descripción

Se requiere la versión de Junos OS

EX9200-40T

Una tarjeta de línea con 40 puertos RJ-45 compatibles con conectores RJ-45

12.3R2 o posterior

Véase la figura 11.

Figura 11: Tarjeta EX9200-40T Line Card de línea EX9200-40T
  1
Palanca del eyector
  4
INDICADORES LED para los puertos
  2
LED de tarjeta de línea
  5
Puertos RJ-45
  3
MIC LED
 

Puede usar el show version comando para ver la versión de Junos OS para conmutadores de la serie EX cargada en el conmutador.

Componentes de la tarjeta de línea

La tarjeta de línea EX9200-40T tiene:

Tarjeta de línea EX9200-40F

Las tarjetas de línea de los conmutadores EX9200 combinan un motor de reenvío de paquetes e interfaces Ethernet en un solo conjunto. Son unidades reemplazables en campo (FRUs) que puede instalar en las ranuras de tarjeta de línea en la parte frontal del chasis del conmutador. Las tarjetas de línea son insertables en caliente y extraíbles en caliente: puede quitarlas y reemplazarlas sin apagar el conmutador ni interrumpir las funciones del conmutador.

Modelos de tarjetas de línea

En la Tabla 10 se muestra el número de modelo, la descripción del modelo de tarjeta de línea y la versión de Junos OS en la que se admite por primera vez la tarjeta de línea.

Tabla 10: Tarjeta de línea EX9200-40F

Modelo

Descripción

Se requiere la versión de Junos OS

EX9200-40F

Una tarjeta de línea con 40 puertos 1 Gigabit Ethernet, cada uno de los cuales puede alojar transceptores conectables de factor de forma pequeño (SFP) de 1 Gigabit

12.3R2 o posterior

Véase la figura 12.

Figura 12: Tarjeta EX9200-40F Line Card de línea EX9200-40F
  1
Palanca del eyector
  4
INDICADORES LED para los puertos
  2
LED de tarjeta de línea
  5
Puertos 1 Gigabit Ethernet
  3
MIC LED
 

Puede usar el show version comando para ver la versión de Junos OS para conmutadores de la serie EX cargada en el conmutador.

Componentes de la tarjeta de línea

La tarjeta de línea EX9200-40F tiene:

Los puertos etiquetados de 0/0 a 0/9 pic 0 y los puertos etiquetados de 1/0 a 1/9 de forma pic 1. Los puertos etiquetados de 2/0 a 2/9 pic 2 y los puertos etiquetados de 3/0 a 3/9 de forma pic 3.

Tarjeta de línea EX9200-40F-M

Las tarjetas de línea de los conmutadores EX9200 combinan un motor de reenvío de paquetes e interfaces Ethernet en un solo conjunto. Las tarjetas de línea son unidades reemplazables en campo (FRUs) que puede instalar en las ranuras de tarjeta de línea en la parte frontal del chasis del conmutador. Las tarjetas de línea son insertables en caliente y extraíbles en caliente: puede quitarlas y reemplazarlas sin apagar el conmutador ni interrumpir las funciones del conmutador.

Modelos de tarjetas de línea

En la Tabla 11 se muestra el número de modelo, la descripción del modelo de tarjeta de línea y la versión de Junos OS en la que la tarjeta de línea fue compatible por primera vez.

Tabla 11: Tarjeta de línea EX9200-40F-M

Modelo

Descripción

Se requiere la versión de Junos OS

EX9200-40F-M

Una tarjeta de línea con 40 puertos 1 Gigabit Ethernet con capacidad de seguridad de control de acceso a medios (MACsec), cada uno de los cuales puede alojar transceptores de factor de forma pequeño conectables (SFP) de 1 Gigabit. La tarjeta de línea EX9200-40F-M admite el estándar de seguridad MAC 802.1AE IEEE (también conocido como MACsec) con cifrado AES-128 bits, lo que proporciona soporte para la confidencialidad de datos de capa de vínculo, integridad de datos y autenticación de origen de los datos. Debe aplicar una sola licencia (EX9200-SFL) para habilitar MACsec.

14.2R1 o posterior

Véase la Figura 13.

Figura 13: Tarjeta de línea EX9200-40F-M EX9200-40F-M Line Card
  1
Palanca del eyector
  4
INDICADORES LED para los puertos
  2
LED de tarjeta de línea
  5
Puertos 1 Gigabit Ethernet con capacidad MACsec
  3
MIC LED
 

Puede usar el show version comando para ver la versión de Junos OS para conmutadores de la serie EX cargada en el conmutador.

Componentes de la tarjeta de línea

La tarjeta de línea EX9200-40F-M tiene:

Los puertos etiquetados de forma 0/0 a 0/9pic 0. Los puertos etiquetados de 1/0 a 1/9 de forma pic 1. Los puertos etiquetados de forma 2/0 a 2/9 pic 2. Los puertos etiquetados de 3/0 a 3/9 de forma pic 3.

Tarjeta de línea EX9200-40XS

Las tarjetas de línea de los conmutadores EX9200 combinan un motor de reenvío de paquetes e interfaces Ethernet en un solo conjunto. Las tarjetas de línea son unidades reemplazables en campo (FRUs) que puede instalar en las ranuras de tarjeta de línea en la parte frontal del chasis del conmutador. Las tarjetas de línea son insertables en caliente y extraíbles en caliente: puede quitarlas y reemplazarlas sin apagar el conmutador ni interrumpir las funciones del conmutador.

Modelos de tarjetas de línea

En la Tabla 12 se muestra el número de modelo, la descripción del modelo de tarjeta de línea y la versión de Junos OS en la que se admite por primera vez la tarjeta de línea.

Tabla 12: Tarjeta de línea EX9200-40XS

Modelo

Descripción

Se requiere la versión de Junos OS

EX9200-40XS

Una tarjeta de línea con 40 puertos de 10 Gigabit Ethernet con capacidad de seguridad de control de acceso a medios (MACsec), cada uno de los cuales puede alojar transceptores de formato pequeño conectables plus (SFP+) de 10 Gigabit. La tarjeta de línea EX9200-40XS admite el estándar de seguridad MAC IEEE 802.1AE (también conocido como MACsec) con cifrado AES-128 bits y cifrado AES-256 bits, lo que proporciona soporte para la confidencialidad de datos de capa de vínculo, integridad de datos y autenticación de origen de datos. Debe aplicar una sola licencia (EX9200-SFL) para habilitar MACsec.

16.1R1 o posterior

Nota:

Para que la tarjeta de línea EX9200-40XS esté operativa, debe instalar el módulo estructura de conmutador EX9200-SF2 en el conmutador. Consulte Módulo de estructura de conmutador en un conmutador EX9200 e Instalación de un módulo SF en un conmutador EX9200.

La Figura 14 muestra los componentes de una tarjeta de línea EX9200-40XS.

Figura 14: Tarjeta de línea EX9200-40XS EX9200-40XS Line Card
  1
Palanca del eyector
  3
Indicadores LED para los puertos de 10 Gigabit Ethernet
  2
INDICADORES LED de tarjeta de línea
  4
Puertos Ethernet de 10 Gigabit con capacidad MACsec

Puede usar el show version comando para ver la versión de Junos OS para conmutadores de la serie EX cargada en el conmutador.

Componentes de la tarjeta de línea

La tarjeta de línea EX9200-40XS tiene:

Los puertos se dividen en dos grupos de puertos de 20 puertos cada uno. Los puertos de 10 Gigabit Ethernet etiquetados de 0/0 a 0/19 forman un grupo de puertos. Los puertos de 10 Gigabit Ethernet etiquetados del 1/0 al 1/19 forman el otro grupo de puertos. Los puertos de cada grupo comparten 200 gigabits de ancho de banda. Por lo tanto, puede transmitir hasta 200 gigabits de tráfico a través de cada grupo de puertos, sin pérdida de paquetes.

LED de tarjeta de línea en un conmutador EX9200

Las tarjetas de línea de los conmutadores EX9200 tienen un LED etiquetado OK/FAIL en la placa facial que indica la información del estado en línea de las tarjetas de línea.

En la tabla 13 se describen las tarjetas led en línea para conmutadores EX9200, sus colores y estado, y el estado que indica. Para obtener más información acerca de los INDICADORES de la tarjeta de línea EX9200-15C, consulte Tarjeta de línea EX9200-15C.

Tabla 13: Tarjetas led en línea para conmutadores EX9200

LED

Color

Estado y descripción

ACEPTAR/FALLAR

Verde

  • Encendido de forma constante: la tarjeta de línea funciona con normalidad.

  • Parpadeo: la tarjeta de línea está en transición en línea o sin conexión.

Canchas

La tarjeta de línea no está en línea.

Rojo

La tarjeta de línea ha fallado.

Indicadores LED de puerto de red en tarjetas en línea en un conmutador EX9200

Cada puerto SFP, SFP+, QSFP+, CFP y RJ-45 en la placa frontal de las tarjetas de línea tiene un LED, el LED de vínculo/actividad, que indica el estado del vínculo y la actividad en el puerto. Cada puerto RJ-45 tiene un LED adicional, el LED de estado, que indica el estado de los parámetros del puerto.

En la tabla 14 se describe el LED de vínculo/actividad. Para obtener más información acerca de los INDICADORES de la tarjeta de línea EX9200-15C, consulte Tarjeta de línea EX9200-15C.

Tabla 14: Indicadores LED de puerto de red en tarjetas en línea en un conmutador EX9200— LED de vínculo/actividad

LED

Color

Estado y descripción

Vínculo/actividad

Verde

  • Encendido de forma constante: el puerto y el vínculo están activos, pero no hay actividad de vínculo.

  • Parpadeo: el puerto y el vínculo están activos, y hay actividad de vínculo.

  • Desactivado: el puerto no está activo.

Amarillo (aplicable solo para los puertos de 40 Gigabit Ethernet en la tarjeta de línea EX9200-6QS)

Encendido de forma constante: el vínculo está deshabilitado.

El LED de estado en el puerto de red Ethernet RJ-45 10/100/1000BASE-T indica el estado de uno de los tres parámetros de puerto: estado administrativo, velocidad y estado del modo dúplex.

En la tabla 15 se describe el LED de estado.

Tabla 15: Indicadores LED de puerto de red en tarjetas en línea en un conmutador EX9200— LED de estado

LED

Indicador LCD

Estado, color y descripción

Estado

LED: ADM

Indica el estado administrativo (habilitado o deshabilitado). Los indicadores de estado son:

  • Verde: estado administrativo habilitado.

  • Amarillo: el puerto está inactivo.

  • Sin luz: estado administrativo deshabilitado.

LED: SPD

Indica la velocidad. Los indicadores de velocidad son diferentes en las tarjetas de línea.

  • Sin luz: 10 Mbps

  • Verde(parpadeo) de 100 Mbps

  • Verde, encendido constantemente, a 1000 Mbps

LED: DPX

Indica el modo dúplex. Los indicadores de estado son:

  • Verde: el puerto está configurado en modo dúplex completo.

  • Sin iluminar: el puerto no está configurado en modo de dúplex completo.

LED de tarjeta de interfaz modular en un conmutador EX9200

Las tarjetas de interfaz modular (MIC) de las siguientes tarjetas de línea para conmutadores EX9200 tienen un LED etiquetado OK/FAIL en la placa frontal que indica la información de estado en línea de las MIC.

En la tabla 16 se describen las tarjetas de LED MIC en línea para conmutadores EX9200, sus colores y estado, y el estado que indica.

Tabla 16: LED MIC para conmutadores EX9200

LED

Color

Estado y descripción

ACEPTAR/FALLAR

Verde

Encendido: el MIC funciona con normalidad.

Canchas

El MIC no está en línea.

Rojo

Constantemente: el MIC ha fracasado.

Configuración de la selectibilidad de velocidad en una tarjeta de línea EX9200-12QS para habilitar diferentes velocidades de puerto

Cada uno de los seis puertos de PIC 0 y PIC 1 de una tarjeta de línea EX9200-12QS admite velocidades de puerto de 10 Gbps y 40 Gbps. Los puertos 2 y 5 de ambas PIC también admiten velocidades de puerto de 100 Gbps. Dado que la tarjeta de línea EX9200-12QS es seleccionable con velocidad, puede elegir configurar todos los puertos de cada PIC para que funcionen a la misma velocidad compatible o configurar los puertos de una PIC para que funcionen a diferentes velocidades compatibles.

Puede configurar la selectibilidad de velocidad en el nivel de PIC si desea que todos los puertos de una PIC funcionen a la misma velocidad. Es decir, puede elegir configurar una PIC para que funcione a una velocidad compatible. Por ejemplo, si configura la PIC 0 a una velocidad de 10 Gbps o 40 Gbps, todos los puertos de PIC 0 están habilitados para operar a esas velocidades. Si configura la PIC 0 a una velocidad de 100 Gbps, los puertos 2 y 5 están habilitados para funcionar a una velocidad de 100 Gbps y los demás puertos de PIC 0 se deshabilitan.

Puede configurar la selectibilidad de velocidad en cada puerto de una PIC si desea operar diferentes puertos de la tarjeta de línea a diferentes velocidades compatibles. Es decir, puede configurar cada puerto para que funcione a una velocidad especificada y compatible.

Configuración de la selectibilidad de velocidad en el nivel de PIC

Para configurar la selectibilidad de velocidad en el nivel de PIC:

  1. En el modo de configuración, vaya al [edit chassis fpc fpc-slot pic pic-number] nivel de jerarquía.

    Por ejemplo:

  2. Configure la pic-mode instrucción para establecer la velocidad operativa para los puertos de una PIC. Puede elegir entre las opciones 10G, 40G, o 100G.

    Por ejemplo:

  3. (Opcional) Puede configurar la cantidad de puertos que funcionan a la velocidad configurada en el paso 2.

    Por ejemplo, para especificar que seis puertos en PIC 0 funcionen a la velocidad especificada en el paso 2:

  4. Compruebe la configuración.
  5. Confirme los cambios de configuración.
  6. Restablezca la PIC.

Si la number-of-ports instrucción no está configurada, todos los puertos que admiten la velocidad configurada en el paso 2 están habilitados y los demás se deshabilitan. Es decir, los puertos están habilitados dependiendo de si admiten o no la velocidad especificada. Los puertos del 0 al 5 se habilitan si la velocidad especificada es de 10 o 40 Gbps; y los puertos 2 y 5 están habilitados y los demás puertos de la PIC deshabilitados si la velocidad especificada es de 100 Gbps. En la tabla 17 se enumeran los puertos físicos que se habilitan cuando se configura la number-of-ports instrucción.

Tabla 17: Puertos físicos activos en la tarjeta de línea EX9200-12QS basada en la configuración del número de puertos

Puertos configurados (number-of-ports Instrucción)

Puertos físicos activos para diferentes velocidades configuradas

10 Gigabit

40 Gigabit

100 Gigabit

1

0

0

2

2

0, 1

0, 1

2, 5

3

0, 1, 2

0, 1, 2

2, 5

4

0, 1, 2, 3

0, 1, 2, 3

2, 5

5

0, 1, 2, 3, 4

0, 1, 2, 3, 4

2, 5

6

0, 1, 2, 3, 4, 5

0, 1, 2, 3, 4, 5

2, 5

Configuración de la selectibilidad de velocidad a nivel de puerto

Para configurar la selectibilidad de velocidad en el nivel de puerto:

  1. En el modo de configuración, vaya al [edit chassis fpc fpc-slot pic pic-number] nivel de jerarquía.

    Por ejemplo:

  2. Para indicar la velocidad a la que funcionan los puertos, configure la speed instrucción para puertos específicos. Las opciones disponibles son 10g, 40gy 100g.

    Por ejemplo:

    Nota:

    Los seis puertos de PIC 0 y PIC 1 de un EX9200-12QS admiten velocidades de puerto de 10 Gbps y 40 Gbps. Sin embargo, solo los puertos 2 y 5 de ambas PIC admiten velocidades de 100 Gbps.

  3. Compruebe la configuración.
  4. Confirme los cambios de configuración.
  5. Restablezca la PIC.
Nota:

Tenga en cuenta lo siguiente cuando configure la selectibilidad de velocidad en una tarjeta de línea EX9200-12QS:

  • Cuando arranque la tarjeta de línea:

    • Si la selectibilidad de velocidad no está configurada, todos los puertos de la tarjeta de línea funcionan a la velocidad predeterminada como cuatro interfaces de 10 Gigabit Ethernet.

    • Si la selección de velocidad está configurada con velocidades de puerto no válidas, todos los puertos para los que se configuraron velocidades no válidas operarán a la velocidad predeterminada.

    • Si se configuran velocidades de puerto válidas, los puertos funcionan a las velocidades configuradas.

  • Cuando cambie una configuración existente de velocidad de puerto, para que la configuración tenga efecto, debe hacer una de las siguientes acciones:

    • Restablezca las PIC a las que pertenecen los puertos configurados mediante el request chassis pic pic-slot pic-slot-number fpc-slot fpc-slot-number (online | offline) comando. Dado que el restablecimiento de la tarjeta de línea lleva varios minutos y porque afecta a todos los motores de reenvío de paquetes, utilice este comando para aplicar rápidamente los cambios de configuración.

    • Restablecer la tarjeta de línea

    Se genera una alarma que indica el cambio en la configuración de la velocidad del puerto.

  • Cuando cambia una configuración existente de velocidad de puerto a una configuración de velocidad de puerto no válida y confirma la configuración, se genera una alarma que indica que la configuración de puerto-velocidad no es válida. El puerto sigue funcionando a la velocidad de puerto existente.

  • No puede configurar la selectibilidad de velocidad a nivel de PIC y puerto simultáneamente. Los mensajes de error se muestran cuando intenta confirmar dichas configuraciones.

  • Si configura la selectibilidad de velocidad en el nivel de puerto, las interfaces lógicas solo se crean en los puertos configurados. No se crean interfaces lógicas en los otros puertos.