Help us improve your experience.

Let us know what you think.

Do you have time for a two-minute survey?

 
 

Tarjetas de línea EX9200

Modelo de tarjeta de línea y compatibilidad de versión en un conmutador EX9200

Nota:

Si va a instalar tarjetas de línea liberadas después de Junos OS versión 14.1, asegúrese de que el módulo de estructura de conmutador (módulo SF) EX9200-SF2 esté instalado en el chasis del conmutador.

La tabla 1 muestra los números de modelo, la descripción de la tarjeta de línea, la versión de Junos OS en la que se admite la tarjeta de línea primero y el módulo de estructura de conmutador (módulo SF) que se debe instalar en el conmutador para admitir cada tarjeta de línea.

Tabla 1: Modelos de tarjetas de línea para conmutadores EX9200

Número de modelo

Descripción

Primera versión de Junos OS

Se requiere un módulo SF

EX9200-2C-8XS

Tarjeta de línea con dos puertos 100 Gigabit Ethernet y ocho puertos 10 Gigabit Ethernet

Consulte Tarjeta de línea EX9200-2C-8XS

13.2R1

EX9200-SF o EX9200-SF2

EX9200-4QS

Una tarjeta de línea con cuatro puertos 40 Gigabit Ethernet

Consulte Tarjeta de línea EX9200-4QS

12.3R2

EX9200-SF o EX9200-SF2

EX9200-6QS

Tarjeta de línea con seis puertos 40 Gigabit Ethernet y 24 puertos 10 Gigabit Ethernet

Consulte Tarjeta de línea EX9200-6QS

14.2R1

PRECAUCIÓN:

Junos OS versión 14.2R1 admite la tarjeta de línea EX9200-6QS, excepto para una configuración específica. Consulte las Notas de la versión de Junos OS 14.2R2 para el problema conocido PR1068396 para determinar si esa configuración se aplica al conmutador y qué versión usar si se aplica la configuración.

EX9200-SF o EX9200-SF2

EX9200-MPC

Una tarjeta de línea modular que acepta cualquiera de las siguientes MIC:

  • EX9200-10XS-MIC

  • EX9200-20F-MIC

  • EX9200-40T-MIC

Consulte Tarjeta de línea EX9200-MPC

15.1R3

EX9200-SF, EX9200-SF2 o EX9200-SF3

EX9200-12QS

Una tarjeta de línea con 12 puertos de 40 Gigabit Ethernet seleccionables por velocidad, cada uno de los cuales puede albergar transceptores

Consulte Tarjeta de línea EX9200-12QS

16.1R1

EX9200-SF2 o EX9200-SF3

EX9200-15C

Una tarjeta de línea con 15 puertos seleccionables por velocidad. Todos los puertos pueden operar a velocidades de 10, 25, 40 o 100 Gbps

Consulte Tarjeta de línea EX9200-15C

20.3R1

EX9200-SF3

EX9200-32XS

Tarjeta de línea con 32 puertos 10 Gigabit Ethernet

Consulte Tarjeta de línea EX9200-32XS

12.3R2

EX9200-SF, EX9200-SF2 o EX9200-SF3

EX9200-40T

Tarjeta de línea con 40 puertos 10/100/1000BASE-T compatibles con conectores RJ-45

Consulte Tarjeta de línea EX9200-40T

12.3R2

EX9200-SF o EX9200-SF2

EX9200-40F

Una tarjeta de línea con 40 puertos 1 Gigabit Ethernet

Consulte Tarjeta de línea EX9200-40F

12.3R2

EX9200-SF o EX9200-SF2

EX9200-40F-M

Tarjeta de línea con 40 puertos 1 Gigabit Ethernet con capacidad de seguridad de control de acceso a medios (MACsec)

Consulte Tarjeta de línea EX9200-40F-M

14.2R1

EX9200-SF o EX9200-SF2

EX9200-40XS

Una tarjeta de línea con 40 puertos 10 Gigabit Ethernet con capacidad de seguridad de control de acceso a medios (MACsec), cada uno de los cuales puede albergar transceptores enchufables de factor de forma pequeño de 10 Gigabit más (SFP+)

Consulte Tarjeta de línea EX9200-40XS

16.1R1

EX9200-SF2 o EX9200-SF3

Asegúrese de que todas las tarjetas de línea de un conmutador sean compatibles con la versión de Junos OS que desea usar.

Tarjeta de línea EX9200-2C-8XS

Las tarjetas de línea en conmutadores EX9200 combinan un motor de reenvío de paquetes y interfaces Ethernet en un solo ensamblado. Las tarjetas de línea son unidades reemplazables en campo (FPU) que puede instalar en las ranuras de tarjeta de línea en la parte frontal del chasis del conmutador. Las tarjetas de línea son insertables en caliente y extraíbles en caliente: puede quitarlas y reemplazarlas sin apagar el conmutador ni interrumpir las funciones del conmutador.

Modelos de tarjetas de línea

La tabla 2 muestra el número de modelo, la descripción del modelo de tarjeta de línea y la versión de Junos OS en la que se admite la tarjeta de línea primero.

Tabla 2: Tarjeta de línea EX9200-2C-8XS

Modelo

Descripción

Se requiere la versión de Junos OS

EX9200-2C-8XS

Una tarjeta de línea con dos puertos 100 Gigabit Ethernet, cada uno de los cuales puede albergar transceptores enchufables de factor de forma (CFP) de 100 gigabit C; y ocho puertos Ethernet de 10 Gigabit, cada uno de los cuales puede albergar transceptores enchufables de factor de forma pequeño de 10 gigabit más (SFP+)

13.2R1 o posterior

Consulte la figura 1

Figura 1: Tarjeta de línea EX9200-2C-8XS EX9200-2C-8XS Line Card
  1
Palancas eyectoras
  4
Puertos Ethernet de 100 Gigabit
  2
LED de tarjeta de línea
  5
INDICADORES LED para los puertos 100 Gigabit Ethernet
  3
INDICADORES LED para los puertos 10 Gigabit Ethernet
  6
Puertos Ethernet de 10 Gigabit

Puede usar el show version comando para ver la versión de Junos OS para conmutadores de la serie EX cargados en el conmutador.

Componentes de tarjeta de línea

La tarjeta de línea EX9200-2C-8XS tiene:

  • Dos puertos 100 Gigabit Ethernet, cada uno de los cuales puede albergar transceptores CFP. Estos puertos son compatibles con transceptores 100GBASE-LR4 y 100GBASE-SR10.

  • Ocho puertos Ethernet de 10 Gigabit, cada uno de los cuales puede albergar transceptores SFP+. Estos puertos son compatibles con transceptores 10GBASE-SR, 10GBASE-LR, 10GBASE-ER y 10GBASE-ZR.

  • Dos cubiertas antipolvo para los dos puertos 100 Gigabit Ethernet y ocho cubiertas antipolvo para los ocho puertos 10 Gigabit Ethernet

  • LED de tarjeta de línea: un LED etiquetado como OK/FAIL, que indica el estado de la tarjeta de línea. Consulte LED de tarjeta de línea en un conmutador EX9200.

  • INDICADORES LED para los puertos: un LED en cada puerto, el LED de vínculo/actividad, que indica el estado y la actividad del vínculo en el puerto. Consulte Indicadores LED de puerto de red en tarjetas de línea en un conmutador EX9200.

Los puertos se dividen en dos grupos de puertos. Los cuatro puertos 10 Gigabit Ethernet etiquetados como 0/0 a 0/3 y el puerto 100 Gigabit Ethernet etiquetado como 1/0 forman un grupo de puertos. Los cuatro puertos 10 Gigabit Ethernet etiquetados como 2/0 a 2/3 y el puerto 100 Gigabit Ethernet etiquetado como 3/0 forman el otro grupo de puertos. Los puertos de cada grupo comparten 130 gigabits de ancho de banda. Por lo tanto, puede transmitir hasta 130 Gigabits de tráfico a través de un grupo de puertos, sin caída de paquetes.

Tarjeta de línea EX9200-4QS

Las tarjetas de línea en conmutadores EX9200 combinan un motor de reenvío de paquetes y interfaces Ethernet en un solo ensamblado. Son unidades reemplazables en campo (FPU) que puede instalar en las ranuras de tarjeta de línea en la parte frontal del chasis del conmutador. Las tarjetas de línea son insertables en caliente y extraíbles en caliente: puede quitarlas y reemplazarlas sin apagar el conmutador ni interrumpir las funciones del conmutador.

Modelos de tarjetas de línea

La tabla 3 muestra el número de modelo, la descripción del modelo de tarjeta de línea y la versión de Junos OS en la que se admite la tarjeta de línea primero.

Tabla 3: Tarjeta de línea EX9200-4QS

Modelo

Descripción

Se requiere la versión de Junos OS

EX9200-4QS

Una tarjeta de línea con cuatro puertos 40 Gigabit Ethernet, cada uno de los cuales puede albergar transceptores enchufables de factor de forma pequeño de 40 Gigabit plus (QSFP+)

12.3R2 o posterior

Consulte la figura 2.

Figura 2: Tarjeta de línea EX9200-4QS EX9200-4QS Line Card
  1
Palanca de eyector
  4
Indicadores LED para los puertos
  2
LED de tarjeta de línea
  5
Puertos 40 Gigabit Ethernet
  3
MIC LED
 

Puede usar el show version comando para ver la versión de Junos OS para conmutadores de la serie EX cargados en el conmutador.

Componentes de tarjeta de línea

La tarjeta de línea EX9200-4QS tiene:

Tarjeta de línea EX9200-6QS

Las tarjetas de línea en conmutadores EX9200 combinan un motor de reenvío de paquetes y interfaces Ethernet en un solo ensamblado. Las tarjetas de línea son unidades reemplazables en campo (FPU) que puede instalar en las ranuras de tarjeta de línea en la parte frontal del chasis del conmutador. Las tarjetas de línea son insertables en caliente y extraíbles en caliente: puede quitarlas y reemplazarlas sin apagar el conmutador ni interrumpir las funciones del conmutador.

Modelos de tarjetas de línea

La tabla 4 muestra el número de modelo, la descripción del modelo de tarjeta de línea y la versión de Junos OS en la que se admite la tarjeta de línea primero.

Tabla 4: Tarjeta de línea EX9200-6QS

Modelo

Descripción

Se requiere la versión de Junos OS

EX9200-6QS

Una tarjeta de línea con seis puertos 40 Gigabit Ethernet, cada uno de los cuales puede albergar transceptores enchufables de factor de forma pequeño de 40 Gigabit plus (QSFP+); y 24 puertos 10 Gigabit Ethernet, cada uno de los cuales puede albergar transceptores enchufables de factor de forma pequeño de 10 Gigabit (SFP+)

14.2R1 o posterior

PRECAUCIÓN:

Junos OS versión 14.2R1 admite la tarjeta de línea EX9200-6QS, excepto para una configuración específica. Consulte las notas de la versión de Junos OS 14.2R2 para el problema conocido PR1068396 para determinar si esa configuración se aplica al conmutador y qué versión usar si la configuración se aplica.

Consulte la figura 3.

Figura 3: Tarjeta de línea EX9200-6QS EX9200-6QS Line Card
  1
Palanca de eyector
  4
Puertos Ethernet de 10 Gigabit
  2
LED de tarjeta de línea
  5
INDICADORES LED para los puertos 40 Gigabit Ethernet
  3
INDICADORES LED para los puertos 10 Gigabit Ethernet
  6
Puertos 40 Gigabit Ethernet

Puede usar el show version comando para ver la versión de Junos OS para conmutadores de la serie EX cargados en el conmutador.

Componentes de tarjeta de línea

La tarjeta de línea EX9200-6QS tiene:

  • Seis puertos Ethernet de 40 Gigabit, cada uno de los cuales puede albergar transceptores QSFP+. Estos puertos son compatibles con transceptores 40GBASE-LR4 y 40GBASE-SR4. A partir de Junos OS para conmutadores de la serie EX , versión 15.1 R3, estos puertos son compatibles con el transceptor JNP-QSFP-40G-LX4.

  • 24 puertos 10 Gigabit Ethernet, cada uno de los cuales puede albergar transceptores SFP+. Estos puertos son compatibles con transceptores 10GBASE-SR, 10GBASE-LR, 10GBASE-ER y 10GBASE-ZR.

  • LED de tarjeta de línea: un LED etiquetado como OK/FAIL, que indica el estado de la tarjeta de línea. Consulte LED de tarjeta de línea en un conmutador EX9200.

  • LED de puerto de red: un LED en cada puerto de red, el LED de vínculo/actividad, que indica el estado y la actividad del vínculo en el puerto. Consulte Indicadores LED de puerto de red en tarjetas de línea en un conmutador EX9200.

Puede instalar transceptores SFP+ y QSFP+ en cualquier combinación en los puertos de la tarjeta de línea. Los puertos se dividen en dos grupos de puertos. Los doce puertos 10 Gigabit Ethernet etiquetados como PIC 0/0 a 0/11  y doce puertos 10 Gigabit Ethernet etiquetados como 1/0 a 1/11 forma PIC 1; PIC 0 y PIC 1 forman un grupo de puertos. Los tres puertos 40 Gigabit Ethernet etiquetados como PIC 2 de 2/0 a 2/2  y tres puertos 40 Gigabit Ethernet etiquetados como  PIC 3/0 a 3/2 ;  PIC 2 y PIC 3 forman el otro grupo de puertos. Los puertos de cada grupo de puertos comparten 240 gigabits de ancho de banda. Por lo tanto, puede transmitir hasta 240 gigabits de tráfico a través de un grupo de puertos, sin caída de paquetes.

Pic 0 y PIC 1 se activan de forma predeterminada. Si desactiva tanto PIC 0 como PIC 1, pic 2 y PIC 3 se activan automáticamente. De manera similar, si desactiva tanto PIC 2 como PIC 3, pic 0 y PIC 1 se activan automáticamente. Solo puede activar una de las PIC y mantener inactivas a la otra. Para desactivar una PIC activa, utilice el power comando.

La tarjeta de línea admite las siguientes combinaciones de PIC activas:

  • Cualquier PIC

  • PIC 0 y PIC 1

  • PIC 0 y PIC 3

  • PIC 1 y PIC 2

  • PIC 2 y PIC 3

Nota:

La tarjeta de línea no admite las siguientes combinaciones de PIC activas:

  • PIC 0 y PIC 2

  • PIC 1 y PIC 3

Tarjeta de línea EX9200-MPC

Modelos de tarjetas de línea

La tabla 5 muestra el número de modelo, la descripción del modelo de tarjeta de línea y la versión de Junos OS en la que se admite la tarjeta de línea primero.

Tabla 5: EX9200-MPC

Modelo

Descripción

Se requiere la versión de Junos OS

EX9200-MPC

Una tarjeta de línea modular que acepta cualquiera de las siguientes tarjetas de interfaz modular (MIC):

  • EX9200-10XS-MIC

  • EX9200-20F-MIC

  • EX9200-40T-MIC

Las MIC se pueden ordenar por separado.

La tarjeta de línea EX9200-MPC tiene dos ranuras en la placa frontal en la cual puede instalar las MIC. Puede instalar las MIC en las siguientes configuraciones:

  • Un EX9200-10XS-MIC

  • Un EX9200-20F-MIC

  • Un EX9200-10XS-MIC y un EX9200-20F-MIC

  • Dos MIC EX9200-10XS

  • Dos MIC EX9200-20F

  • Un EX9200-40T-MIC

Puede transmitir hasta 130 Gigabits de tráfico a través de la tarjeta de línea sin pérdida de paquetes.

15.1R3

Consulte la figura 4.

Figura 4: Tarjeta de línea EX9200-MPC EX9200-MPC Line Card
  1
Palanca de eyector
  3
Ranuras MIC cubiertas por paneles de cubierta
  2
LED de tarjeta de línea
 

Puede usar el show version comando para ver la versión de Junos OS para conmutadores de la serie EX cargados en el conmutador.

Componentes de tarjeta de línea

La tarjeta de línea EX9200-MPC tiene:

  • Dos ranuras que pueden aceptar cualquiera de las siguientes MIC:

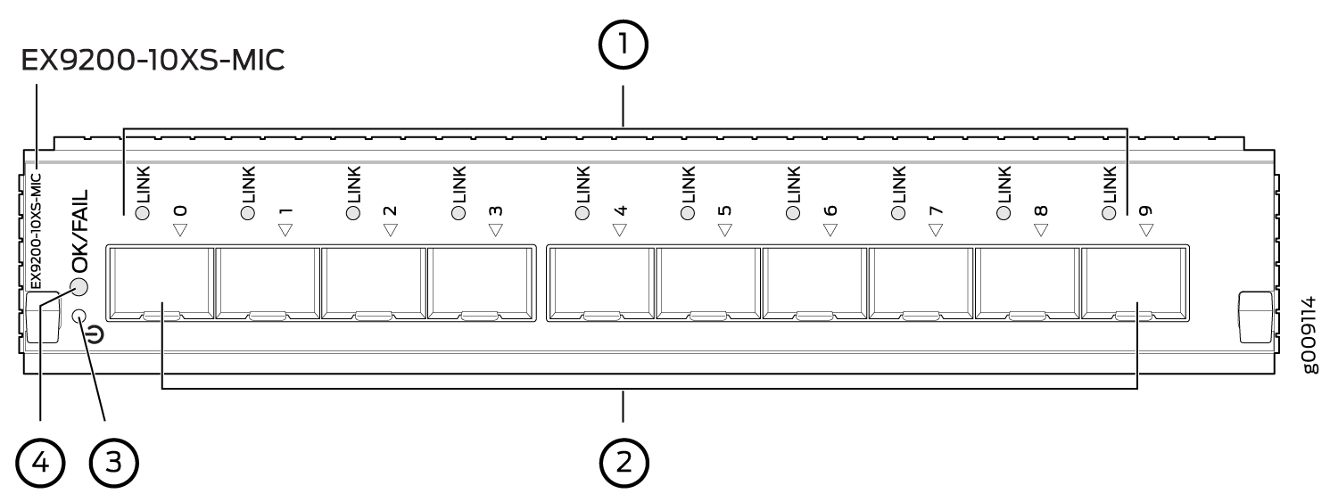
    • EX9200-10XS-MIC, que tiene diez puertos 10 Gigabit Ethernet, cada uno de los cuales puede albergar transceptores enchufables de factor de forma pequeño más (SFP+). Los puertos forman un grupo de puertos. Los puertos son compatibles con transceptores 10GBASE-SR, 10GBASE-LR, 10GBASE-ER y 10GBASE-ZR. Un LED etiquetado como OK/FAIL en el MIC indica el estado del MIC. Consulte LED de tarjeta de interfaz modular en un conmutador EX9200. El MIC se suministra con 10 cubiertas antipolvo para los 10 puertos. Consulte la figura 5.

      Figura 5: EX9200-10XS-MIC EX9200-10XS-MIC
        1
      Indicadores LED para los puertos
        3
      Botón de encendido MIC
        2
      Puertos Ethernet de 10 Gigabit
        4
      MIC LED
    • EX9200-20F-MIC, que cuenta con veinte puertos 1 Gigabit Ethernet con capacidad de seguridad de control de acceso a medios (MACsec), cada uno de los cuales puede albergar transceptores enchufables de factor de forma pequeño (SFP) de 1 Gigabit. La tarjeta de línea EX9200-20F-MIC en LA EX9200-MPC admite el estándar de seguridad MAC 802.1AE IEEE (también conocido como MACsec) con cifrado AES-128 bits, lo que proporciona compatibilidad con la confidencialidad de datos de la capa de vínculo, la integridad de los datos y la autenticación de origen de datos. Debe aplicar una sola licencia(EX9200-SFL) para habilitar MACsec. Los puertos se dividen en dos grupos de puertos de diez puertos cada uno. Los puertos etiquetados como [0/2]/0 a [0/2]/8 y [1/3]/0 a [1/3]/8 forman un grupo de puertos y los puertos etiquetados como [0/2]/1 a [0/2]/9 y [1/3]/1 a [1/3]/9 forman otro grupo de puertos. Estos puertos admiten transceptores 1000BASE-T, 1000BASE-SX, 100BASE-FX, 1000BASE-LX, 1000BASE-BX-U, 1000BASE-BX-D, 100BASE-BX-U, 100BASE-BX-D y 1000BASE-LH. Un LED etiquetado como OK/FAIL en el MIC indica el estado del MIC. Consulte LED de tarjeta de interfaz modular en un conmutador EX9200. El MIC se suministra con 20 cubiertas antipolvo para los 20 puertos. Consulte la figura 6.

      Figura 6: EX9200-20F-MIC EX9200-20F-MIC
        1
      Indicadores LED para los puertos
        3
      MIC LED
        2
      Puertos 1 Gigabit Ethernet
        4
      Botón de encendido MIC
    • EX9200-40T-MIC, que tiene 40 puertos RJ-45, los cuales pueden aceptar conectores RJ-45. Los puertos se dividen en tres grupos de puertos. Los puertos etiquetados como 0/1 a 1/5 y 0/0 a 1/4 grupo pic0de puertos de forma, los puertos etiquetados de 1/7 a 2/3 y 1/6 a 2/2 grupo pic1de puertos de forma, y los puertos etiquetados como 2/5 a 3/9 y 2/4 a 3/8 grupo pic2de puertos de forma. Un LED etiquetado como OK/FAIL en el MIC indica el estado del MIC. Consulte LED de tarjeta de interfaz modular en un conmutador EX9200. Consulte la figura 7.

      Figura 7: EX9200-40T-MIC EX9200-40T-MIC
        1
      LED de vínculo/actividad para los puertos
        4
      Botón de encendido MIC
        2
      LED de estado de los puertos
        5
      MIC LED
        3
      Puertos RJ-45
       
  • Paneles de cubierta: dos paneles de cubierta que cubren las ranuras MIC.

  • LED de tarjeta de línea: un LED etiquetado como OK/FAIL, que indica el estado de la tarjeta de línea. Consulte LED de tarjeta de línea en un conmutador EX9200.

  • INDICADORES LED de puerto de red: cada puerto del EX9200-10XS-MIC y cada puerto del EX9200-20F-MIC tiene un LED, el LED de vínculo/actividad, el cual indica el estado y la actividad del vínculo en el puerto. Cada puerto del EX9200-40T-MIC tiene otro LED, el LED de estado, que indica el estado de los parámetros del puerto. Consulte Indicadores LED de puerto de red en tarjetas de línea en un conmutador EX9200.

Tarjeta de línea EX9200-12QS

Las tarjetas de línea en conmutadores EX9200 combinan un motor de reenvío de paquetes y interfaces Ethernet en un solo ensamblado. Las tarjetas de línea son unidades reemplazables en campo (FPU) que puede instalar en las ranuras de tarjeta de línea en la parte frontal del chasis del conmutador. Las tarjetas de línea son insertables en caliente y extraíbles en caliente: puede quitarlas y reemplazarlas sin apagar el conmutador ni interrumpir las funciones del conmutador.

Modelos de tarjetas de línea

La tabla 6 muestra el número de modelo, la descripción del modelo de tarjeta de línea y la versión de Junos OS en la que se admite la tarjeta de línea primero.

Tabla 6: Tarjeta de línea EX9200-12QS

Modelo

Descripción

Se requiere la versión de Junos OS

EX9200-12QS

Una tarjeta de línea con 12 puertos de velocidad seleccionable, cada uno de los cuales puede albergar transceptores. Todos los puertos pueden operar a velocidades de 10 y 40 Gbps. Los puertos están configurados para funcionar a una velocidad de 10 Gbps de forma predeterminada. Los puertos etiquetados como 0/2, 0/5, 1/2 y 1/5 (ver figura 8) también pueden funcionar a velocidad de 100 Gbps. La tarjeta de línea admite unidades de transmisión máximas (MPU) de 256 bytes a 9192 bytes.

16.1R1 o posterior

Nota:

Para que la tarjeta de línea EX9200-12QS funcione, debe instalar el módulo de estructura del conmutador EX9200-SF2 (módulo SF) en el conmutador. Consulte Módulo de estructura de conmutador en un conmutador EX9200 e Instalación de un módulo SF en un conmutador EX9200.

La figura 8 muestra los componentes de una tarjeta de línea EX9200-12QS.

Figura 8: Tarjeta de línea EX9200-12QS EX9200-12QS Line Card
  1
Palanca de eyector
  3
Puertos Ethernet 10G/40G/100G
  2
INDICADORES LED de tarjetas de línea
  4
INDICADORES LED de vínculo/actividad para los puertos Ethernet 10G/40G/100G

Puede usar el show version comando para ver la versión de Junos OS para conmutadores de la serie EX cargados en el conmutador.

Componentes de tarjeta de línea

La tarjeta de línea EX9200-12QS tiene:

  • Doce puertos Gigabit Ethernet seleccionables por velocidad. Todos los puertos pueden operar a velocidades de 10 y 40 Gbps. Los puertos están configurados para funcionar a una velocidad de 10 Gbps de forma predeterminada. Los puertos etiquetados como 0/2, 0/5, 1/2 y 1/5 (ver figura 8) también pueden funcionar a velocidad de 100 Gbps. Puede configurar la velocidad del puerto con el siguiente comando:

    • Puede configurar un puerto para que funcione a una velocidad de 10 Gbps. Si configura los puertos para que funcionen a velocidad de 10 Gbps, cada puerto funciona como cuatro interfaces de 10 Gbps.

    • Puede configurar un puerto para que funcione a velocidad de 40 Gbps e instalar un transceptor QSFP+ de 40 Gigabit en el puerto.

    • Puede configurar los puertos etiquetados como 0/2, 0/5, 1/2 y 1/5 (consulte la Figura 8) para operar a velocidad de 100 Gbps e instalar transceptores QSFP+ de 100 Gigabit en estos puertos.

  • Doce cubiertas antipolvo para los puertos

  • LED de tarjeta de línea: un LED etiquetado como OK/FAIL, que indica el estado de la tarjeta de línea. Consulte LED de tarjeta de línea en un conmutador EX9200.

  • LED de puerto de red: cuatro INDICADORES LED para cada puerto de red, el LED de vínculo/actividad, que indica el estado y la actividad del vínculo en el puerto. Consulte Indicadores LED de puerto de red en tarjetas de línea en un conmutador EX9200.

    Hay cuatro indicadores LED etiquetados como 0, 1, 2 y 3 para cada puerto (consulte la figura 8). Si un puerto está configurado para funcionar a velocidad de 10 Gbps, se crean cuatro interfaces de 10 Gbps y los INDICADORes etiquetados como 0, 1, 2 y 3 para ese puerto se vuelven operativos. Cada uno de estos indicadores LED indica el vínculo/actividad en cada interfaz en el puerto correspondiente. Si un puerto está configurado para funcionar a velocidad de 40 Gbps, el LED etiquetado como 0 para ese puerto se vuelve operativo. Si los puertos etiquetados como 0/2, 0/5, 1/2 y 1/5 están configurados para funcionar a velocidad de 100 Gbps, el LED etiquetado como 3 para cada uno de estos puertos se vuelve operativo.

Puede encontrar la lista de transceptores compatibles con la tarjeta de línea EX9200-12QS en la página Herramienta de compatibilidad de hardware para la tarjeta de línea EX9200-12QS.

Los puertos se dividen en dos grupos de puertos. Los seis puertos etiquetados de 0/0 a 0/5 forman un grupo de puertos, PIC 0. Los seis puertos etiquetados del 1/0 al 1/5 forman el otro grupo de puertos, PIC 1. Los puertos de cada grupo comparten 240 gigabits de ancho de banda. Por lo tanto, puede transmitir hasta 240 gigabits de tráfico a través de un grupo de puertos sin caída de paquetes.

Tarjeta de línea EX9200-15C

Las tarjetas de línea en conmutadores EX9200 combinan un motor de reenvío de paquetes y interfaces Ethernet en un solo ensamblado. Las tarjetas de línea son unidades reemplazables en campo (FPU) que puede instalar en las ranuras de tarjeta de línea en la parte frontal del chasis del conmutador. Las tarjetas de línea son insertables en caliente y extraíbles en caliente: puede quitarlas y reemplazarlas sin apagar el conmutador ni interrumpir las funciones del conmutador.

Modelos de tarjetas de línea

La tabla 7 muestra el número de modelo, la descripción del modelo de tarjeta de línea y la versión de Junos OS en la que se admite la tarjeta de línea primero.

Tabla 7: Tarjeta de línea EX9200-15C

Modelo

Descripción

Se requiere la versión de Junos OS

Nombre en la CLI

EX9200-15C

  • Tarjeta de línea de configuración fija con 15 puertos de velocidad seleccionable. Todos los puertos pueden operar a velocidades de 10, 25, 40 o 100 Gbps. Los puertos están configurados para funcionar a una velocidad de 100 Gbps de forma predeterminada.

  • Transferencia de datos de velocidad de línea de hasta 1,5 Tbps cuando se instala con un plano medio mejorado.

    Nota:

    En la CLI, cuando ejecute el show chassis hardware comando, la descripción del plano medio dirá para <platform>-BP3 un plano medio mejorado. El EX9214 solo utiliza aviones medios mejorados.

  • Transferencia de datos de velocidad de línea de hasta 800 Gbps cuando se instala con un plano medio estándar.

    Nota:

    En la CLI, cuando ejecute el show chassis hardware comando, la descripción del plano medio dirá para <platform>-BP un plano medio estándar.

  • Admite unidades de transmisión máximas (MPU) de 256 bytes a 16 000 bytes para tráfico de tránsito y de 256 bytes a 9500 bytes para paquetes enlazados a host.

20.3R1 o posterior

EX9200-15C

Nota:
  • Para que la tarjeta de línea EX9200-15C funcione, debe instalar el módulo de estructura del conmutador EX9200-SF3 (módulo SF) en el conmutador. Consulte Módulo EX9200-SF3 en un conmutador EX9200.

  • Para lograr el máximo rendimiento de velocidad de línea, el modo de redundancia de estructura de la tarjeta de línea debe configurarse en modo de ancho de banda mayor.

  • Para lograr el máximo rendimiento, debe instalarse en el sistema el siguiente número de módulos SF EX9200-SF3:

    • EX9214: tres módulos SF EX9200-SF3

    • EX9204 y EX9208: dos módulos SF EX9200-SF3

La figura 9 muestra los componentes de una tarjeta de línea EX9200-15C.

Figura 9: Tarjeta EX9200-15C Line Card de línea EX9200-15C
  1
OK/FAIL LED
  4
Botón Presencia física
  2
LED de lane
  5
INDICADORES DE PUERTO
  3
Puertos de red
 

Puede usar el show version comando para ver la versión de Junos OS para conmutadores de la serie EX cargados en el conmutador.

Componentes de tarjeta de línea

La tarjeta de línea EX9200-15C tiene:

  • Quince puertos de red que se pueden configurar para 10, 25, 40 o 100 Gbps (los cables de ruptura se utilizan para velocidades de 10 y 25 Gbps).

  • La tarjeta Mezzanine del procesador de conmutadores (SPMB) consta de una CPU Intel Broadwell de 1,6 GHz de 8 núcleos, SSD SATA de 100 GB y dos módulos DRAM ECC DDR4 de 16 GB.

  • Tres motores de reenvío de paquetes, cada uno con un ancho de banda máximo de 500 Gbps.

  • Silicio Trio 5 de Juniper para una mayor escalabilidad para ancho de banda, suscriptores y servicios.

Nota:

En los conmutadores EX9214, el EX9200-15C no se admite en las ranuras de tarjeta de línea numeradas como 0, 1 y 11.

Requisitos de alimentación del EX9200-15C

Los números de energía se miden con la siguiente configuración:

  • Reenvío IPv4 con tamaño de paquete de 200 bytes

  • Tráfico de velocidad de línea en todos los puertos para ancho de banda agregado de 1,5 Tbps

  • Los 15 puertos están configurados para 100 GbE, con transceptores QSFP28 LR4 instalados en todos los puertos

A diferentes temperaturas:

  • 104° F (40° C): 785 W

  • 77° F (25° C): 720 W

INDICADORES LED EX9200-15C

ACEPTAR/FALLAR LED, una bicolor:

  • Verde: la MPC funciona normalmente.

  • Rojo: la MPC ha fallado.

LED de puerto:

  • Desactivado: el vínculo del puerto está apagado con pérdida de señal.

  • Verde: el vínculo de puerto está activo sin alarmas ni fallas.

  • Ámbar: el vínculo de puerto está apagado con alarmas. O el puerto se ha deshabilitado administrativamente a través de la CLI.

  • Rojo: un transceptor en el puerto está experimentando una falla.

LED de carril:

Hay cuatro LED de carril que los puertos de red comparten. Los INDICADORES de carril funcionan con el software Junos OS para determinar para qué puerto muestran el estado de los INDICADORES de carril.

Los LED de lane se utilizan para las siguientes configuraciones:

  • Cuando se configura un puerto de red para 4 interfaces canalizadas de 10 GbE con un cable de interrupción.

  • Cuando se configura un puerto de red para 4 interfaces canalizadas de 25 GbE con un cable de interrupción.

Cables y conectores

Puede utilizar la herramienta de compatibilidad de hardware para encontrar información sobre los transceptores enchufables compatibles con su dispositivo Juniper Networks.

La lista de transceptores compatibles para la serie EX se encuentra en los transceptores compatibles de la serie EX.

Tarjeta de línea EX9200-32XS

Las tarjetas de línea en conmutadores EX9200 combinan un motor de reenvío de paquetes y interfaces Ethernet en un solo ensamblado. Son unidades reemplazables en campo (FPU) que puede instalar en las ranuras de tarjeta de línea en la parte frontal del chasis del conmutador. Las tarjetas de línea son insertables en caliente y extraíbles en caliente: puede quitarlas y reemplazarlas sin apagar el conmutador ni interrumpir las funciones del conmutador.

Modelos de tarjetas de línea

La tabla 8 muestra el número de modelo, la descripción del modelo de tarjeta de línea y la versión de Junos OS en la que se admite la tarjeta de línea primero.

Tabla 8: Tarjeta de línea EX9200-32XS

Modelo

Descripción

Se requiere la versión de Junos OS

EX9200-32XS

Una tarjeta de línea con 32 puertos 10 Gigabit Ethernet, cada uno de los cuales puede albergar transceptores enchufables de factor de forma pequeño de 10 gigabit más (SFP+)

12.3R2 o posterior

Consulte la figura 10.

Figura 10: Tarjeta de línea EX9200-32XS EX9200-32XS Line Card
  1
Palanca de eyector
  3
Indicadores LED para los puertos
  2
LED de tarjeta de línea
  4
Puertos Ethernet de 10 Gigabit

Puede usar el show version comando para ver la versión de Junos OS para conmutadores de la serie EX cargados en el conmutador.

Componentes de tarjeta de línea

La tarjeta de línea tiene:

Los puertos se dividen en dos grupos de puertos de 16 puertos cada uno: los puertos etiquetados como 0/0 a 0/7 y 1/0 a 1/7 forman un grupo de puertos; los puertos etiquetados del 2/0 al 2/7 y del 3/0 al 3/7 forman el otro grupo de puertos. Los puertos de cada grupo comparten 130 gigabits de ancho de banda. Por lo tanto, puede transmitir hasta 130 Gigabits de tráfico a través de un grupo de puertos, sin caída de paquetes.

Tarjeta de línea EX9200-40T

Las tarjetas de línea en conmutadores EX9200 proporcionan servicios de reenvío de paquetes. Son unidades reemplazables en campo (FPU) que puede instalar en las ranuras de tarjeta de línea en la parte frontal del chasis del conmutador. Las tarjetas de línea son insertables en caliente y extraíbles en caliente: puede quitarlas y reemplazarlas sin apagar el conmutador ni interrumpir las funciones del conmutador.

Modelos de tarjetas de línea

La tabla 9 muestra el número de modelo, la descripción del modelo de tarjeta de línea y la versión de Junos OS en la que se admite la tarjeta de línea primero.

Tabla 9: Tarjeta de línea EX9200-40T

Modelo

Descripción

Se requiere la versión de Junos OS

EX9200-40T

Tarjeta de línea con 40 puertos RJ-45 compatibles con conectores RJ-45

12.3R2 o posterior

Consulte la figura 11.

Figura 11: Tarjeta de línea EX9200-40T EX9200-40T Line Card
  1
Palanca de eyector
  4
Indicadores LED para los puertos
  2
LED de tarjeta de línea
  5
Puertos RJ-45
  3
MIC LED
 

Puede usar el show version comando para ver la versión de Junos OS para conmutadores de la serie EX cargados en el conmutador.

Componentes de tarjeta de línea

La tarjeta de línea EX9200-40T tiene:

Tarjeta de línea EX9200-40F

Las tarjetas de línea en conmutadores EX9200 combinan un motor de reenvío de paquetes y interfaces Ethernet en un solo ensamblado. Son unidades reemplazables en campo (FPU) que puede instalar en las ranuras de tarjeta de línea en la parte frontal del chasis del conmutador. Las tarjetas de línea son insertables en caliente y extraíbles en caliente: puede quitarlas y reemplazarlas sin apagar el conmutador ni interrumpir las funciones del conmutador.

Modelos de tarjetas de línea

La tabla 10 muestra el número de modelo, la descripción del modelo de tarjeta de línea y la versión de Junos OS en la que se admite la tarjeta de línea primero.

Tabla 10: Tarjeta de línea EX9200-40F

Modelo

Descripción

Se requiere la versión de Junos OS

EX9200-40F

Una tarjeta de línea con 40 puertos 1 Gigabit Ethernet, cada uno de los cuales puede albergar transceptores enchufables de factor de forma pequeño (SFP) de 1 Gigabit

12.3R2 o posterior

Consulte la figura 12.

Figura 12: Tarjeta de línea EX9200-40F EX9200-40F Line Card
  1
Palanca de eyector
  4
Indicadores LED para los puertos
  2
LED de tarjeta de línea
  5
Puertos 1 Gigabit Ethernet
  3
MIC LED
 

Puede usar el show version comando para ver la versión de Junos OS para conmutadores de la serie EX cargados en el conmutador.

Componentes de tarjeta de línea

La tarjeta de línea EX9200-40F tiene:

Los puertos etiquetados de 0/0 a 0/9 pic 0 y los puertos etiquetados como 1/0 a 1/9.pic 1 Los puertos etiquetados de 2/0 a 2/9 pic 2 y los puertos etiquetados como 3/0 a 3/9.pic 3

Tarjeta de línea EX9200-40F-M

Las tarjetas de línea en conmutadores EX9200 combinan un motor de reenvío de paquetes y interfaces Ethernet en un solo ensamblado. Las tarjetas de línea son unidades reemplazables en campo (FPU) que puede instalar en las ranuras de tarjeta de línea en la parte frontal del chasis del conmutador. Las tarjetas de línea son insertables en caliente y extraíbles en caliente: puede quitarlas y reemplazarlas sin apagar el conmutador ni interrumpir las funciones del conmutador.

Modelos de tarjetas de línea

La tabla 11 muestra el número de modelo, la descripción del modelo de tarjeta de línea y la versión de Junos OS en la que se admite la tarjeta de línea primero.

Tabla 11: Tarjeta de línea EX9200-40F-M

Modelo

Descripción

Se requiere la versión de Junos OS

EX9200-40F-M

Tarjeta de línea con 40 puertos 1 Gigabit Ethernet con capacidad de seguridad de control de acceso a medios (MACsec), cada uno de los cuales puede albergar transceptores enchufables de factor de forma pequeño (SFP) de 1 Gigabit. La tarjeta de línea EX9200-40F-M es compatible con el estándar de seguridad MAC IEEE 802.1AE (también conocido como MACsec) con cifrado AES-128 bits, lo que proporciona compatibilidad con confidencialidad de datos de capa de vínculo, integridad de datos y autenticación de origen de datos. Debe aplicar una sola licencia(EX9200-SFL) para habilitar MACsec.

14.2R1 o posterior

Consulte la figura 13.

Figura 13: Tarjeta de línea EX9200-40F-M EX9200-40F-M Line Card
  1
Palanca de eyector
  4
Indicadores LED para los puertos
  2
LED de tarjeta de línea
  5
Puertos 1 Gigabit Ethernet con capacidad MACsec
  3
MIC LED
 

Puede usar el show version comando para ver la versión de Junos OS para conmutadores de la serie EX cargados en el conmutador.

Componentes de tarjeta de línea

La tarjeta de línea EX9200-40F-M tiene:

Los puertos etiquetados de 0/0 a 0/9.pic 0 Los puertos etiquetados de 1/0 a 1/9.pic 1 Los puertos etiquetados de 2/0 a 2/9.pic 2 Los puertos etiquetados de 3/0 a 3/9.pic 3

Tarjeta de línea EX9200-40XS

Las tarjetas de línea en conmutadores EX9200 combinan un motor de reenvío de paquetes y interfaces Ethernet en un solo ensamblado. Las tarjetas de línea son unidades reemplazables en campo (FPU) que puede instalar en las ranuras de tarjeta de línea en la parte frontal del chasis del conmutador. Las tarjetas de línea son insertables en caliente y extraíbles en caliente: puede quitarlas y reemplazarlas sin apagar el conmutador ni interrumpir las funciones del conmutador.

Modelos de tarjetas de línea

La tabla 12 muestra el número de modelo, la descripción del modelo de tarjeta de línea y la versión de Junos OS en la que se admite la tarjeta de línea primero.

Tabla 12: Tarjeta de línea EX9200-40XS

Modelo

Descripción

Se requiere la versión de Junos OS

EX9200-40XS

Tarjeta de línea con 40 puertos 10 Gigabit Ethernet con capacidad de seguridad de control de acceso a medios (MACsec), cada uno de los cuales puede albergar transceptores enchufables de factor de forma pequeño de 10 Gigabit más (SFP+). La tarjeta de línea EX9200-40XS admite el estándar de seguridad MAC IEEE 802.1AE (también conocido como MACsec) con cifrado AES-128 bits y cifrado de AES-256 bits, lo que proporciona compatibilidad con confidencialidad de datos de capa de vínculo, integridad de datos y autenticación de origen de datos. Debe aplicar una sola licencia(EX9200-SFL) para habilitar MACsec.

16.1R1 o posterior

Nota:

Para que la tarjeta de línea EX9200-40XS esté operativa, debe instalar el módulo de estructura del conmutador EX9200-SF2 (módulo SF) en el conmutador. Consulte Módulo de estructura de conmutador en un conmutador EX9200 e Instalación de un módulo SF en un conmutador EX9200.

La figura 14 muestra los componentes de una tarjeta de línea EX9200-40XS.

Figura 14: Tarjeta de línea EX9200-40XS EX9200-40XS Line Card
  1
Palanca de eyector
  3
INDICADORES LED para los puertos 10 Gigabit Ethernet
  2
INDICADORES LED de tarjetas de línea
  4
Puertos 10 Gigabit Ethernet con capacidad MACsec

Puede usar el show version comando para ver la versión de Junos OS para conmutadores de la serie EX cargados en el conmutador.

Componentes de tarjeta de línea

La tarjeta de línea EX9200-40XS tiene:

Los puertos se dividen en dos grupos de puertos de 20 puertos cada uno. Los puertos 10 Gigabit Ethernet etiquetados como 0/0 a 0/19 forman un grupo de puertos. Los puertos 10 Gigabit Ethernet etiquetados como 1/0 a 1/19 forman el otro grupo de puertos. Los puertos de cada grupo comparten 200 gigabits de ancho de banda. Por lo tanto, puede transmitir hasta 200 Gigabits de tráfico a través de cada grupo de puertos, sin caída de paquetes.

LED de tarjeta de línea en un conmutador EX9200

Las tarjetas de línea en conmutadores EX9200 tienen un LED etiquetado como OK/FAIL en la placa frontal que indica la información de estado en línea de las tarjetas de línea.

En la tabla 13 se describen las tarjetas led en línea para conmutadores EX9200, sus colores y estado, y el estado que indica. Para obtener información acerca de los INDICADORES en la tarjeta de línea EX9200-15C, consulte Tarjeta de línea EX9200-15C.

Tabla 13: LED en tarjetas de línea para conmutadores EX9200

Led

Color

Estado y descripción

ACEPTAR/FALLAR

Verde

  • Activado constantemente: la tarjeta de línea funciona normalmente.

  • Parpadeo: la tarjeta de línea está realizando la transición en línea o sin conexión.

Canchas

La tarjeta de línea no está en línea.

Rojo

La tarjeta de línea ha fallado.

INDICADORES LED de puerto de red en tarjetas de línea en un conmutador EX9200

Cada puerto SFP, SFP+, QSFP+, CFP y RJ-45 en la placa frontal de las tarjetas de línea tiene un LED, el LED de vínculo/actividad, que indica el estado y la actividad del vínculo en el puerto. Cada puerto RJ-45 tiene un LED adicional, el LED de estado, que indica el estado de los parámetros del puerto.

En la tabla 14 se describe el LED de vínculo/actividad. Para obtener información acerca de los INDICADORES en la tarjeta de línea EX9200-15C, consulte Tarjeta de línea EX9200-15C.

Tabla 14: INDICADORES LED de puerto de red en tarjetas de línea en un conmutador EX9200: LED de vínculo/actividad

Led

Color

Estado y descripción

Vínculo/actividad

Verde

  • Activado constantemente: el puerto y el vínculo están activos, pero no hay actividad de vínculo.

  • Parpadeo: el puerto y el vínculo están activos y hay actividad de vínculo.

  • Desactivado: el puerto no está activo.

Amarillo (aplicable solo para los puertos 40 Gigabit Ethernet en la tarjeta de línea EX9200-6QS)

Activado constantemente: el vínculo está deshabilitado.

El LED de estado en el puerto de red Ethernet RJ-45 de 10/100/1000BASE-T indica el estado de uno de los tres parámetros de puerto: estado administrativo, velocidad y estado del modo dúplex.

La tabla 15 describe el LED de estado.

Tabla 15: INDICADORES LED de puerto de red en tarjetas de línea en un conmutador EX9200: LED de estado

Led

Indicador LCD

Estado, color y descripción

Estado

LED: ADM

Indica el estado administrativo (habilitado o deshabilitado). Los indicadores de estado son:

  • Verde: estado administrativo habilitado.

  • Amarillo: el puerto está caído.

  • Unlit: estado administrativo deshabilitado.

LED: SPD

Indica la velocidad. Los indicadores de velocidad son diferentes en las tarjetas de línea.

  • Sin iluminación: 10 Mbps

  • Verde: parpadeo: 100 Mbps

  • Verde,constantemente: 1000 Mbps

LED: DPX

Indica el modo dúplex. Los indicadores de estado son:

  • Verde: el puerto se establece en modo dúplex completo.

  • Unlit(Unlit): el puerto no se establece en el modo de dúplex completo.

LED de tarjeta de interfaz modular en un conmutador EX9200

Las tarjetas de interfaz modular (MIC) de las siguientes tarjetas de línea para conmutadores EX9200 tienen un LED etiquetado como OK/FAIL en la placa frontal que indica la información de estado en línea de las MIC.

La tabla 16 describe el LED MIC en tarjetas de línea para conmutadores EX9200, sus colores y estado, y el estado que indica.

Tabla 16: LED MIC para conmutadores EX9200

Led

Color

Estado y descripción

ACEPTAR/FALLAR

Verde

Funciona de manera constante: el MIC funciona normalmente.

Canchas

El MIC no está en línea.

Rojo

En constante: el MIC ha fallado.

Configuración de la selección de velocidad en una tarjeta de línea EX9200-12QS para habilitar diferentes velocidades de puerto

Cada uno de los seis puertos de PIC 0 y PIC 1 de una tarjeta de línea EX9200-12QS admite velocidades de puerto de 10 Gbps y 40 Gbps. Los puertos 2 y 5 de ambas PIC también admiten velocidad de puerto de 100 Gbps. Dado que la tarjeta de línea EX9200-12QS es seleccionable por velocidad, puede elegir configurar todos los puertos de cada PIC para que funcionen a la misma velocidad compatible o configurar los puertos de una PIC para que funcionen a diferentes velocidades compatibles.

Configure la capacidad de selección de velocidad en el nivel de PIC si desea que todos los puertos de una PIC funcionen a la misma velocidad. Es decir, puede configurar una PIC para que funcione a una velocidad compatible. Por ejemplo, si configura pic 0 a velocidad de 10-Gbps o 40-Gbps, todos los puertos de PIC 0 están habilitados para funcionar a esas velocidades. Si configura pic 0 a velocidad de 100 Gbps, el puerto 2 y el puerto 5 están habilitados para funcionar a velocidad de 100 Gbps, y los otros puertos de PIC 0 están deshabilitados.

Configure la capacidad de selección de velocidad en cada puerto de una PIC si desea operar distintos puertos de la tarjeta de línea a diferentes velocidades compatibles. Es decir, puede configurar cada puerto para que funcione a una velocidad especificada y compatible.

Configuración de la capacidad de selección de velocidad en el nivel de PIC

Para configurar la capacidad de selección de velocidad en el nivel de PIC:

  1. En el modo de configuración, vaya al nivel de [edit chassis fpc fpc-slot pic pic-number] jerarquía.

    Por ejemplo:

  2. Configure la pic-mode instrucción para establecer la velocidad de operación de los puertos de una PIC. Puede elegir entre las opciones 10G, 40Go 100G.

    Por ejemplo:

  3. (Opcional) Puede elegir configurar el número de puertos que operan a la velocidad configurada en el paso 2.

    Por ejemplo, para especificar que seis puertos en pic 0 funcionen a la velocidad especificada en el paso 2:

  4. Verifique la configuración.
  5. Confirme los cambios de configuración.
  6. Restablecer la PIC.

Si la number-of-ports instrucción no está configurada, todos los puertos que admiten la velocidad configurada en el paso 2 están habilitados y los otros están deshabilitados. Es decir, los puertos se habilitan dependiendo de si admiten o no la velocidad especificada. Los puertos del 0 al 5 se habilitan si la velocidad especificada es de 10 Gbps o 40 Gbps; y los puertos 2 y 5 están habilitados y los otros puertos de la PIC deshabilitados si la velocidad especificada es de 100 Gbps. La tabla 17 enumera los puertos físicos que están habilitados cuando se configura la number-of-ports instrucción.

Tabla 17: Puertos físicos activos en la tarjeta de línea EX9200-12QS según la configuración del número de puertos

Puertos configurados (number-of-ports instrucción)

Puertos físicos activos para diferentes velocidades configuradas

10 Gigabit

40 Gigabit

100 Gigabit

1

0

0

2

2

0, 1

0, 1

2, 5

3

0, 1, 2

0, 1, 2

2, 5

4

0, 1, 2, 3

0, 1, 2, 3

2, 5

5

0, 1, 2, 3, 4

0, 1, 2, 3, 4

2, 5

6

0, 1, 2, 3, 4, 5

0, 1, 2, 3, 4, 5

2, 5

Configuración de la selección de velocidad en el nivel de puerto

Para configurar la capacidad de selección de velocidad en el nivel del puerto:

  1. En el modo de configuración, vaya al nivel de [edit chassis fpc fpc-slot pic pic-number] jerarquía.

    Por ejemplo:

  2. Para indicar la velocidad a la que operan los puertos, configure la speed instrucción para puertos específicos. Las opciones disponibles son 10g, 40gy 100g.

    Por ejemplo:

    Nota:

    Los seis puertos de PIC 0 y PIC 1 de un EX9200-12QS admiten velocidades de puerto de 10 y 40 Gbps. Sin embargo, solo los puertos 2 y 5 de ambas PIC admiten velocidades de 100 Gbps.

  3. Verifique la configuración.
  4. Confirme los cambios de configuración.
  5. Restablecer la PIC.
Nota:

Tenga en cuenta lo siguiente cuando configure la selección de velocidad en una tarjeta de línea EX9200-12QS:

  • Cuando inicie la tarjeta de línea:

    • Si no se configura la selección de velocidad, todos los puertos de la tarjeta de línea operan a la velocidad predeterminada como cuatro interfaces de 10 Gigabit Ethernet.

    • Si la selección de velocidad está configurada con velocidades de puerto no válidas, todos los puertos para los que se configuraron velocidades no válidas operan a la velocidad predeterminada.

    • Si se configuran velocidades de puerto válidas, los puertos operan a las velocidades configuradas.

  • Cuando cambie una configuración de velocidad de puerto existente, para que la configuración surte efecto, debe hacer cualquiera de las siguientes acciones:

    • Restablezca las PIC a las que pertenecen los puertos configurados mediante el request chassis pic pic-slot pic-slot-number fpc-slot fpc-slot-number (online | offline) comando. Dado que restablecer la tarjeta de línea tarda varios minutos y porque afecta a todos los motores de reenvío de paquetes, utilice este comando para aplicar los cambios de configuración rápidamente.

    • Restablecer la tarjeta de línea

    Se genera una alarma que indica el cambio en la configuración de velocidad de puerto.

  • Cuando cambia una configuración de velocidad de puerto existente a una configuración de velocidad de puerto no válida y confirma la configuración, se genera una alarma que indica que la configuración de velocidad de puerto no es válida. El puerto sigue funcionando a la velocidad del puerto existente.

  • No puede configurar la capacidad de selección de velocidad en el nivel de PIC y el nivel de puerto simultáneamente. Los mensajes de error se muestran cuando intenta confirmar dichas configuraciones.

  • Si configura la capacidad de selección de velocidad en el nivel de puerto, las interfaces lógicas solo se crean en los puertos configurados. No se crean interfaces lógicas en los otros puertos.