Help us improve your experience.

Let us know what you think.

Do you have time for a two-minute survey?

 
 

Descripción general del sistema de conmutadores EX4650

Descripción general del hardware de conmutadores EX4650

Los conmutadores Ethernet EX4650 de Juniper Networks proporcionan conectividad para entornos de alta densidad, escalabilidad para redes en crecimiento y redundancia. El EX4650 proporciona la flexibilidad necesaria para admitir entornos mixtos de 1 Gigabit Ethernet, 10 Gigabit Ethernet, 25 Gigabit Ethernet, 40 Gigabit Ethernet y 100 Gigabit Ethernet.

Puede interconectar conmutadores EX4650 para formar un chasis virtual. Puede operar estos conmutadores interconectados como un único dispositivo lógico con una sola dirección IP. Puede utilizar el EX4650 como conmutador de distribución con capacidad de chasis virtual, como dispositivo satélite para Junos Fusion Enterprise y como conmutador de agregación.

El conmutador EX4650 está disponible como un conmutador de configuración fija con los siguientes puertos integrados:

  • Cuarenta y ocho puertos Ethernet de 25 Gigabit que pueden operar a velocidades de 1, 10 Gbps o 25 Gbps y admiten transceptores SFP, SFP+ o SFP28.

  • Ocho puertos Ethernet de 100 Gigabit que pueden operar a una velocidad de 40 Gbps o 100 Gbps y admiten transceptores QSFP+ o QSFP28. Cuando estos puertos funcionan a una velocidad de 40 Gbps, puede configurar cuatro interfaces de 10 Gbps y conectar cables de interconexión, lo que eleva el número total de puertos de 10 Gbps admitidos a 80. Cuando estos puertos funcionan a una velocidad de 100 Gbps, puede configurar cuatro interfaces de 25 Gbps y conectar cables de interconexión, lo que eleva el número total de puertos de 25 Gbps admitidos a 80.

Hay cuatro modelos disponibles: dos con fuentes de alimentación de CA y flujo de aire de adelante hacia atrás o de atrás hacia adelante y dos con fuentes de alimentación de CC y flujo de aire de adelante hacia atrás o de atrás hacia adelante.

Beneficios del conmutador EX4650

Arquitectura de campus EVPN-VXLAN: el conmutador EX4650 extiende EVPN-VXLAN más allá del centro de datos, proporcionando así a los clientes los componentes básicos para una estructura empresarial. El protocolo EVPN-VXLAN es adecuado para arquitecturas de campus porque proporciona transporte de capa 3 con capacidades de capa 2 que permiten a las empresas evolucionar, al tiempo que tiene en cuenta las aplicaciones heredadas. EX4650 también ofrece capacidades de agregación de núcleo dirigidas a empresas con redes de campus que desean una solución compacta y altamente escalable.

Velocidades de cable de 25 Gbps y 100 Gbps líderes en la industria: El conmutador EX4650 ofrece velocidades de cable de alta densidad de 25 Gbps y 100 Gbps líderes en la industria que admiten 48 puertos a 100 Gbps o 48 puertos a 25 Gbps, y 8 puertos de enlace ascendente de 100 Gbps.

Soporte para chasis virtual: los conmutadores EX4650 admiten la tecnología de chasis virtual. Puede interconectar hasta cuatro conmutadores EX4650 en un chasis virtual EX4650.

Protocolos comunes de centros de datos: Al igual que la serie EX9000, el EX4650 también utiliza protocolos de red de centro de datos. Los protocolos de red utilizados en el EX4650 son Ethernet VPN (EVPN) y Virtual Extensible LAN (VXLAN). Los ingenieros suelen usarlo con el protocolo de puerta de enlace fronteriza y el protocolo de encapsulación VXLAN, que crea una red superpuesta en una infraestructura de capa 3 existente. Como resultado, el mismo equipo de ingeniería puede administrar el centro de datos y el campus.

Tabla 1: Detalles y descripción del EX4650-48Y

Detalles

Descripción

FPC/PIC

FPC 0 y PIC 0; un FPC y un PIC.

Puertos QSFP/QSFP28 y SFP+

Número total de puertos: 56; 48 puertos SFP+ y ocho puertos de enlace ascendente.

Modo de detección automática de velocidad (habilitado de forma predeterminada)

Si ha deshabilitado la canalización automática, para canalizar los puertos, configure manualmente la velocidad del puerto con el set chassis fpc slot-number port port-number channel-speed speed comando, donde la velocidad se puede establecer en 10G o 25G. Si hay un transceptor Ethernet de 100 Gigabit conectado, solo puede establecer la velocidad en 25G. Para los puertos SFP+, puede establecer la velocidad en 25G o 1G. Sin embargo, no hay verificación de confirmación para esto.

En los conmutadores EX4650, los puertos de enlace ascendente admiten la canalización automática.

La Tabla 2 resume las velocidades de puerto admitidas en el EX4650-48Y.

Tabla 2: Velocidad del puerto para EX4650-48Y

PIC

Número de puerto

Velocidad de puerto admitida

Velocidad predeterminada

PIC 0

(etiquetados del 0 al 47) 48 puertos SFP+

Ethernet de 1 gigabit

Ethernet de 10 gigabits

Ethernet de 25 gigabits

Puede configurar las velocidades de los puertos SFP y SFP28 solo por quad (grupo de 4 puertos) y no individualmente. Para configurar la velocidad del quad, consulte la Tabla 1.

La interfaz no se creará automáticamente al insertar transceptores Ethernet de 1 Gigabit o 25 Gigabit Ethernet. Debe usar la CLI para configurar manualmente la velocidad del puerto en modo 1 Gigabit Ethernet o 25 Gigabit Ethernet.

10 Gbps

(etiquetado como del 48 al 55) 8 puertos de enlace ascendente

100 Gigabit Ethernet (puertos QSFP28)

40 Gigabit Ethernet (puertos QSFP+)

4x10 Gigabit Ethernet

4 x 25 Gigabit Ethernet

100 Gbps (para puertos QSFP28)

40 Gbps (para puertos QSFP+)

Para canalizar bloques de puertos o puertos individuales en puertos de enlace ascendente, consulte la Tabla 1. Para configurar la velocidad por quad en los puertos SFP+, tabla 1.

EX4650-48Y no admite la negociación automática cuando el transceptor SFP de fibra de 1 gigabit está enchufado. En tales casos, se recomienda deshabilitar la negociación automática en el dispositivo extremo remoto. Sin embargo, los conmutadores EX4650-48Y con transceptor SFP de cobre de 1 gigabit admiten la negociación automática, ya que la capa física dentro del transceptor maneja la negociación automática.

En la Tabla 3 se enumeran las convenciones de nomenclatura de interfaz de los puertos SFP+ (etiquetados del 0 al 47) para el conmutador EX4650-48Y.

Tabla 3: Convención de nomenclatura de interfaz para el conmutador EX4650-48Y (puertos SFP+)

PIC

Interfaz Ethernet de 1 Gigabit

Interfaz Ethernet de 10 Gigabit

Interfaz Ethernet de 25 Gigabit

0

ge-0/0/0

xe-0/0/0

et-0/0/0

ge-0/0/1

xe-0/0/1

et-0/0/1

ge-0/0/2

xe-0/0/2

et-0/0/2

ge-0/0/3

xe-0/0/3

et-0/0/3

ge-0/0/4

xe-0/0/4

et-0/0/4

En la Tabla 4 se enumeran las convenciones de nomenclatura de interfaz de los puertos de enlace ascendente (etiquetados del 48 al 55) para el conmutador EX4650-48Y.

Tabla 4: Convención de nomenclatura de interfaz para el conmutador EX4650-48Y (puertos de enlace ascendente)

PIC

Interfaz Ethernet de 10 Gigabit

Interfaz Ethernet de 25 Gigabit

Interfaz Ethernet de 40 Gigabit

Interfaz Ethernet de 100 Gigabit

0

xe-0/0/48:[0-3]

et-0/0/48:[0-3]

et-0/0/48

et-0/0/48

xe-0/0/49:[0-3]

et-0/0/49:[0-3]

et-0/0/49

et-0/0/49

xe-0/0/50:[0-3]

et-0/0/50:[0-3]

et-0/0/50

et-0/0/50

xe-0/0/51:[0-3]

et-0/0/51:[0-3]

et-0/0/51

et-0/0/51

xe-0/0/52:[0-3]

et-0/0/52:[0-3]

et-0/0/52

et-0/0/52

xe-0/0/53:[0-3]

et-0/0/53:[0-3]

et-0/0/53

et-0/0/53

xe-0/0/54:[0-3]

et-0/0/54:[0-3]

et-0/0/54

et-0/0/54

xe-0/0/55:[0-3]

et-0/0/55:[0-3]

et-0/0/55

et-0/0/55

Software

Los conmutadores Ethernet de la serie EX de Juniper Networks ejecutan Junos OS,™ que proporciona servicios de conmutación, enrutamiento y seguridad de capa 2 y capa 3. La misma base de código de Junos OS que se ejecuta en los conmutadores serie EX también se ejecuta en todos los enrutadores serie M, MX y T de Juniper Networks, y en las puertas de enlace de servicios serie SRX.

Canalización en conmutadores EX4650

Primera vista del conmutador EX4650

El conmutador EX4650 tiene un factor de forma de 1 U y se suministra con ventiladores redundantes (4+1) y fuentes de alimentación redundantes (1+1).

El conmutador EX4650 es un conmutador de factor de forma pequeño mejorado (SFP28) de 25 Gigabit Ethernet con 48 puertos SFP28 y 8 puertos enchufables de factor de forma pequeño cuádruple (QSFP28) de 100 Gbps. Cada puerto SFP28 puede funcionar como un puerto nativo de 25 Gigabit Ethernet, un puerto 10 Gigabit Ethernet y puede actuar como un puerto de 1 Gbps según los transceptores insertados. Cada uno de los ocho puertos de enlace ascendente puede funcionar como 100 G o 40 G según la óptica utilizada. También se pueden usar como puertos de 25 Gbps o puertos de 10 Gbps mediante cables de conexión o canalización.

CAUTELA:

No instale transceptores de cobre de 1 GbE (como QFX-SFP-1GE-T) directamente encima o debajo de otro transceptor de cobre de 1 GbE. Utilice solo la fila superior o la fila inferior para evitar daños al dispositivo causados por algunos tipos de transceptores de cobre cuando los transceptores se instalan uno encima del otro. Sin embargo, si utiliza transceptores de cobre con el número de pieza OEM FCLF8521P2BTL-J1 impreso en la etiqueta del transceptor, puede instalar los transceptores en cualquier puerto sin restricciones. Para los dispositivos que admiten transceptores de cobre de 10 GbE, no existe una restricción similar.

Para obtener más información sobre cómo canalizar interfaces en conmutadores EX4650-48Y, consulte Interfaces de canalización en conmutadores EX4650-48Y.

La Figura 1 y la Figura 2 muestran el panel frontal de un conmutador EX4650.

Figura 1: Panel frontal de un conmutador Juniper Networks network switch front panel with multiple ports for managing data traffic. EX4650

La figura 2 muestra los componentes en el panel frontal de un conmutador EX4650.

Figura 2: Componentes en el panel frontal de un conmutador Components on the Front Panel of an EX4650 Switch EX4650
1

Puertos SFP28

número arábigo

Puertos QSFP28

La figura 3 muestra el panel trasero de un conmutador EX4650 con fuentes de alimentación de CA.

Figura 3: Panel trasero de un conmutador EX4650 alimentado por CA Juniper Networks network switch line drawing with front panel showing multiple ports and slots for connections.

La figura 4 muestra la vista posterior de un conmutador EX4650 con fuentes de alimentación de CC.

Figura 4: Panel trasero de un conmutador EX4650 alimentado por CC Juniper Networks network switch front panel with multiple ports for data center connections.

La figura 5 muestra los componentes en el panel posterior de un conmutador EX4650 con fuentes de alimentación de CA.

Figura 5: Componentes en el panel posterior de un conmutador EX4650 alimentado por CA Diagram of Juniper Networks EX4650-48Y rear panel showing labeled components: grounding point, ESD point, console port, management Ethernet port, fan modules, power supply modules, power supply slots, fan slots, reset button, USB port, LEDs, and alarm LED.
1

LED de estado del chasis (ALM, SYS, MST, ID)

7

LED de fuente de alimentación

número arábigo

Puerto de consola

8

LEDs del módulo del ventilador

3

Puerto de administración RJ-45 (C1)

9

Puerto de administración RJ-45 (C0)

4

Punto ESD

10

Botón RESET

5

Módulo de ventilador

11

Puerto USB

6

Fuentes de alimentación

12

Etiqueta CLEI

La figura 6 muestra los componentes en el panel posterior de un EX4650 con fuentes de alimentación de CC.

Figura 6: Componentes en el panel posterior de un conmutador EX4650 alimentado por CC Diagram of rear panel of Juniper Networks EX4650 switch showing labeled components: grounding point, console port CON, management Ethernet port MGMT, ESD point, fan modules 0-4, power supply modules, power supply status LEDs, fan status LEDs, fan tray handle, reset button, USB port, and status LEDs ALM, SYS, MST, ID.
1

LED de estado del chasis (ALM, SYS, MST, ID)

7

LEDs de fuente de alimentación

número arábigo

Puerto de consola

8

LEDs del módulo del ventilador

3

Puerto de administración RJ-45 (C1)

9

Puerto de administración RJ-45 (C0)

4

Punto ESD

10

Botón RESET

5

Módulo de ventilador

11

Puerto USB

6

Fuentes de alimentación

12

Etiqueta CLEI

Nota: Cuando presiona y suelta inmediatamente el botón 'Restablecer', el interruptor se reinicia inmediatamente. Cuando presiona el botón 'Restablecer' durante más de diez segundos, el conmutador se reinicia con una opción para la recuperación manual del BIOS.

En la Tabla 5 se enumeran los modelos de conmutador EX4650 y sus componentes.

Tabla 5: Componentes en conmutadores EX4650

Modelo de conmutador

Puertos integrados

Módulos de ventilador enviados de forma predeterminada

Fuente de alimentación suministrada de forma predeterminada

EX4650-48Y-AFO

48 puertos SFP28 de 25 G y puertos QSFP28 de 8 x 100 G

Cinco módulos de ventilador; cada uno con una etiqueta AFO

Dos fuentes de alimentación de CA de 650 W (redundancia 1+1)

EX4650-48Y-AFI

48 puertos SFP28 de 25 G y puertos QSFP28 de 8 x 100 G

Cinco módulos de ventilador; cada uno con una etiqueta AFI

Dos fuentes de alimentación de CA de 650 W (redundancia 1+1)

EX4650-48Y-DC-AFO

48 puertos SFP28 de 25 G y puertos QSFP28 de 8 x 100 G

Cinco módulos de ventilador; cada uno con una etiqueta AFO

Dos fuentes de alimentación de CC de 650 W (redundancia 1+1)

EX4650-48Y-DC-AFI

48 puertos SFP28 de 25 G y puertos QSFP28 de 8 x 100 G

Cinco módulos de ventilador; cada uno con una etiqueta AFI

Dos fuentes de alimentación de CC de 650 W (redundancia 1+1)

Chasis virtual

El conmutador EX4650 se puede utilizar como miembro en un chasis virtual EX4650.

  • A partir de Junos OS versión 19.3R1, puede interconectar hasta dos conmutadores EX4650 en un Virtual Chasis EX4650. Los conmutadores de dos miembros deben estar en las funciones principal y motor de enrutamiento de reserva.

  • A partir de Junos OS versión 20.1R1, puede interconectar hasta cuatro conmutadores EX4650 en un Virtual Chassis EX4650. Debe configurar dos conmutadores miembro en los roles Motor de enrutamiento principal y de respaldo, y el miembro restante cambia en el rol de tarjeta de línea.

    Los conmutadores EX4650 no se pueden combinar con ningún otro tipo de conmutadores en un chasis virtual (modo mixto). Los conmutadores EX4650 no tienen VCP dedicados o configurados de forma predeterminada, pero puede configurar cualquiera de los puertos de enlace ascendente QSFP+ de 40 Gbps o QSFP28 de 100 Gbps en el panel frontal (puertos no canalizados del 48 al 55) como VCP. No puede usar ninguno de los otros puertos (puertos de red del 0 al 47) como VCP. Puede configurarlo, supervisarlo y mantenerlo de la misma manera que un chasis virtual de la serie EX. Consulte los temas siguientes para obtener más detalles sobre cómo configurar y cambiar los miembros en un chasis virtual EX4650:

Fuentes de alimentación

Cada conmutador EX4650 admite dos fuentes de alimentación de CA o dos fuentes de alimentación de CC con flujo de aire de adelante hacia atrás o de atrás hacia adelante. Las fuentes de alimentación para el conmutador EX4650 son unidades totalmente redundantes, de uso compartido de carga, extraíbles en caliente e insertables en caliente (FRU). Los modelos de conmutador EX4650 se envían con dos fuentes de alimentación preinstaladas en el panel trasero del chasis.

Las fuentes de alimentación tienen etiquetas en las manijas que indican la dirección del flujo de aire o tienen asas codificadas por colores con un icono de ventilador. Una etiqueta AFI o un mango de color azul indican flujo de aire de atrás hacia adelante, mientras que una etiqueta AFO o un mango de color naranja indican flujo de aire de adelante hacia atrás. Ver Figura 7

Figura 7: Detalle del Power Supply Handle Detail mango de la fuente de alimentación
1

Etiqueta AFI

 
CAUTELA:

No mezclar:

  • Fuentes de alimentación de CA y CC en el mismo chasis.

  • Fuentes de alimentación con diferentes etiquetas de flujo de aire (AFI y AFO) en el mismo chasis.

  • Fuentes de alimentación y módulos de ventilador con diferentes etiquetas de flujo de aire (AFI) y (AFO) en el mismo chasis.

  • Verifique que la dirección del flujo de aire en el mango de la fuente de alimentación coincida con la dirección del flujo de aire en el chasis. Asegúrese de que cada fuente de alimentación que instale en el chasis tenga la misma dirección de flujo de aire. Si instala fuentes de alimentación con dos direcciones de flujo de aire diferentes, Junos OS generará una alarma.

  • Si necesita convertir el patrón de flujo de aire en un chasis, debe reemplazar todos los ventiladores y fuentes de alimentación a la vez para usar la nueva dirección.

Sistema de refrigeración

Los conmutadores EX4650 se envían con cinco módulos de ventilador (redundancia 4+1) ubicados en la parte posterior del chasis. Estos módulos de ventilador están diseñados para una de las dos direcciones de flujo de aire disponibles. Los módulos del ventilador también están codificados por colores para indicar la dirección del flujo de aire.

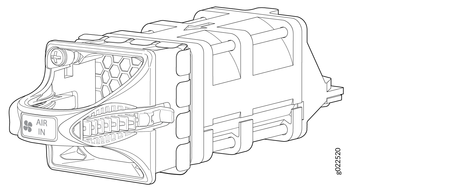
La figura 8 muestra el módulo de ventilador EX4650.

Figura 8: Módulo EX4650 Fan Module de ventilador EX4650

Los cinco módulos de ventilador están numerados del 0 al 4 contando de izquierda a derecha. Cada ranura para módulo de ventilador tiene un icono de ventilador y un LED al lado.

CAUTELA:

No mezclar:

  • Fuentes de alimentación de CA y CC en el mismo chasis.

  • Fuentes de alimentación con diferentes etiquetas de flujo de aire (AFI y AFO) en el mismo chasis.

  • Fuentes de alimentación y módulos de ventilador con diferentes etiquetas de flujo de aire (AFI) y (AFO) en el mismo chasis.

Modelos de conmutador EX4650

El conmutador EX4650 está disponible con 48 puertos y admite fuentes de alimentación de CA y CC, según el modelo de conmutador. Todos los modelos del EX4650 se envían con dos fuentes de alimentación y cinco ventiladores instalados de forma predeterminada. En la Tabla 6 se enumeran los componentes suministrados con los modelos de conmutador EX4650.

Tabla 6: Modelos y componentes enviados del conmutador EX4650

Modelo de conmutador

Puertos

Fuente de alimentación

Corriente de aire

EX4650-48Y-AFO

48 SFP28

8 QSFP28

Corriente alterna

De adelante hacia atrás: la entrada de aire para enfriar el chasis se realiza a través de las rejillas de ventilación en el panel frontal del chasis, y el aire caliente sale a través de las rejillas de ventilación en el panel trasero del chasis.

EX4650-48Y-AFI

48 SFP28

8 QSFP28

Corriente alterna

De atrás hacia adelante: la entrada de aire para enfriar el chasis pasa por las rejillas de ventilación del panel trasero del chasis y el aire caliente sale por las rejillas de ventilación del panel frontal del chasis.

EX4650-48Y-DC-AFO

48 SFP28

8 QSFP28

DC

De adelante hacia atrás: la entrada de aire para enfriar el chasis se realiza a través de las rejillas de ventilación en el panel frontal del chasis, y el aire caliente sale a través de las rejillas de ventilación en el panel trasero del chasis.

EX4650-48Y-DC-AFI

48 SFP28

8 QSFP28

DC

De atrás hacia adelante: la entrada de aire para enfriar el chasis pasa por las rejillas de ventilación del panel trasero del chasis y el aire caliente sale por las rejillas de ventilación del panel frontal del chasis.

CAUTELA:

No se admite la mezcla de diferentes tipos (CA y CC) de fuentes de alimentación en el mismo chasis. No se admite la mezcla de diferentes módulos de flujo de aire en el mismo chasis.

Identificación de modelos de conmutador EX4650

Propósito

Identifique el número de modelo del conmutador EX4650.

Acción

Compruebe el valor del FRU Model Number campo en la Routing Engine sección de salida del comando de la show chassis hardware extensive CLI.

user@switch> show chassis hardware extensive

El número de modelo del conmutador es uno de los siguientes:

  • EX4650-48Y-AFO

  • EX4650-48Y-AFI

  • EX4650-48Y-DC-AFO

  • EX4650-48Y-DC-AFI

En la salida de ejemplo, el modelo del conmutador es EX4650-48Y-AFO.

Significado

En los números de modelo del conmutador EX4650:

  • El 48Y en el número de modelo indica que el número de puertos de red del conmutador:

  • AFI indica que el conmutador se suministra con dos módulos de ventilador y una fuente de alimentación, cada uno con una etiqueta AIR IN (AFI). Los interruptores que no tienen AFI en sus números de modelo se envían con dos módulos de ventilador y una fuente de alimentación, cada uno con una etiqueta AIR OUT (AFO).

    Las etiquetas de los módulos del ventilador y de las fuentes de alimentación indican la dirección del flujo de aire que proporcionan dentro del chasis cuando se instalan en el conmutador. Las etiquetas AIR IN (AFI) indican el flujo de aire de atrás hacia adelante, y las etiquetas AIR OUT (AFO) indican el flujo de aire de adelante hacia atrás.

  • La CC en el número de modelo indica que el modelo del conmutador funciona con la fuente de alimentación de CC. Los conmutadores que no tienen CC en sus números de modelo funcionan con fuente de alimentación de CA.

Especificaciones físicas del chasis para conmutadores EX4650

El chasis del conmutador EX4650 es una estructura rígida de chapa metálica que alberga todos los componentes del conmutador. La Tabla 7 resume las especificaciones físicas del chasis del conmutador EX4650.

Tabla 7: Especificaciones físicas del chasis del conmutador EX4650

Descripción

Valor

Altura del chasis

1,72 pulg. (4,37 cm)

Ancho del chasis

  • 17,36 pulg. (44,09 cm)

  • Los bordes exteriores de los soportes de montaje frontal se extienden a lo ancho hasta 19 pulgadas. (48,2 cm)

Profundidad del chasis

20,48 pulg. (52,02 cm) excluyendo las manijas del ventilador y de la fuente de alimentación

Peso

23,69 lbs (10,75 kg) con dos fuentes de alimentación y ventiladores instalados

Unidades reemplazables in situ en conmutadores EX4650

Las unidades reemplazables en el campo (FRU) son componentes que puede reemplazar en su sitio. Las FRU de los conmutadores EX4650 son extraíbles en caliente e insertables en caliente; puede quitarlas y reemplazarlas sin necesidad de apagar el interruptor. Las FRU en los conmutadores EX4650 son:

  • Fuentes de alimentación

  • Módulos de ventilador

  • Transceptores

Nota:

Los transceptores no forman parte de la configuración de envío. Si desea comprar transceptores, debe pedirlos por separado.

Nota:

Si tiene un contrato de servicio de Juniper J-Care, registre cualquier adición, cambio o actualización de componentes de hardware en https://www.juniper.net/customers/support/tools/updateinstallbase/. De lo contrario, puede provocar retrasos significativos si necesita piezas de repuesto. Esta nota no se aplica si reemplaza componentes existentes con el mismo tipo de componente.