Help us improve your experience.

Let us know what you think.

Do you have time for a two-minute survey?

 
 

QFX5120冷却システム

QFX5120スイッチの冷却システムは、ファンモジュールと電源装置の内蔵ファンで構成されています。エアーフローの方向は、スイッチに取り付けられているファン モジュールと電源によって異なります。フロントツーバックのエアーフロー(スイッチの前面から空気が入ります)またはバックツーフロントのエアーフロー(スイッチの背面から空気が入ります)をサポートするQFX5120スイッチを注文できます。

ファン モジュールは、スイッチの背面パネルに取り付けられた、ホットリムーブおよびホットインサート可能な FRU(現場交換可能ユニット)です。 スイッチの電源を切ったり、スイッチの機能を中断したりすることなく、取り外しや交換ができます。

QFX5120スイッチ用ファン モジュール

QFX5120-32C スイッチは、リア パネルに 6 個のファン モジュール(5+1 冗長)がプリインストールされた状態で出荷されます。QFX5120-48T、QFX5120-48Y、QFX5120-48YMスイッチは、リアパネルに5つのファンモジュール(4+1冗長)がプリインストールされた状態で出荷されます。

ファン モジュールには、気流方向の異なる 2 つのモデルがあります。

  • フロントツーバック(冷気はスイッチの前面から入り、熱気はスイッチの背面から排出されます)、QFX5120-32C スイッチでは F2B というラベルと赤いハンドル、QFX5120-48T、QFX5120-48Y、QFX5120-48YM スイッチでは AIR OUT と Juniper Gold のハンドルで示されます。

  • バックツーフロント(冷気はスイッチの背面から入り、熱気は前面から排出されます)、QFX5120-32C スイッチでは B2F と青色のハンドル、QFX5120-48T、QFX5120-48Y、QFX5120-48YM スイッチでは AIR IN と Juniper Azure Blue ハンドルのラベルで示されます。

図 1 は、QFX5120-32C スイッチのファンモジュールを示しています。

図 1:QFX5120-32C スイッチ用ファン モジュール Technical line drawing of a relay with hexagonal pattern, screw terminal on left, connector on right, code g051119.

スイッチ シャーシのファン モジュール スロットには、左から右に 0 から 5 の番号が付けられており、その横に矢印の形をした LED がそれぞれ付いています。

表 1:QFX5120-32C ファン モジュールの物理仕様

高さ

深さ

重量

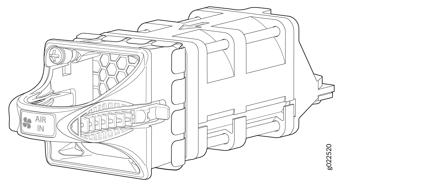
図 2 は、QFX5120-48T、QFX5120-48Y、および QFX5120-48YM スイッチのファン モジュールを示しています。

図2:QFX5120-48T、QFX5120-48Y、およびQFX5120-48YMスイッチFan Module for QFX5120-48T, QFX5120-48Y, and QFX5120-48YM Switches用ファンモジュール

スイッチ シャーシのファン モジュール スロットには、左から右に 0 から 4 の番号が付けられており、ファン アイコンと丸い LED がそれぞれ横に付いています。

手記:

スイッチを最適に機能させるには、すべてのファン モジュールを取り付ける必要があります。

ファン モジュールの交換時にスイッチが動作可能な場合は、一度に 1 つのファン モジュールのみを取り外す必要があります。ファン モジュールを交換する間、スイッチはサーマル シャットダウンなしで 30 秒間動作し続けます。

QFX5120モデルと気流方向

表 2 は、QFX5120 スイッチ モデルの気流方向を示しています。

表 2:QFX5120 スイッチ モデルの気流方向

モデル番号

ファンのモデル番号

ファン モジュールと電源

ファン モジュールと電源のエアーフローの方向

QFX5120-32C-AFO

QFX520048Y-FAN-AO

出荷時には、6 個のファン モジュール(前面から背面へのエアフロー、 F2B というラベルと赤いハンドルで表示)と 2 個の AC 電源(赤色のイジェクト レバー付き)を同梱しています。

フロントツーバック:シャーシを冷却するための冷気取り入れ口はシャーシのフロント パネルの通気口から、熱気はシャーシの背面パネルの通気口から排出されます。

QFX5120-32C-AFI

QFX520048Y-FAN-AI

出荷時には、6 つのファン モジュール(バックツーフロントのエアフロー、ラベル B2F と青色のハンドルで表示)と 2 台の AC 電源(青色のイジェクト レバー付き)を同梱しています。

バックツーフロント:シャーシを冷却するための冷気取り入れ口はシャーシの背面パネルにある通気口から、熱気はシャーシの前面パネルにある通気口から排出されます。

QFX5120-32C-DC-AFO

QFX520048Y-FAN-AO

出荷時には、6 個のファン モジュール(フロントツーバックのエアフロー、ラベル F2B と赤いハンドルで表示)と 2 個の DC 電源(赤色のイジェクト レバー付き)が搭載されています。

フロントツーバック:シャーシを冷却するための冷気取り入れ口はシャーシのフロント パネルの通気口から、熱気はシャーシの背面パネルの通気口から排出されます。

QFX5120-32C-DC-AFI

QFX520048Y-FAN-AI

スイッチには、6 つのファン モジュール(バックツーフロントのエアーフロー、ラベル B2F と青色のハンドルで示される)と 2 個の DC 電源(青色のイジェクト レバー付き)が搭載されています。

バックツーフロント:シャーシを冷却するための冷気取り入れ口はシャーシの背面パネルにある通気口から、熱気はシャーシの前面パネルにある通気口から排出されます。

QFX5120-48T-AFO

QFX5110-FANAFO

スイッチには、5 つのファン モジュール( AIR OUT というラベルが付いている)と 2 つの AC 電源(Juniper Gold ハンドルが付いている)が同梱されています。

フロントツーバック:シャーシを冷却するための冷気取り入れ口はシャーシのフロント パネルの通気口から、熱気はシャーシの背面パネルの通気口から排出されます。

QFX5120-48T-AFI

QFX5110-ファナフィ

スイッチには、5 つのファン モジュール( AIR IN というラベルが付いている)と 2 つの AC 電源(Juniper Azure Blue ハンドル付き)が同梱されています。

バックツーフロント:シャーシを冷却するための冷気取り入れ口はシャーシの背面パネルにある通気口から、熱気はシャーシの前面パネルにある通気口から排出されます。

QFX5120-48T-DC-AFO

QFX5110-FANAFO

スイッチには、5つのファンモジュール( ラベルがAIR OUT付)と2つのDC電源(Juniper Goldハンドル付き)が同梱されています。

フロントツーバック:シャーシを冷却するための冷気取り入れ口はシャーシのフロント パネルの通気口から、熱気はシャーシの背面パネルの通気口から排出されます。

QFX5120-48T-DC-AFI

QFX5110-ファナフィ

スイッチには、5つのファンモジュール( AIR INというラベルが付いている)と2つのDC電源(Juniper Azure Blueハンドルが付いている)とともに出荷されています。

バックツーフロント:シャーシを冷却するための冷気取り入れ口はシャーシの背面パネルにある通気口から、熱気はシャーシの前面パネルにある通気口から排出されます。

QFX5120-48Y-AFO2

QFX5110-FANAFO

スイッチには、5 つのファン モジュール( AIR OUT というラベルが付いている)と 2 つの AC 電源(Juniper Gold ハンドルが付いている)が同梱されています。

フロントツーバック:シャーシを冷却するための冷気取り入れ口はシャーシのフロント パネルの通気口から、熱気はシャーシの背面パネルの通気口から排出されます。

QFX5120-48Y-AFI2

QFX5110-ファナフィ

スイッチには、5 つのファン モジュール( AIR IN というラベルが付いている)と 2 つの AC 電源(Juniper Azure Blue ハンドル付き)が同梱されています。

バックツーフロント:シャーシを冷却するための冷気取り入れ口はシャーシの背面パネルにある通気口から、熱気はシャーシの前面パネルにある通気口から排出されます。

QFX5120-48Y-DC-AFO2

QFX5110-FANAFO

スイッチには、5つのファンモジュール( ラベルがAIR OUT付)と2つのDC電源(Juniper Goldハンドル付き)が同梱されています。

フロントツーバック:シャーシを冷却するための冷気取り入れ口はシャーシのフロント パネルの通気口から、熱気はシャーシの背面パネルの通気口から排出されます。

QFX5120-48Y-DC-AFI2

QFX5110-ファナフィ

スイッチには、5つのファンモジュール( AIR INというラベルが付いている)と2つのDC電源(Juniper Azure Blueハンドルが付いている)とともに出荷されています。

バックツーフロント:シャーシを冷却するための冷気取り入れ口はシャーシの背面パネルにある通気口から、熱気はシャーシの前面パネルにある通気口から排出されます。

QFX5120-48YM-AFO

QFX5110-FANAFO

スイッチには、5 つのファン モジュール( AIR OUT というラベルが付いている)と 2 つの AC 電源(Juniper Gold ハンドルが付いている)が同梱されています。

フロントツーバック:シャーシを冷却するための冷気取り入れ口はシャーシのフロント パネルの通気口から、熱気はシャーシの背面パネルの通気口から排出されます。

QFX5120-48YM-AFI

QFX5110-ファナフィ

スイッチには、5 つのファン モジュール( AIR IN というラベルが付いている)と 2 つの AC 電源(Juniper Azure Blue ハンドル付き)が同梱されています。

バックツーフロント:シャーシを冷却するための冷気取り入れ口はシャーシの背面パネルにある通気口から、熱気はシャーシの前面パネルにある通気口から排出されます。

QFX5120-48YM-DC-AO

QFX5110-FANAFO

スイッチには、5つのファンモジュール( ラベルがAIR OUT付)と2つのDC電源(Juniper Goldハンドル付き)が同梱されています。

フロントツーバック:シャーシを冷却するための冷気取り入れ口はシャーシのフロント パネルの通気口から、熱気はシャーシの背面パネルの通気口から排出されます。

QFX5120-48YM-DC-AI

QFX5110-ファナフィ

スイッチには、5つのファンモジュール( AIR INというラベルが付いている)と2つのDC電源(Juniper Azure Blueハンドルが付いている)とともに出荷されています。

バックツーフロント:シャーシを冷却するための冷気取り入れ口はシャーシの背面パネルにある通気口から、熱気はシャーシの前面パネルにある通気口から排出されます。

注意:

混ぜないでください:

  • 同じシャーシ内のエアーフロー方向が異なる電源。

  • 同じシャーシ内のエアーフロー方向が異なるファン モジュール。

  • 同じシャーシ内のエアーフロー方向が異なる電源とファン モジュール。

同じシャーシ内で気流方向の異なるコンポーネントを混在させると、スイッチの冷却システムのパフォーマンスが低下し、シャーシのオーバーヒートにつながります。

気流方向が異なる電源やファン モジュールを取り付けると、Junos OS はアラームを発生させます。

通常の動作条件下では、ファン モジュールは適度な速度で動作します。シャーシ内の温度センサーは、シャーシ内の温度を監視します。

ファン モジュールに障害が発生した場合、またはシャーシ内の周囲温度が許容範囲を超えた場合、Junos OS はアラームを発生させます。シャーシ内の温度がしきい値を超えると、システムは自動的にシャットダウンします。

フロントツーバックのエアフローを備えたQFX5120モデル

フロントツーバックのエアフローを備えた QFX5120 スイッチ モデルでは、シャーシを冷却するための冷気取り入れ口はスイッチのフロント パネルの通気口から、熱気は背面パネルの通気口から排出されます。

図 3 は、QFX5120-32C スイッチ シャーシを通る前面から背面へのエアーフローを示しています。

図 3:QFX5120-32C スイッチ シャーシ Airflow diagram showing air moving from ports on the left to FRUs on the right in a server, indicated by green arrows.を通るフロントツーバックのエアフロー

図 4 は、QFX5120-48T スイッチ シャーシを通る前面から背面へのエアーフローを示しています。

図 4:QFX5120-48T スイッチ シャーシ Diagram showing airflow in a server with green arrows indicating cooling direction. Ports on the left, FRUs like power supplies on the right.を通るフロントツーバックのエアフロー

図 5 は、QFX5120-48Y スイッチ シャーシを通る前面から背面へのエアーフローを示しています。

図 5:QFX5120-48Y スイッチ シャーシ Front-to-Back Airflow Through the QFX5120-48Y Switch Chassisを通るフロントツーバックのエアーフロー

図 6 は、QFX5120-48YM スイッチ シャーシを通るフロントツーバックのエアーフローを示しています。

図6:QFX5120-48YMスイッチシャーシSchematic diagram showing airflow in a hardware system with green arrows, labeled Ports and FRUs.を通るフロントツーバックのエアフロー

バックツーフロントのエアフローを備えたQFX5120モデル

バックツーフロントの気流を備えた QFX5120 スイッチ モデルでは、シャーシを冷却するための冷気取り入れ口は背面パネルの通気口から、熱気はスイッチのフロント パネルの通気口から排出されます。

図 7 は、QFX5120-32C スイッチ シャーシを通るバックツーフロントのエアーフローを示しています。

図 7:QFX5120-32C スイッチ シャーシ Schematic diagram showing airflow in server equipment with green arrows indicating cooling direction towards ports and FRUs.を通るバックツーフロントの気流

図 8 は、QFX5120-48T スイッチ シャーシを通るバックツーフロントのエアーフローを示しています。

図 8:QFX5120-48T スイッチ シャーシ Schematic diagram of server airflow with green arrows showing cooling paths. Ports on left, FRUs on right.を通るバックツーフロントの気流

図 9 は、QFX5120-48Y スイッチ シャーシを通るバックツーフロントのエアーフローを示しています。

図 9:QFX5120-48Y スイッチ シャーシ Back-to-Front Airflow Through the QFX5120-48Y Switch Chassisを通るバックツーフロントの気流

図 10 に、QFX5120-48YM スイッチ シャーシを通るバックツーフロントのエアーフローを示します。

図10:QFX5120-48YMスイッチシャーシDiagram of a motherboard showing airflow from Ports to FRUs side with green arrows indicating cooling direction.を通るバックツーフロントの気流

スイッチの配置方法

前面から背面へのエアーフローでは、熱気はスイッチの背面パネルにある通気口から排出されます。バックツーフロントのエアーフローでは、熱気はスイッチのフロントパネルにある通気口から排出されます。

データセンターへの導入では、スイッチを次のように配置します。

  • QFX5120-32C スイッチのファン モジュールの F2B ラベルと、QFX5120-48T、QFX5120-48Y、および QFX5120-48YM スイッチのファン モジュールの AIR OUT ラベルは、ホットアイルに面しています( 図 11 を参照)。

    図 11:QFX5120 スイッチ シャーシ Deployment of Switches with Front-to-Back Airflow Through the QFX5120 Switch Chassisを前面から背面への気流を備えたスイッチの導入
  • QFX5120-32C スイッチのファン モジュールの B2F ラベルと、QFX5120-48T、QFX5120-48Y、および QFX5120-48YM スイッチのファン モジュールの AIR IN ラベルは、コールドアイルに面しています( 図 12 を参照)。

    図 12:QFX5120 スイッチ シャーシ Deployment of Switches with Back-to-Front Airflow Through the QFX5120 Switch Chassisを通るバックツーフロントの気流を備えたスイッチの導入

QFX5120 ファン モジュールのステータス

QFX5120スイッチの各ファン モジュールには、シャーシの背面パネルにあるファン モジュール スロットの横に、ファン モジュールのステータスを示すステータス LED があります。 表 3 では、ファン モジュールの LED について説明します。

表 3:ファン モジュールのステータス LED

LED製品

状態

形容

地位

着実にオン

スイッチは、ファン モジュールがかみ合っていること、エアーフローが正しい方向にあること、およびファン モジュールが正常に機能していることを確認しました。

  • QFX5120-32C—赤

  • QFX5120-48T、QFX5120-48Y、QFX5120-48YM—オレンジ

点滅

スイッチがファン モジュールのエラーを検出しました。ファンに障害が発生したか、正しく取り付けられていません。できるだけ早くファン モジュールを交換してください。シャーシ内の適切なエアーフローを維持するため、ファン モジュールを交換する準備が整うまで、ファン モジュールをシャーシに取り付けたままにしておきます。