Help us improve your experience.

Let us know what you think.

Do you have time for a two-minute survey?

 
 

EX4000のモデルと仕様

このトピックでは、EX4000 モデルとその仕様の詳細、ポート数と PoE サポートに関する情報、スループット、各モデルの出荷コンポーネントについて説明します。

EX4000シリーズのスイッチは、PoE+とPoE++の両方のギガビットポートモデルとマルチギガビットポートモデルで構成されています。

EX4000の各モデルとその仕様について見ていきましょう。

EX4000-8P

図 1 は、EX4000-8P スイッチのフロント パネルを示しています。

図 1:EX4000-8P スイッチ Diagram of Juniper Networks EX4000 PoE+ switch front panel labeling Ethernet ports, system LEDs, console port, USB port, and QR code for product info.のフロント パネル
1

10/100/1000BASE-T RJ-45 ネットワーク ポート x 8。ポート当たり最大30 WのPoE+をサポートします。

7

ピンホールリセットボタン

2

RJ-45 管理ポート( MGMT とラベル付け)

8

RJ-45 コンソール ポート( CON とラベル付け)

3

シャーシの状態 LED( SYS のラベル付き)

9

USB 2.0 Type-A ポート

4

シャーシの状態 LED( MST のラベル付き)

10

2 つの 1 Gbps/10 Gbps SFP+ アップリンク ポート(番号 2 と 3)。ポートは、CLIを使用してバーチャルシャーシポートに変換できます。

5

シャーシの状態 LED( CLD のラベル付き)

11

2 つの 1-Gbps 10/100/1000BASE-T RJ-45 ネットワーク ポート(番号は 0 および 1)。これらのポートは PoE をサポートしていません。

6

請求コードラベル

 
手記:

EX4000-8Pの場合、ポート0、1、2、3はネットワークポートとして初期化されます。ポート0および1は、最大1Gbpsの速度をサポートしており、バーチャルシャーシはサポートしていません。ポート2と3は、CLIを使用してバーチャルシャーシポートに変換できます。

手記:

すべてのスイッチ モデルで、バーチャルシャーシ ポートをアップリンク ポートまたはネットワーク ポートに変換するには、 request virtual-chassis vc-port delete pic-slot pic-slot-number port port-number を使用します。詳細については、 request virtual-chassis vc-port をお読みください。

手記:

VC ポートで GbEd を接続している場合、10GBASE-T トランシーバーで VC 形成はサポートされていません。

図 2 は、EX4000-8P スイッチの背面パネルを示しています。

図 2:EX4000-8P スイッチ Technical drawing of the rear panel of a power supply unit with labeled components: circular port 1, IEC C14 power inlet 2, and two circular connectors 3. Warning symbol for heat and ventilation holes present.の背面パネル
1

電源コード固定スロット

3

保護接地端子

2

電源入力端子

 

表 1 は、EX4000-8P スイッチ モデルの冷却、電力、Junos OS リリースの最初の詳細を示しています。

表 2 は、EX4000-8P スイッチの物理仕様とポートを示しています。

表 1:EX4000-8P スイッチ モデル—冷却、電源、Junos の最初のリリース

モデル番号

ファン モジュール

電源

最初の Junos OS リリース

EX4000-8P

NAです。自然対流冷却。ファンレススイッチ。

内部電源(固定PSU)

24.4R1-S2

表 2:EX4000-8P スイッチ—物理仕様とポート

アイテム

形容

シャーシ寸法

高さ:4.44 cm(1.75 インチ)

:26.40 cm(10.39 インチ)

奥行き:24.5 cm(9.64 インチ)

重量

2.60 kg(5.73 ポンド)

内蔵ポート

  • 10/100/1000BASE-T RJ-45 PoE+ 対応ネットワーク ポート—8

  • 10/100/1000BASE-T RJ-45非PoEネットワークポート—2(PIC1のポート番号0および1)

  • 1 Gbps/10 Gbps SFP+ アップリンク ポート—2(PIC 1 のポート番号 2 および 3)。ポートは、CLIを使用してバーチャルシャーシポートに変換できます。

PoEポート

8 - PoE+(ポート当たり最大30 Wを提供)

PoE予算

120W

EX4000-12T

図 3 は、EX4000-12T スイッチのフロント パネルを示しています。

図 3:EX4000-12T スイッチ Diagram of Juniper EX4000 switch front panel with labeled Ethernet ports, status LEDs, QR code, reset button, console, manaGbEment, USB, and SFP ports.のフロント パネル
1

12 個の 10/100/1000BASE-T RJ-45 ポート。

6

請求コードラベル

2

RJ-45 管理ポート( MGMT とラベル付け)

7

ピンホールリセットボタン

3

シャーシの状態 LED( SYS のラベル付き)

8

RJ-45 コンソール ポート( CON とラベル付け)

4

シャーシの状態 LED

( MST とラベル付け)
9

USB 2.0 Type-A ポート

5

シャーシの状態 LED

( CLDとラベル付け)
10

2つの1Gbps/10Gbps SFP+バーチャルシャーシポート(番号0および1)と2つの1Gbps/10Gbps SFP+アップリンクポート(番号2および3)

図 4 は、EX4000-12T スイッチの背面パネルを示しています。

図4:EX4000-12TスイッチDiagram of a device back panel with power button, power input socket, two audio/video ports, and heat warning symbol.の背面パネル
1

電源コード固定スロット

3

保護接地端子

2

電源入力端子

 

表 3 は、EX4000-12T スイッチ モデルの冷却、電源、最初の Junos OS リリースの詳細を示しています。

表4は、EX4000-12Tスイッチの物理仕様とポートを示しています。

表 3:EX4000-12T スイッチ モデル-冷却、電源、Junos の最初のリリース

モデル番号

ファン モジュール

電源

最初の Junos OS リリース

EX4000-12T

NAです。自然対流冷却。ファンレススイッチ。

内部電源(固定PSU)。

24.4R1-S2

表 4:EX4000-12T スイッチ—物理仕様とポート

アイテム

形容

シャーシ寸法

高さ:4.44 cm(1.75 インチ)

:26.40 cm(10.39 インチ)

奥行き:24.5 cm(9.64 インチ)

重量

2.30 kg(5.07 ポンド)

内蔵ポート

  • 10/100/1000BASE-T RJ-45 ネットワーク ポート—12

  • 1GbE/10GbE SFP+バーチャルシャーシ(VC)ポート—2

    バーチャルシャーシは、10GbE SFP+でのみサポートされています。

  • 1GbE/10GbE SFP+ アップリンク ポート—2

PoEポート

該当なし

PoE予算

該当なし

EX4000-12P

図 5 は、EX4000-12P スイッチのフロント パネルを示しています。

図 5:EX4000-12P スイッチ Diagram of Juniper EX4000 PoE+ switch front panel with labeled Ethernet ports, status LEDs, QR code, reset button, console, manaGbEment, USB, and SFP ports.のフロント パネル
1

12 個の 10/100/1000BASE-T RJ-45 ネットワーク ポート、ポートあたり最大 30 W の PoE+ を提供

6

請求コードラベル

2

RJ-45 管理ポート( MGMT とラベル付け)

7

ピンホールリセットボタン

3

シャーシの状態 LED( SYS のラベル付き)

8

RJ-45 コンソール ポート( CON とラベル付け)

4

シャーシの状態 LED( MST のラベル付き)

9

USB 2.0 Type-A ポート

5

シャーシの状態 LED( CLD のラベル付き)

10

2つの1Gbps/10Gbps SFP+バーチャルシャーシポート(番号0および1)と2つの1Gbps/10Gbps SFP+アップリンクポート(番号2および3)

図 6 は、EX4000-12P スイッチの背面パネルを示しています。

図6:EX4000-12PスイッチRear panel diagram showing AC power input socket with specifications 100-240V~ 50-60Hz 4A Max ventilation grills warning symbol and mounting holes.の背面パネル
1

電源コード固定スロット

3

保護接地端子

2

電源入力端子

 

表 5 は、EX4000-12P スイッチ モデルの冷却、電力、最初の Junos OS リリースの詳細を示しています。

表 6 は、EX4000-12P スイッチの物理仕様とポートを示しています。

表5:EX4000-12Pスイッチモデル-冷却、電源、Junosの最初のリリース

モデル番号

ファン モジュール

電源

最初の Junos OS リリース

EX4000-12P

NAです。自然対流冷却。ファンレススイッチ。

内部電源(固定PSU)。

24.4R1-S2

表 6:EX4000-12P スイッチ—物理仕様とポート

アイテム

形容

シャーシ寸法

高さ:4.44 cm(1.75 インチ)

:26.40 cm(10.39 インチ)

奥行き:25.37 cm(9.99 インチ)

重量

3.2 kg(7.05 ポンド)

内蔵ポート

  • 10/100/1000BASE-T RJ-45 PoE+ 対応ネットワーク ポート—12

  • 1GbE/10GbE SFP+バーチャルシャーシ(VC)ポート—2

    バーチャルシャーシは、10GbE SFP+でのみサポートされています。

  • 1GbE/10GbE SFP+ アップリンク ポート—2

PoEポート

12—PoE+(ポートあたり最大30 Wを提供)

PoE予算

240W

EX4000-12MP

図 7 は、EX4000-12MP スイッチのフロント パネルを示しています。

図 7:EX4000-12MP スイッチ Juniper EX4000 MG PoE++ network switch front panel diagram showing network ports, system status LED indicators, QR code, management port, USB port, console port, grounding point, numbered labels, and SFP+ ports for managing network traffic and PoE capabilities.のフロント パネル
1

100Mbps/1Gbps/2.5Gbps RJ-45ポート x 4。これらのポートは PoE-bt をサポートしています。

7

請求コードラベル

2

8 個の 10/100/1000BASE-T RJ-45 ネットワーク ポート、PoE-bt ポート。

8

ピンホールリセットボタン

3

RJ-45 管理ポート( MGMT とラベル付け)

9

RJ-45 コンソール ポート( CON とラベル付け)

4

シャーシの状態 LED( SYS のラベル付き)

10

USB 2.0 Type-A ポート

5

シャーシの状態 LED( MST のラベル付き)

11

2つの1Gbps/10Gbps SFP+バーチャルシャーシポート(番号0および1)と2つの1Gbps/10Gbps SFP+アップリンクポート(番号2および3)

6

シャーシの状態 LED( CLD のラベル付き)

 

図 8 は、EX4000-12MP スイッチの背面パネルを示しています。

図 8:EX4000-12MP スイッチ Rear panel of a network switch with power button, AC input labeled AC INPUT 100-240V 50-60Hz 4A Max, two circular ports, ventilation grilles, and warning symbol for heat or electrical safety.の背面パネル
1

電源コード固定スロット

3

保護接地端子

2

電源入力端子

 

表 7 は、EX4000-12MP スイッチ モデルの冷却、電力、Junos OS リリースの最初の詳細を示しています。

表 8 は、EX4000-12MP スイッチの物理仕様とポートを示しています。

表 7:EX4000-12MP スイッチ モデル-冷却、電源、Junos の最初のリリース

モデル番号

ファン モジュール

電源

最初の Junos OS リリース

EX4000-12MP

NAです。自然対流冷却。ファンレススイッチ。

内部電源(固定PSU)。

24.4R1

表 8:EX4000-12MP スイッチ—物理仕様とポート

アイテム

形容

シャーシ寸法

高さ:4.44 cm(1.75 インチ)

:26.40 cm(10.39 インチ)

奥行き:25.37 cm(9.99 インチ)

重量

3.2 kg(6.94 ポンド)

内蔵ポート

  • 10/100/1000BASE-T RJ-45 PoE-bt 対応ネットワーク ポート—8

  • 100 Mbps/1 Gbps/2.5 Gbps PoE-BT 対応 RJ-45 ポート—4

  • 1GbE/10GbE SFP+ バーチャルシャーシポート—2

  • 1GbE/10GbE SFP+ アップリンク ポート—2

PoEポート

12—PoE++(ポートあたり最大60 Wを供給)

PoE予算

240W

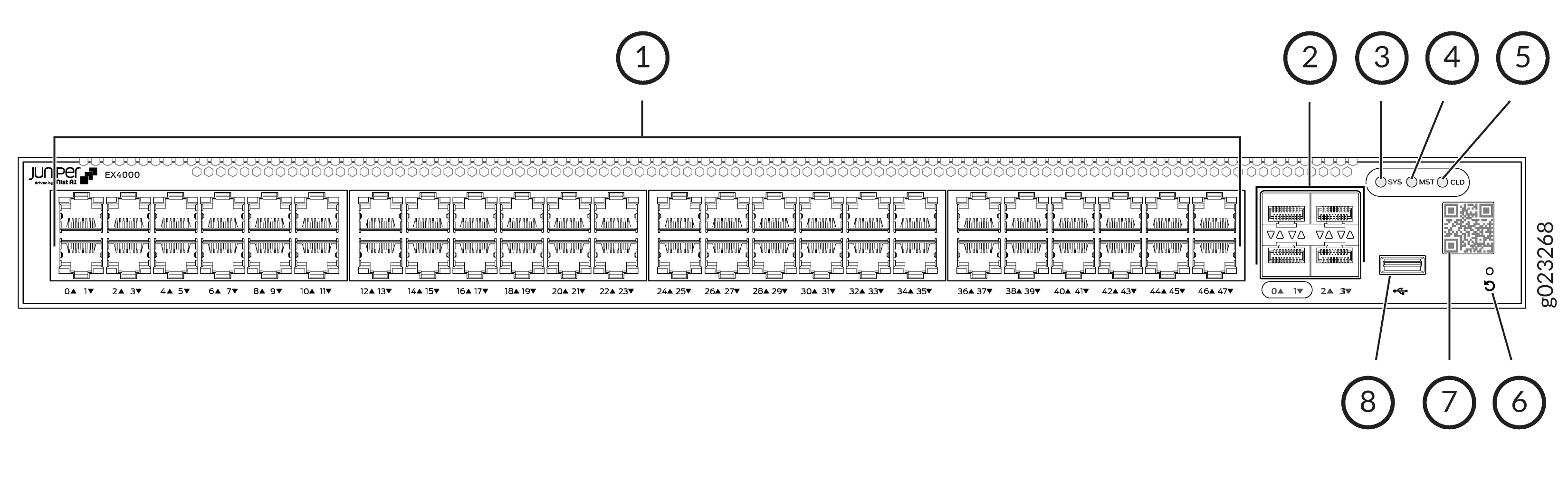
EX4000-24P

図 9 は、EX4000-24P スイッチのフロント パネルを示しています。

図9:EX4000-24PスイッチDiagram of Juniper EX4000 PoE+ switch with Ethernet ports, SYS/MST/CLD LEDs, QR code, USB, and console port for setup reference.のフロントパネル
1

24 個の 10/100/1000BASE-T RJ-45 ネットワーク ポート、ポートあたり最大 30 W の PoE+ を提供。

5

ピンホールリセットボタン

2

シャーシの状態 LED( SYS のラベル付き)

6

請求コードラベル

3

シャーシの状態 LED( MST のラベル付き)

7

USB 2.0 Type-A ポート

4

シャーシの状態 LED( CLD のラベル付き)

8

2つの1Gbps/10Gbps SFP+バーチャルシャーシポート(番号0および1)と2つの1Gbps/10Gbps SFP+アップリンクポート(番号2および3)

図 10 は、EX4000-24P スイッチの背面パネルを示しています。

図10:EX4000-24PスイッチDiagram of network device rear panel showing MGMT port for manaGbEment, CON port for console access, cooling fans, grounding point, AC power input 100-240V 50-60Hz 8.5A.の背面パネル
1

RJ-45 管理ポート( MGMT とラベル付け)

4

保護接地端子

2

RJ-45 コンソール ポート( CON とラベル付け)

5

電源コード固定スロット

3

内蔵ファンの通気口

6

電源入力端子

表 9 は、EX4000-24P スイッチ モデルの冷却、電力、最初の Junos OS リリースの詳細を示しています。

表 10 は、EX4000-24P スイッチの物理仕様、ポート、スループットを示しています。

表9:EX4000-24Pスイッチモデル-冷却、電源、最初のJunos OS リリース

モデル番号

ファン モジュール

電源

最初の Junos OS リリース

EX4000-24P

前面から背面へのエアフローを備えた 2 つの内蔵ファン。

内部電源(固定PSU)

24.4R1-S2

表 10:EX4000-24P スイッチ—物理仕様とポート

アイテム

形容

シャーシ寸法

高さ:4.34 cm(1.71 インチ)

:44.10 cm(17.36 インチ)

奥行き:25.8 cm(10.16 インチ)

重量

4.2 kg(9.2 ポンド)

内蔵ポート

  • 10/100/1000BASE-T RJ-45 PoE+ 対応ネットワーク ポート—24

  • 1 Gbps/10 Gbps SFP+ バーチャルシャーシ ポート—2

  • 1 Gbps/10 Gbps SFP+ アップリンク ポート—2

PoEポート

24 - PoE+(ポート当たり最大30 Wを提供)

PoE予算

370W

EX4000-24T

図 11 は、EX4000-24T スイッチのフロント パネルを示しています。

図11:EX4000-24TスイッチFront panel diagram of a Juniper Networks EX4000 series switch with Ethernet ports, system status LEDs, QR code, USB and console ports, and dedicated uplink ports.のフロントパネル
1

24 個の 10/100/1000BASE-T RJ-45 ネットワーク ポート。

5

ピンホールリセットボタン

2

シャーシの状態 LED( SYS のラベル付き)

6

請求コードラベル

3

シャーシの状態 LED( MST のラベル付き)

7

USB 2.0 Type-A ポート

4

シャーシの状態 LED( CLD のラベル付き)

8

2つの1Gbps/10Gbps SFP+バーチャルシャーシポート(番号0および1)と2つの1Gbps/10Gbps SFP+アップリンクポート(番号2および3)

図 12 は、EX4000-24T スイッチの背面パネルを示しています。

図12:EX4000-24TスイッチDiagram of a network device's rear panel showing MGMT and CONV ports, grounding point, ventilation, cooling fan, and power input details.の背面パネル
1

RJ-45 管理ポート( MGMT とラベル付け)

4

内蔵ファンの通気口

2

RJ-45 コンソール ポート( CON とラベル付け)

5

電源コード固定スロット

3

保護接地端子

6

電源入力端子

表 11 は、EX4000-24T スイッチ モデルの冷却、電源、最初の Junos OS リリースの詳細を示しています。

表12は、EX4000-24Tスイッチの物理仕様、ポート、スループットを示しています。

表 11:EX4000-24T スイッチ モデル-冷却、電源、最初の Junos OS リリース

モデル番号

ファン モジュール

電源

最初の Junos OS リリース

EX4000-24T

前面から背面へのエアフローを備えた1つの内蔵ファン。

内部電源(固定PSU)

24.4R1-S2

表12:EX4000-24Tスイッチ—物理仕様とポート

アイテム

形容

シャーシ寸法

高さ:4.34 cm(1.71 インチ)

:44.10 cm(17.36 インチ)

奥行き:21.40 cm(8.43 インチ)

重量

2.9 kg(6.3 ポンド)

内蔵ポート

  • 10/100/1000BASE-T RJ-45 ネットワーク ポート—24

  • 1 Gbps/10 Gbps SFP+ バーチャルシャーシ ポート—2

  • 1 Gbps/10 Gbps SFP+ アップリンク ポート—2

PoEポート

該当なし

PoE予算

該当なし

EX4000-24MP

図 13 は、EX4000-24MP スイッチのフロント パネルを示しています。

図13:EX4000-24MPスイッチDiagram of Juniper Networks EX4000 MG PoE++ switch front panel with labeled Ethernet ports, SYS, MST, CLD indicators, QR code, USB port, and model label.のフロントパネル
1

8 個の 10/100/1000BASE-T RJ-45 ネットワーク ポート、PoE-bt ポート。

6

ピンホールリセットボタン

2

12 個の 10/100/1000BASE-T RJ-45 ネットワーク ポート、PoE-bt ポート。

7

請求コードラベル

3

シャーシの状態 LED( SYS のラベル付き)

8

USB 2.0 Type-A ポート

4

シャーシの状態 LED( MST のラベル付き)

9

2つの1Gbps/10Gbps SFP+バーチャルシャーシポート(番号0および1)と2つの1Gbps/10Gbps SFP+アップリンクポート(番号2および3)

5

シャーシの状態 LED( CLD のラベル付き)

10

100Mbps/1Gbps/2.5Gbps RJ-45ポート x 4。これらのポートは PoE-bt をサポートしています。

図 14 は、EX4000-24MP スイッチの背面パネルを示しています。

図14:EX4000-24MPスイッチDiagram of a network device rear panel showing MGMT port, CONV port, cooling fans, grounding point, and power input specs.の背面パネル
1

RJ-45 管理ポート( MGMT とラベル付け)

4

保護接地端子

2

RJ-45 コンソール ポート( CON とラベル付け)

5

電源コード固定スロット

3

内蔵ファンの通気口

6

電源入力端子

表 13 は、EX4000-24MP スイッチ モデルの冷却、電源、最初の Junos OS リリースの詳細を示しています。

表 14 は、EX4000-24MP スイッチの物理仕様、ポート、スループットを示しています。

表 13:EX4000-24MP スイッチ モデル-冷却、電源、最初の Junos OS リリース

モデル番号

ファン モジュール

電源

最初の Junos OS リリース

EX4000-24MP

前面から背面へのエアフローを備えた 2 つの内蔵ファン。

内部電源(固定PSU)

24.4R1

表 14:EX4000-24MP スイッチ—物理仕様とポート

アイテム

形容

シャーシ寸法

高さ:4.34 cm(1.71 インチ)

:44.1 cm(17.36 インチ)

奥行き:25.80 cm(10.16 インチ)

重量

4.1 kg(9.3 ポンド)

内蔵ポート

  • 10/100/1000BASE-T RJ-45 PoE-bt 対応ネットワーク ポート—20

  • 100 Mbps/1 Gbps/2.5 Gbps PoE-bt 対応 RJ-45—4

  • 1 Gbps/10 Gbps SFP+ バーチャルシャーシ ポート—2

  • 1 Gbps/10 Gbps SFP+ アップリンク ポート—2

PoEポート

24—PoE++(ポートあたり最大60 Wを供給)

PoE予算

480W

EX4000-48P

図 15 は、EX4000-48P スイッチのフロント パネルを示しています。

図15:EX4000-48PスイッチDiagram of Juniper Networks EX4000 PoE+ switch front panel with labeled Ethernet ports, LED indicators, QR code, USB port, and serial number g023279.のフロントパネル
1

48 個の 10/100/1000BASE-T RJ-45 ネットワーク ポートは、ポートあたり最大 30 W の PoE+ をサポートします。

5

シャーシの状態 LED( CLD のラベル付き)

2

2つの1Gbps/10Gbps SFP+バーチャルシャーシポート(番号0および1)と2つの1Gbps/10Gbps SFP+アップリンクポート(番号2および3)

6

ピンホールリセットボタン

3

シャーシの状態 LED( SYS のラベル付き)

7

請求コードラベル

4

シャーシの状態 LED( MST のラベル付き)

8

USB 2.0 Type-A ポート

図 16 は、EX4000-48P スイッチの背面パネルを示しています。

図16:EX4000-48PスイッチRear panel of a network device with labeled components: MGMT port, CON port, cooling fans, grounding point, power indicator, and power input.の背面パネル
1

RJ-45 コンソール ポート( CON とラベル付け)

4

保護接地端子

2

RJ-45 管理ポート( MGMT とラベル付け)

5

電源コード固定スロット

3

内蔵ファンの通気口

6

電源入力端子

表 15 は、EX4000-48P スイッチ モデルの冷却、電源、最初の Junos OS リリースの詳細を示しています。

表16は、EX4000-48Pスイッチの物理仕様とポートを示しています。

表 15:EX4000-48P スイッチ モデル-冷却、電源、Junos の最初のリリース

モデル番号

ファン モジュール

電源

最初の Junos OS リリース

EX4000-48P

フロントツーバックのエアフローを備えた3つの内蔵固定ファン。

内部電源(固定PSU)

24.4R1-S2

表 16:EX4000-48P スイッチ—物理仕様とポート

アイテム

形容

シャーシ寸法

高さ:4.34 cm(1.71 インチ)

:44.10 cm(17.36 インチ)

奥行き:30.40 cm(11.97 インチ)

重量

4.9 kg(10.8 ポンド)

内蔵ポート

  • 10/100/1000BASE-T RJ-45 PoE+ 対応ネットワーク ポート—48

  • 1 Gbps/10 Gbps SFP+ バーチャルシャーシ ポート—2

  • 1 Gbps/10 Gbps SFP+ アップリンク ポート—2

PoEポート

48—PoE+(デフォルトでは30 W)

PoE予算

740W

EX4000-48T

図 17 は、EX4000-48T スイッチのフロント パネルを示しています。

図 17:EX4000-48T スイッチ Juniper Networks EX4000 series Ethernet switch front panel with Ethernet and management ports, system status LEDs, USB, QR code, console port, serial number, and airflow vents.のフロント パネル
1

48 個の 10/100/1000BASE-T RJ-45 ネットワーク ポート。

5

シャーシの状態 LED( CLD のラベル付き)

2

2つの1Gbps/10Gbps SFP+バーチャルシャーシポート(番号0および1)と2つの1Gbps/10Gbps SFP+アップリンクポート(番号2および3)

6

ピンホールリセットボタン

3

シャーシの状態 LED( SYS のラベル付き)

7

請求コードラベル

4

シャーシの状態 LED( MST のラベル付き)

8

USB 2.0 Type-A ポート

図 18 は、EX4000-48T スイッチの背面パネルを示しています。

図18:EX4000-48TスイッチRear panel of network device with labeled components: MGMT port for manaGbEment, CON port for console access, grounding point, ventilation fan, and power input 100-240V 50-60Hz.の背面パネル
1

RJ-45 コンソール ポート( CON とラベル付け)

4

内蔵ファンの通気口

2

RJ-45 管理ポート( MGMT とラベル付け)

5

電源入力端子

3

保護接地端子

 

表 17 は、EX4000-48T スイッチ モデルの冷却、電力、最初の Junos OS リリースの詳細を示しています。

表18は、EX4000-48Tスイッチの物理仕様とポートを示しています。

表17:EX4000-48Tスイッチモデル-冷却、電力、Junosの最初のリリース

モデル番号

ファン モジュール

電源

最初の Junos OS リリース

EX4000-48T

前面から背面へのエアフローを備えた内蔵固定ファン 1 基。

内部電源(固定PSU)

24.4R1-S2

表 18:EX4000-48T スイッチ—物理仕様とポート

アイテム

形容

シャーシ寸法

高さ:4.34 cm(1.71 インチ)

:44.10 cm(17.36 インチ)

奥行き:25.8 cm(10.16 インチ)

重量

3.6 kg(7.9 ポンド)

内蔵ポート

  • 10/100/1000BASE-T RJ-45 ネットワーク ポート—48

  • 1 Gbps/10 Gbps SFP+ バーチャルシャーシ ポート—2

  • 1 Gbps/10 Gbps SFP+ アップリンク ポート—2

PoEポート

該当なし

PoE予算

該当なし

EX4000-48MP

図 19 は、EX4000-48MP スイッチのフロント パネルを示しています。

図19:EX4000-48MPスイッチDiagram of Juniper Networks EX4000 MG PoE++ Ethernet switch with labeled components including ports, system LEDs, MST and CLD LEDs, QR code, console and USB ports, reset button, and port grouping.のフロントパネル
1

40 個の 10/100/1000BASE-T RJ-45 ネットワーク ポート、PoE-bt ポート。

6

ピンホールリセットボタン

2

2つの1Gbps/10Gbps SFP+バーチャルシャーシポート(番号0および1)と2つの1Gbps/10Gbps SFP+アップリンクポート(番号2および3)

7

請求コードラベル

3

シャーシの状態 LED( SYS のラベル付き)

8

USB 2.0 Type-A ポート

4

シャーシの状態 LED( MST のラベル付き)

9

8 個の 100 Mbps/1 Gbps/2.5 Gbps RJ-45 ポート。これらのポートは PoE-bt をサポートしています。

5

シャーシの状態 LED( CLD のラベル付き)

 

図 20 は、EX4000-48MP スイッチの背面パネルを示しています。

図20:EX4000-48MPスイッチDiagram of a network device rear panel with labeled MGMT port, CON port, cooling fans, grounding point, power button, and power input.の背面パネル
1

RJ-45 コンソール ポート( CON とラベル付け)

4

保護接地端子

2

RJ-45 管理ポート( MGMT とラベル付け)

5

電源コード固定スロット

3

内蔵ファンの通気口

6

電源入力端子

表 19 は、EX4000-48MP スイッチ モデルの冷却、電力、Junos OS リリースの最初の詳細を示しています。

表 20 は、EX4000-48MP スイッチの物理仕様とポートを示しています。

表 19:EX4000-48MP スイッチ モデル-冷却、電源、Junos の最初のリリース

モデル番号

ファン モジュール

電源

最初の Junos OS リリース

EX4000-48MP

フロントツーバックのエアフローを備えた3つの内蔵固定ファン。

内部電源(固定PSU)

24.4R1

表 20:EX4000-48MP スイッチ—物理仕様とポート

アイテム

形容

シャーシ寸法

高さ:4.34 cm(1.71 インチ)

:44.1 cm(17.36 インチ)

奥行き:30.40 cm(11.97 インチ)

重量

5.3 kg(11.68 ポンド)

内蔵ポート

  • 10/100/1000BASE-T RJ-45 PoE-bt 対応ネットワーク ポート—40

  • 8 個の 100 Mbps/1 Gbps/2.5 Gbps PoE-BT 対応 RJ-45 ポート—8

  • 1 Gbps/10 Gbps SFP+ バーチャルシャーシ ポート—2

  • 1 Gbps/10 Gbps SFP+ アップリンク ポート—2

PoEポート

48 PoE++(デフォルトでは 60 W)

PoE予算

960W