SUR CETTE PAGE
Installation et retrait des composants de la carte de ligne PTX10004
Les cartes de ligne sur le PTX10004 sont des unités remplaçables sur site (FRU) qui peuvent être installées dans n’importe quel emplacement de carte de ligne à l’avant du châssis. Les cartes de ligne peuvent être insérées et retirées à chaud : vous pouvez les retirer et les remplacer sans éteindre le routeur ni interrompre ses fonctions.
Comment manipuler et stocker les cartes de ligne PTX10004
Les cartes de ligne PTX10004 ont des composants fragiles. Pour éviter d’endommager les cartes de ligne, assurez-vous de suivre les pratiques de manipulation sûres.
Comment tenir des cartes de ligne PTX10004
Portez une attention particulière à la façon dont vous tenez les cartes de ligne. Les cartes de ligne sont installées horizontalement et il est préférable de les tenir sur les côtés des unités lorsqu’elles ne sont pas dans le châssis.
Lorsque vous marchez avec une carte de ligne à la main :
Comment stocker une carte de ligne
Vous devez stocker les cartes de ligne soit dans le châssis, soit dans un conteneur d’expédition de rechange, horizontalement et côté tôle vers le bas. N’empilez pas ces unités les unes sur les autres ou sur d’autres composants. Placez chaque appareil séparément dans un sac antistatique ou sur un tapis antistatique placé sur une surface plane et stable.
Étant donné que ces unités sont lourdes et que les sacs antistatiques sont fragiles, il est préférable d’insérer la carte de ligne dans le sac à deux.
Pour insérer une carte de ligne dans un sac antistatique :
- Tenez l’appareil horizontalement avec la façade vers vous.
- Faites glisser l’ouverture du sac sur le bord du connecteur.
Si vous devez insérer vous-même la carte de ligne dans un sac :
-
Posez l’appareil horizontalement sur un tapis antistatique qui se trouve sur une surface plane et stable avec le côté en tôle vers le bas.
-
Orientez l’appareil avec la façade vers vous.
-
Insérez délicatement le bord du connecteur dans l’ouverture du sac et tirez le sac vers vous pour couvrir l’appareil.
Prenez une carte de ligne PTX10004 en ligne ou hors ligne
Le bouton hors ligne/en ligne (OFF) est encastré sous la façade, directement sous le voyant d’état (STS). Vous pouvez utiliser n’importe laquelle des cartes de ligne PTX10004 en ligne ou hors ligne en utilisant l’une de ces deux méthodes :
-
Appuyez sur le bouton OFF à l’aide d’une épingle non conductrice, telle qu’un cure-dent, jusqu’à ce que la LED STS s’éteigne après environ 5 secondes.
-
Exécutez la commande CLI :
user@host> request chassis pic fpc-slot fpc-slot pic-slot pic-slot offline
Installation d’une carte de ligne PTX10004
Avant d’installer une carte de ligne dans le châssis du routeur :
-
Assurez-vous d’avoir pris les précautions nécessaires pour éviter les dommages causés par les décharges électrostatiques (ESD). Voir Prévention des dommages dus à une décharge électrostatique.
-
Assurez-vous de savoir comment manipuler et stocker la carte de ligne. Reportez-vous à la section Comment manipuler et stocker les cartes de ligne PTX10004.
-
Vérifiez que le bord du connecteur de la carte de ligne n’est pas endommagé. L’installation d’une carte de ligne endommagée peut endommager le routeur.
-
Assurez-vous que le routeur dispose d’une puissance suffisante pour alimenter la carte de ligne tout en conservant sa nredondance d’alimentation +1. Pour déterminer si le routeur dispose d’une puissance suffisante pour la carte de ligne, utilisez la
show chassis power-budget-statisticscommande. -
Assurez-vous de disposer des pièces et outils suivants pour installer une carte de ligne dans le routeur :
-
Bracelet antistatique
-
Tournevis cruciforme (+), numéro 2
-
Pour installer une carte de ligne dans le châssis du routeur :
Vous pouvez installer le kit de gestion des câbles en option après l’installation de la carte.
Suppression d’une carte de ligne PTX10004
Si vous disposez du système de gestion des câbles par carte de ligne en option, il n’est pas nécessaire de retirer le système de gestion des câbles avant de retirer la carte de ligne.
Avant de retirer une carte de ligne du châssis du routeur :
-
Assurez-vous d’avoir pris les précautions nécessaires pour éviter les dommages causés par les décharges électrostatiques (ESD). Voir Prévention des dommages dus à une décharge électrostatique.
-
Si des câbles optiques (y compris des émetteurs-récepteurs sont installés dans la carte de ligne), retirez-les avant de retirer la carte de ligne. Découvrez comment déconnecter un câble fibre optique d’un émetteur-récepteur sur un routeur PTX10004.
-
Assurez-vous de savoir comment manipuler et stocker la carte de ligne. Reportez-vous à la section Comment manipuler et stocker les cartes de ligne PTX10004.
-
Assurez-vous de disposer des pièces et outils suivants pour retirer une carte de ligne d’un châssis PTX10004 :
-
Bracelet antistatique
-
Un sac antistatique ou un tapis antistatique
Note:Le placement d’une carte de ligne dans un sac électrostatique peut nécessiter l’aide d’une deuxième personne pour glisser la carte de ligne dans le sac.
-
Une carte de ligne de remplacement ou un couvercle pour l’emplacement vide
-
Pour retirer une carte de ligne d’un châssis de routeur PTX10004 :
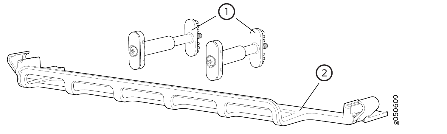
Installer le système de gestion des câbles PTX10004
Le système de gestion des câbles PTX10004 est un kit optionnel à commander (JLC-CBL-MGMT-KIT) qui organise et protège le câblage optique attaché aux cartes de ligne. Une fois qu’une carte de ligne est installée, vous pouvez toujours la retirer sans avoir à retirer le système de gestion des câbles.
Assurez-vous de disposer des pièces et outils suivants pour installer le système de gestion des câbles PTX10004 sur une carte de ligne :
-
Tournevis cruciforme (+), numéro 2
Pour installer le système de gestion des câbles (voir Figure 9) :
Installer le système de gestion des câbles—JLC-CBL-MGMT-KIT
Le système de gestion des câbles JLC-CBL-MGMT-KIT de Juniper Networks est un kit disponible à la commande. Ce kit permet d’organiser et de protéger le câblage optique attaché aux cartes de ligne. Après avoir installé une carte de ligne, vous pouvez toujours la retirer sans avoir à retirer le système de gestion des câbles.
Assurez-vous de disposer de l’outil suivant pour installer le système de gestion des câbles sur une carte de ligne :
Tournevis cruciforme (+), numéro 2
Pour installer le système de gestion des câbles :
















