Installer le commutateur EX4400
Cette rubrique vous guide tout au long des étapes d’installation des commutateurs EX4400 sur des racks à deux montants, des racks à quatre montants, des bureaux et des murs.
Déballage d’un commutateur EX4400
Nous expédions les commutateurs EX4400 dans un carton sécurisé, avec un matériau d’emballage en mousse. Le carton dispose d’un compartiment pour accessoires.
Les commutateurs EX4400 sont protégés au maximum à l’intérieur du carton d’expédition. Ne déballez pas les commutateurs tant que vous n’êtes pas prêt à les monter.
Pour décompresser le commutateur :
- Déplacez le carton d’expédition dans une zone de rassemblement aussi proche que possible du site d’installation, mais où vous avez suffisamment d’espace pour retirer les composants du système.
- Positionnez le carton de manière à ce que les flèches pointent vers le haut.
- Ouvrez les rabats supérieurs du carton d’expédition.
- Retirez le matériau d’emballage qui maintient l’interrupteur en place.
- Vérifiez que les pièces reçues correspondent à l’inventaire indiqué sur l’étiquette apposée sur le carton (voir la liste de colisage d’un commutateur EX4400).
- Conservez le carton d’expédition et les matériaux d’emballage au cas où vous auriez besoin de déplacer ou d’expédier le commutateur plus tard.
Liste de colisage pour un commutateur EX4400
L’envoi du commutateur comprend une liste de colisage. Vérifiez les pièces que vous recevez avec l’interrupteur par rapport aux articles de la liste de colisage. Les pièces expédiées dépendent du modèle de commutateur que vous achetez (voir Modèles et spécifications EX4400).
S’il manque une pièce sur la liste de colisage, contactez votre représentant du service client ou le service client de Juniper aux États-Unis ou au Canada par téléphone au 1-888-314-5822. Pour connaître les options de numérotation internationale ou directe dans les pays qui n’ont pas de numéro gratuit, consultez https://www.juniper.net/support/requesting-support.html.
Le Tableau 1 répertorie les pièces et leurs quantités telles qu’elles figurent dans la liste de colisage standard d’un commutateur EX4400.
| Quantité de composants | |
|---|---|
| Interrupteur |
1 |
| Modules de ventilation |
2 préinstallés |
| Alimentation |
1 (CA ou CC) préinstallé |
| (Si vous avez acheté un modèle avec une alimentation CA) Cordon d’alimentation CA adapté à votre situation géographique |
1 |
| (Si vous avez acheté un modèle avec une alimentation CA) Dispositif de retenue du cordon d’alimentation CA |
1 |
| Cordon de source d’alimentation CC avec connecteur (CBL-JNP-PWR-DSUB) fourni avec les références CC |
1 |
| Couvercles pour emplacements sans composants préinstallés |
|
| Supports de montage à deux montants |
2 |
| Vis pour fixer les supports de montage |
8 |
| Pieds en caoutchouc pour monter le commutateur sur un bureau ou une autre surface plane |
4 |
| Feuille de route de la documentation |
1 |
| Garantie des produits Juniper Networks |
1 |
| Contrat de licence de l’utilisateur final |
1 |
Mettre à jour les données d’installation de base
Mettez à jour les données de la base d’installation en cas d’ajout ou de modification de la base d’installation ou si la base d’installation est déplacée. Juniper Networks décline toute responsabilité en cas de non-respect du SLA de remplacement matériel pour les produits pour lesquels les données de base d’installation ne sont pas précises.
Mettez à jour votre base d’installation à https://supportportal.juniper.net/s/CreateCase .
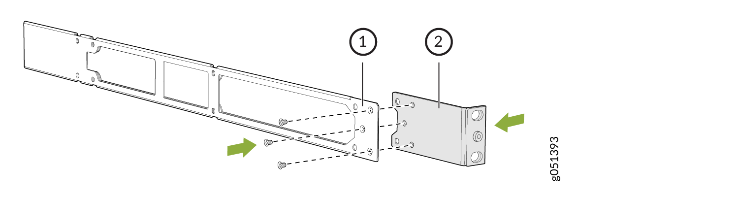
Montez un commutateur EX4400 sur deux postes d’une baie
Vous pouvez monter un commutateur EX4400 sur un rack à deux montants ou sur deux ports d’un 19 pouces. rack à quatre montants à l’aide du kit de montage à deux montants (référence : EX-RMK) fourni avec le commutateur. (Dans le reste de cette rubrique, le terme « rack » désigne un rack ou une armoire.)
Avant de monter un commutateur EX4400 sur deux postes d’une baie :
-
Vérifiez que le site répond aux exigences décrites dans Liste de contrôle de préparation du site pour les commutateurs EX4400.
-
Placez le rack à son emplacement permanent, en laissant suffisamment d’espace pour la circulation de l’air et l’entretien, et fixez le rack à la structure du bâtiment.
-
Lisez le Guide de sécurité de Juniper Networks, en portant une attention particulière aux consignes de levage du châssis et des composants.
-
Assurez-vous d’avoir pris les précautions nécessaires pour éviter les dommages dus à une décharge électrostatique (voir Prévention des dommages dus à une décharge électrostatique).
-
Retirez le commutateur de son carton d’expédition (voir Déballer un commutateur EX4400).
Assurez-vous d’avoir les pièces et outils suivants à portée de main :
-
Tournevis cruciforme (+) numéro 2 - non fourni
-
Quatre vis pour fixer les supports de montage à la baie (non fournies)
-
Bracelet antistatique non fourni
-
Le kit de montage à deux montants qui comprend deux supports de montage et huit vis pour fixer les supports de montage, fourni avec l’interrupteur
-
Couvercles pour l’emplacement vide du module d’extension et l’emplacement d’alimentation vide fournis avec le commutateur
Vous pouvez également monter un commutateur EX4400 :
-
Au ras des poteaux avant d’un 19 po. Rack à quatre montants en utilisant un kit de montage en rack à quatre montants pouvant être commandé séparément.
-
En position encastrée à l’intérieur d’un 19 po. Rack à quatre montants à l’aide des supports de montage encastrés fournis avec un kit de montage en rack à quatre montants à commander séparément.
-
Sur un bureau ou une autre surface plane à l’aide des pieds en caoutchouc fournis avec l’interrupteur.
-
Sur un mur à l’aide d’un kit de montage mural à commander séparément.
Pour connaître les références des kits de montage pouvant être commandés séparément, reportez-vous à la fiche technique des commutateurs EX4400.
Une personne doit être disponible pour soulever le commutateur pendant qu’une autre personne fixe le commutateur au rack.
Si vous montez plusieurs unités sur une baie, montez l’unité la plus lourde en bas de la baie, puis montez les autres unités du bas de la baie vers le haut par ordre décroissant du poids des unités.
Pour monter un commutateur EX4400 sur deux postes d’une baie :
Les caches des fentes réduisent le risque de pénétration d’objets ou de substances dans le châssis. Ils assurent également un refroidissement optimal du commutateur.
Montez un commutateur EX4400 au ras des montants avant d’une baie ou d’une armoire à quatre montants
Vous pouvez monter un commutateur EX4400 au ras des poteaux avant d’un 19 pouces. rack à quatre montants en utilisant un kit de montage en rack à quatre montants commandé séparément (référence : EX-4PST-RMK). (Dans le reste de cette rubrique, le terme « rack » désigne un rack ou une armoire.)
Avant de monter un commutateur EX4400 au ras des poteaux avant d’un 19 pouces. Rack à quatre montants :
-
Vérifiez que le site répond aux exigences décrites dans Liste de contrôle de préparation du site pour les commutateurs EX4400.
-
Placez le rack à son emplacement permanent, en laissant suffisamment d’espace pour la circulation de l’air et l’entretien, et fixez le rack à la structure du bâtiment.
-
Lisez le Guide de sécurité de Juniper Networks, en portant une attention particulière aux consignes de levage du châssis et des composants.
-
Assurez-vous d’avoir pris les précautions nécessaires pour éviter les dommages dus à une décharge électrostatique (voir Prévention des dommages dus à une décharge électrostatique).
-
Retirez le commutateur de son carton d’expédition (voir Déballer un commutateur EX4400).
Assurez-vous d’avoir les pièces et outils suivants à portée de main :
-
Tournevis cruciforme (+) numéro 2 - non fourni
-
Huit vis pour fixer les supports de montage à la baie (non fournies)
-
Bracelet antistatique non fourni
-
Support de montage avant pour monter le commutateur au ras des poteaux avant d’une baie - 2 (fourni avec le kit de montage en rack à quatre montants)
Le support de montage avant est composé d’un rail latéral auquel est fixé un support en forme de L.
-
Vis cruciformes 4 x 6 mm à tête plate pour fixer le support de montage avant au châssis - 12 (fournies avec le kit de montage en rack à quatre montants)
-
Supports de montage arrière : 2 (fournis avec le kit de montage en rack à quatre montants)
-
Couvercles pour l’emplacement vide du module d’extension et l’emplacement d’alimentation vide fournis avec le commutateur
Vous pouvez également monter un commutateur EX4400 :
-
En position encastrée à l’intérieur d’un 19 po. Rack à quatre montants à l’aide des supports de montage encastrés fournis avec un kit de montage en rack à quatre montants à commander séparément.
-
Sur un rack à deux montants ou sur deux poteaux d’un 19 po. rack à quatre montants à l’aide des supports de montage à deux montants et des vis fournis avec l’interrupteur.
-
Sur un bureau ou une autre surface plane à l’aide des pieds en caoutchouc fournis avec l’interrupteur.
-
Sur un mur à l’aide d’un kit de montage mural à commander séparément.
Pour connaître les références des kits de montage pouvant être commandés séparément, reportez-vous à la fiche technique des commutateurs EX4400.
Une personne doit être disponible pour soulever le commutateur pendant qu’une autre personne fixe le commutateur au rack.
Si vous montez plusieurs unités sur une baie, montez l’unité la plus lourde en bas de la baie, puis montez les autres unités du bas de la baie vers le haut par ordre décroissant du poids des unités.
Pour monter un commutateur EX4400 au ras des poteaux avant d’un 19 pouces. Rack à quatre montants :
Les caches des fentes réduisent le risque de pénétration d’objets ou de substances dans le châssis. Ils assurent également un refroidissement optimal du commutateur.
Montez un commutateur EX4400 en retrait dans une baie ou une armoire
Vous pouvez monter un interrupteur EX4400 en position encastrée à l’intérieur d’un 19 pouces. rack à quatre montants à l’aide des supports de montage encastrés fournis avec un kit de montage en rack à quatre montants à commander séparément (référence : EX-4PST-RMK). (Dans le reste de cette rubrique, le terme « rack » désigne un rack ou une armoire.)
Avant de monter un commutateur EX4400 en position encastrée à l’intérieur d’un 19 pouces. Rack à quatre montants :
-
Vérifiez que le site répond aux exigences décrites dans Liste de contrôle de préparation du site pour les commutateurs EX4400.
-
Placez le rack à son emplacement permanent, en laissant suffisamment d’espace pour la circulation de l’air et l’entretien, et fixez le rack à la structure du bâtiment.
-
Lisez le Guide de sécurité de Juniper Networks, en portant une attention particulière aux consignes de levage du châssis et des composants.
-
Assurez-vous d’avoir pris les précautions nécessaires pour éviter les dommages dus à une décharge électrostatique (voir Prévention des dommages dus à une décharge électrostatique).
-
Retirez le commutateur de son carton d’expédition (voir Déballer un commutateur EX4400).
Assurez-vous d’avoir les pièces et outils suivants à portée de main :
-
Tournevis cruciforme (+) numéro 2 - non fourni
-
Huit vis pour fixer les supports de montage à la baie (non fournies)
-
Bracelet antistatique non fourni
-
Support de montage avant pour monter le commutateur au ras des poteaux avant d’une baie - 2 (fourni avec le kit de montage en rack à quatre montants)
Le support de montage avant est composé d’un rail latéral auquel est fixé un support en forme de L.
-
Vis cruciformes 4 x 6 mm à tête plate pour fixer le support de montage avant au châssis - 12 (fournies avec le kit de montage en rack à quatre montants)
-
Supports de montage arrière avec lames : 2 (fournis avec le kit de montage en rack à quatre montants)
-
Supports de montage encastrés pour monter le commutateur en position encastrée par rapport aux poteaux avant d’une baie - 2 (fournis avec le kit de montage en rack à quatre montants)
-
Vis cruciformes à tête plate 4-40 pour fixer les supports de montage encastrés aux rails latéraux de l’ensemble de support - 6 (fournis avec le kit de montage en rack à quatre montants)
-
Couvercles pour l’emplacement vide du module d’extension et l’emplacement d’alimentation vide fournis avec le commutateur
Vous pouvez également monter un commutateur EX4400 :
-
Au ras des poteaux avant d’un 19 po. Rack à quatre montants en utilisant un kit de montage en rack à quatre montants pouvant être commandé séparément.
-
Sur un rack à deux montants ou sur deux poteaux d’un 19 po. rack à quatre montants à l’aide des supports de montage à deux montants et des vis fournis avec l’interrupteur.
-
Sur un bureau ou une autre surface plane à l’aide des pieds en caoutchouc fournis avec l’interrupteur.
-
Sur un mur à l’aide d’un kit de montage mural à commander séparément.
Pour connaître les références des kits de montage pouvant être commandés séparément, reportez-vous à la fiche technique des commutateurs EX4400.
Une personne doit être disponible pour soulever le commutateur pendant qu’une autre personne fixe le commutateur au rack.
Si vous montez plusieurs unités sur une baie, montez l’unité la plus lourde en bas de la baie, puis montez les autres unités du bas de la baie vers le haut par ordre décroissant du poids des unités.
Pour monter un commutateur EX4400 en position encastrée par rapport aux montants avant d’un 19 pouces. Rack à quatre montants :
Les caches des fentes réduisent le risque de pénétration d’objets ou de substances dans le châssis. Ils assurent également un refroidissement optimal du commutateur.
Monter un commutateur EX4400 sur un bureau ou une autre surface plane
Vous pouvez monter un commutateur EX4400 sur un bureau ou une autre surface plane à l’aide des quatre pieds en caoutchouc fournis avec le commutateur. Les pieds en caoutchouc stabilisent le châssis.
Avant de monter un commutateur EX4400 sur un bureau ou une autre surface plane :
-
Vérifiez que le site répond aux exigences décrites dans Liste de contrôle de préparation du site pour les commutateurs EX4400.
-
Placez le bureau à son emplacement permanent, en laissant suffisamment d’espace pour la circulation de l’air et l’entretien, et fixez le bureau à la structure du bâtiment.
-
Lisez le Guide de sécurité de Juniper Networks, en portant une attention particulière aux consignes de levage du châssis et des composants.
-
Assurez-vous d’avoir pris les précautions nécessaires pour éviter les dommages dus à une décharge électrostatique (voir Prévention des dommages dus à une décharge électrostatique).
-
Retirez le commutateur de son carton d’expédition (voir Déballer un commutateur EX4400).
Assurez-vous d’avoir les pièces et outils suivants à portée de main :
-
Quatre pieds en caoutchouc pour stabiliser le châssis sur le bureau ou toute autre surface plane, fournis avec le commutateur
-
Couvercles pour l’emplacement vide du module d’extension et l’emplacement d’alimentation vide fournis avec le commutateur
Vous pouvez également monter un commutateur EX4400 :
-
Au ras des poteaux avant d’un 19 po. Rack à quatre montants en utilisant un kit de montage en rack à quatre montants pouvant être commandé séparément.
-
En position encastrée à l’intérieur d’un 19 po. Rack à quatre montants à l’aide des supports de montage encastrés fournis avec un kit de montage en rack à quatre montants à commander séparément.
-
Sur un rack à deux montants ou sur deux poteaux d’un 19 po. rack à quatre montants à l’aide des supports de montage à deux montants fournis avec le commutateur.
-
Sur un mur à l’aide d’un kit de montage mural à commander séparément.
Pour connaître les références des kits de montage pouvant être commandés séparément, reportez-vous à la fiche technique des commutateurs EX4400.
Pour monter l’EX4400 sur un bureau ou une autre surface plane :
- Retournez le châssis sur le bureau ou sur la surface plane où vous avez l’intention de monter le commutateur.
- Retirez l’autocollant des pieds en caoutchouc.
- Fixez les pieds en caoutchouc au bas du châssis.
- Retournez le châssis à l’endroit sur le bureau ou sur une surface plane.
- Couvrez l’emplacement vide du module d’extension et l’emplacement d’alimentation électrique à l’aide des couvercles fournis avec le commutateur.
Les caches des fentes réduisent le risque de pénétration d’objets ou de substances dans le châssis. Ils assurent également un refroidissement optimal du commutateur.
Montage d’un commutateur EX4400 sur un mur
Vous pouvez monter un commutateur EX4400 sur un mur à l’aide d’un kit de montage mural à commander séparément (référence : EX-WMK). (Dans le reste de cette rubrique, le terme « rack » désigne un rack ou une armoire.)
Avant de monter l’interrupteur sur un mur :
-
Vérifiez que le site répond aux exigences décrites dans Liste de contrôle de préparation du site pour les commutateurs EX4400.
-
Placez le rack à son emplacement permanent, en laissant suffisamment d’espace pour la circulation de l’air et l’entretien, et fixez le rack à la structure du bâtiment.
-
Lisez les consignes et avertissements généraux de sécurité, en accordant une attention particulière aux consignes de levage du châssis et des composants.
-
Assurez-vous d’avoir pris les précautions nécessaires pour éviter les dommages dus à une décharge électrostatique (voir Prévention des dommages dus à une décharge électrostatique).
-
Retirez le commutateur de son carton d’expédition (voir Déballer un commutateur EX4400).
Assurez-vous d’avoir les pièces et outils suivants à portée de main :
-
Tournevis cruciforme (+) numéro 2 - non fourni
-
8 à 32 x 1,25 po ou vis de montage M4 x 30 mm — 4 (non fournies)
-
Ancrages muraux creux capables de supporter le poids combiné de quatre interrupteurs à pleine charge, jusqu’à 30 kg (66 lb) (non fournis), si vous montez l’interrupteur dans une plaque de plâtre (panneau mural avec un noyau en plâtre de gypse) ou dans un panneau mural non soutenu par des montants muraux.
-
Supports de montage mural : 2 (fournis avec le kit de montage mural)
-
Vis de support de montage mural - 12 (fournies avec le kit de montage mural)
-
Couvercles pour l’emplacement vide du module d’extension et l’emplacement d’alimentation vide fournis avec le commutateur
-
Bracelet antistatique non fourni
Lorsque vous montez des commutateurs EX4400 sur un mur, orientez le panneau avant du châssis vers le côté droit ou vers le côté gauche pour assurer une bonne circulation de l’air et répondre aux exigences de sécurité en cas d’incendie.
Pour faciliter le levage, n’installez les blocs d’alimentation supplémentaires qu’après avoir fixé l’interrupteur au mur.
Vous pouvez également monter un commutateur EX4400 :
-
Au ras des poteaux avant d’un 19 po. Rack à quatre montants en utilisant un kit de montage en rack à quatre montants pouvant être commandé séparément.
-
En position encastrée à l’intérieur d’un 19 po. Rack à quatre montants à l’aide des supports de montage encastrés fournis avec un kit de montage en rack à quatre montants à commander séparément.
-
Sur un rack à deux montants ou sur deux poteaux d’un 19 po. rack à quatre montants à l’aide des supports de montage à deux montants et des vis fournis avec l’interrupteur.
-
Sur un bureau ou une autre surface plane à l’aide des pieds en caoutchouc fournis avec l’interrupteur.
Pour connaître les références des kits de montage pouvant être commandés séparément, reportez-vous à la fiche technique des commutateurs EX4400.
Les caches des fentes réduisent le risque de pénétration d’objets ou de substances dans le châssis. Les couvercles assurent également un refroidissement optimal de l’interrupteur.














