AUF DIESER SEITE
MX10004 Stromversorgungssystem
MX10004 Router unterstützen Wechselstrom, Gleichstrom, Hochspannungs-Wechselstrom (HVAC) und Hochspannungs-Gleichstrom (HVDC) und bieten die folgenden Netzteile:
-
JNP10K-PWR-AC3
-
JNP10K-PWR-AC2
-
JNP10K-PWR-DC3
-
JNP10K-PWR-DC2
-
JNP10K-PWR-AC3H
Sie können bis zu drei Netzteile in den Steckplätzen PSU0 bis PSU2 (von oben nach unten) auf der Rückseite des Gehäuses installieren.
Der JNP10K-PWR-AC2 und der JNP10K-PWR-AC3 können sich die Stromversorgung in einer gemischten Konfiguration proportional teilen, nur wenn Sie ein Upgrade auf JNP10K-PWR-AC3 durchführen.
Der JNP10K-PWR-AC2 und der JNP10K-PWR-AC3H können sich die Leistung in einer gemischten Konfiguration proportional teilen, vorausgesetzt, alle vier Netzteile werden entweder mit HLK oder HGÜ betrieben.
JNP10K-PWR-AC3 Netzteil
Das JNP10K-PWR-AC3-Netzteil ist ein Modell mit hoher Kapazität, das zur Unterstützung von Wechselstromsystemen im 15-A- und 20-A-Modus ausgelegt ist. siehe Abbildung 1.
Eingabe—Das Netzteil nimmt vier einphasige Wechselstromeingänge (180-264 VAC) (A0, A1, B0 und B1) mit entweder 20 A oder 15 A auf und bietet einen Gleichstromausgang von 12,3 V. Die Eingangsbuchse am AC-Netzteil entspricht IEC 320-C22. Der Gegenstecker am Netzkabel ist IEC 320-C21.
Ausgabe—Das Netzteil bietet einen Gleichstromausgang von 12,3 V bei:
- 7800 W (20-A-Eingang) mit drei oder vier aktiven Einspeisungen oder
- 6000 W (20-A-Eingang) mit zwei aktiven Einspeisungen (entweder A0 und A1 oder B0 und B1) oder
- 3000 W (20-A-Eingang) mit einer einzigen aktiven Einspeisung.
-
7800 W (15-A-Eingang) mit vier aktiven Einspeisungen oder
-
6900 W (15-A-Eingang) mit drei aktiven Einspeisungen oder
-
4600 W (15-A-Eingang) mit zwei aktiven Einspeisungen oder
-
2300 W (15-A-Eingang) mit einer einzigen aktiven Einspeisung.
-
Der Betriebseingangsspannungsbereich beträgt 180 bis 264 VAC für Wechselstromsysteme. Der Gleichstromausgang beträgt 12,3 VDC.
-
Die Anzahl der Stromversorgungen und ob die Netzteile Strom mit hoher Leistung (20 A) oder niedriger Ausgangsleistung (15 A) liefern, werden über eine Reihe von DIP-Schaltern (Dual Inline Package) auf der Frontplatte des Netzteils konfiguriert. Wenn ein Netzteil im Gehäuse auf wenig Leistung eingestellt ist, wird das Leistungsbudget für das Gehäuse auf wenig Leistung reduziert, unabhängig von den DIP-Schaltereinstellungen oder den Ausgabeergebnissen in der CLI. Diese Konstruktion schützt vor versehentlichem Einstellen der Stromversorgung auf 20 A in einer Einrichtung, die nur 15 A bereitstellen kann, und vor dem Auslösen des Leistungsschalters. Wir empfehlen, die DIP-Schaltereinstellungen in Ihrem System nicht zu mischen. In Tabelle 2 finden Sie Informationen zu den Eingangs- und Ausgangsspannungen bei Verwendung der DIP-Schalter.
-
Das JNP10K-PWR-AC3-Netzteil verfügt über einen ENABLE-Schalter auf der Vorderseite, mit dem der 12,3-VDC-Hauptausgang und der Standby-Ausgang von +5,0 V_BIAS aktiviert oder deaktiviert werden können. Wenn sich der Switch in der Position DISABLE befindet, wird der Front-End-PFC deaktiviert, um den Stromverbrauch zu minimieren. Dieser Switch hat die höchste Priorität gegenüber allen anderen Abschaltmethoden.
-
Die Leistungsfaktorkorrektur (PFC) beträgt PF bei Volllast mindestens 0,98 kW. Der maximale Einschaltstrom beträgt 50 A für die aktive Einspeisung.
JNP10K-PWR-BLN3 oder aktiver Rohling
Juniper Networks bietet ein aktives Blanko-Stromversorgungsmodul (ABPM) an, JNP10K-PWR-BLN3. Dies hilft bei der Luftzirkulation und Kühlung im Gehäuse. Sie können die folgende Kombination aus ABPM, passivem Blanko und JNP10K-PWR-AC3-Netzteilen (PSU) im Router-Gehäuse haben:
-
Drei Netzteile
-
Zwei Netzteile mit einem ABPM
-
Ein Netzteil mit einem ABPMs und einem passiven Blanko-Netzteil
-
Ein Netzteil mit zwei ABPMs
-
Tabelle 1: Netzteil, ABPM, passive Blanko-Matrix JNP10K-PWR-AC3 Netzteil(e)
ABPM (JNP10K-PWR-BLN3)
Passiver Blank
3
-
-
2
1
-
1
1
1
1
2
-
Anmerkung:Das Gehäuse des Routers muss mindestens ein JNP10K-PWR-AC3-Netzteil (PSU) enthalten.
Das JNP10K-PWR-AC3-Netzteil verfügt über interne Lüfter, die zur Gehäusekühlung beitragen. Drei Netzteile oder zwei Netzteile müssen zusammen mit einem ABPM in einem laufenden Gehäuse vorhanden sein, um den richtigen Luftstrom zu gewährleisten. Obwohl die Mindeststromversorgungen im Gehäuse vorhanden sein müssen, müssen sie nicht unbedingt alle an die Stromquelle angeschlossen sein. Wenn ein Netzteil in einem Steckplatz installiert, aber nicht mit einer Stromquelle verbunden ist, bezieht es Strom aus dem Gehäuse, um die internen Lüfter in den Netzteilen mit Strom zu versorgen.
Extreme Verbrennungsgefahr: Der JNP10K-PWR-AC3 kann unter Betriebsbedingungen Temperaturen im Bereich von 70 °C bis 80 °C (158 °F) erreichen.
Der Router ist ein steckbares Gerät vom Typ A, das an einem Ort mit beschränktem Zugang installiert ist. Er verfügt über eine separate Schutzerdungsklemme am Gehäuse, die dauerhaft mit der Erdung verbunden werden muss, um das Gehäuse angemessen zu erden und den Bediener vor elektrischen Gefahren zu schützen.
Bevor Sie mit der Installation des Routers beginnen, stellen Sie sicher, dass ein zugelassener Elektriker eine geeignete Erdungsfahne an dem von Ihnen gelieferten Erdungskabel angebracht hat. Die Verwendung eines Erdungskabels mit einer falsch angebrachten Lasche kann den Router beschädigen.
Verwenden Sie einen 2-poligen Leistungsschalter mit einer Nennleistung von 25 A in der Gebäudeinstallation und im System oder gemäß den örtlichen elektrischen Vorschriften.
Die JNP10K-PWR-AC3-Netzteile verfügen über fünf DIP-Schalter mit zwei Positionen (INP-A0, INP-A1, INP-B0, INP-B1 und DIP4), die über die Frontplatte zugänglich sind. DIP4 ist der fünfte DIP-Schalter, mit dem angezeigt wird, ob eine 20A- oder 15A-Eingangsquelle angeschlossen ist. In Abbildung 2 und Tabelle 2 erfahren Sie mehr über die Anordnung der DIP-Schalter und die Ausgangsleistung, wenn die DIP-Schalter in verschiedenen Kombinationen eingestellt sind.
1 – DIP-Schalter
| INP-A0 (Schalter 0) |
INP-A1 (Switch 1) |
INP-B0 (Switch 2) |
INP-B1 (Switch 3) |
Schalter 4 (hoher Eingang 20 A/niedriger Eingang 15 A) |
Ausgangsleistung |
|---|---|---|---|---|---|
| 15-A |
|||||
| Aus |
Aus |
Aus |
Auf |
Aus (15 A) |
2300 W |
| Aus |
Aus |
Auf |
Aus |
Aus (15 A) |
2300 W |
| Aus |
Aus |
Auf |
Auf |
Aus (15 A) |
4600 W |
| Aus |
Auf |
Aus |
Aus |
Aus (15 A) |
2300 W |
| Aus |
Auf |
Aus |
Auf |
Aus (15 A) |
4600 W |
| Aus |
Auf |
Auf |
Auf |
Aus (15 A) |
6900 W |
| Aus |
Auf |
Auf |
Aus |
Aus (15 A) |
4600 W |
| Auf |
Aus |
Aus |
Aus |
Aus (15 A) |
2300 W |
| Auf |
Aus |
Aus |
Auf |
Aus (15 A) |
4600 W |
| Auf |
Aus |
Auf |
Aus |
Aus (15 A) |
4600 W |
| Auf |
Aus |
Auf |
Auf |
Aus (15 A) |
6900 W |
| Auf |
Auf |
Aus |
Aus |
Aus (15 A) |
4600 W |
| Auf |
Auf |
Aus |
Auf |
Aus (15 A) |
6900 W |
| Auf |
Auf |
Auf |
Aus |
Aus (15 A) |
6900 W |
| Auf |
Auf |
Auf |
Auf |
Aus (15 A) |
7800 W |
| 20-A |
|||||
| Aus |
Aus |
Aus |
Auf |
Ein (20 A) |
3000 W |
| Aus |
Aus |
Auf |
Aus |
Ein (20 A) |
3000 W |
| Aus |
Aus |
Auf |
Auf |
Ein (20 A) |
6000 W |
| Aus |
Auf |
Aus |
Aus |
Ein (20 A) |
3000 W |
| Aus |
Auf |
Aus |
Auf |
Ein (20 A) |
6000 W |
| Aus |
Auf |
Auf |
Aus |
Ein (20 A) |
6000 W |
| Aus |
Auf |
Auf |
Auf |
Ein (20 A) |
7800 W |
| Auf |
Aus |
Aus |
Aus |
Ein (20 A) |
3000 W |
| Auf |
Aus |
Aus |
Auf |
Ein (20 A) |
6000 W |
| Auf |
Aus |
Auf |
Aus |
Ein (20 A) |
6000 W |
| Auf |
Aus |
Auf |
Auf |
Ein (20 A) |
7800 W |
| Auf |
Auf |
Aus |
Aus |
Ein (20 A) |
6000 W |
| Auf |
Auf |
Aus |
Auf |
Ein (20 A) |
7800 W |
| Auf |
Auf |
Auf |
Aus |
Ein (20 A) |
7800 W |
| Auf |
Auf |
Auf |
Auf |
Ein (20 A) |
7800 W |
Es ist wichtig, die Eingangsfeeds des JNP10K-PWR-AC3-Netzteils vor dem Einschalten des Routers an das Wechselstromnetz anzuschließen.
JNP10K-PWR-AC3 – Stromversorgung – Spezifikationen
Das JNP10K-PWR-AC3-Netzteil unterstützt Wechselstrom.
Tabelle 3listet die Leistungsspezifikationen für das Wechselstromnetzteil (JNP10K-PWR-AC3) auf, das in einem MX10004 Gehäuse verwendet wird.
| Spezifikation |
Wert |
|---|---|
| AC-Eingangsspannung |
180–264 V Wechselstrom |
| Nennstrom am Eingang |
16 A |
| DC-Ausgangsleistung |
12,3 V |
Tabelle 4 zeigt die physikalischen Spezifikationen für ein JNP10K-PWR-AC3-Netzteil.
| Spezifikation |
Wert |
|---|---|
| Höhe |
3,386 Zoll. (8,60 cm) |
| Breite |
3,584 Zoll. (9,10 cm) |
| Tiefe |
17,15 Zoll (43,57 cm) |
| Gewicht |
5,8 kg |
JNP10K-PWR-AC3 Netzteil-LEDs
Das JNP10K-PWR-AC3-Netzteil verfügt über sechs LEDs auf der Frontplatte: !, OK, A0, A1, B0 und B1. Die nummerierten LEDs entsprechen den vier Eingängen (INP-A0, INP-A1, INP-B0 und INP-B1). Zusätzlich gibt es zwei weitere LEDs OK (Power OK) und !(Fehler). Diese LEDs zeigen Informationen über den Status der Stromversorgung an. Siehe Abbildung 3.
1 – LEDs am JNP10K-PWR-AC3-Netzteil anzeigen:
-
! Fehler
-
OKAY Leistung OK
-
A0 INP A0 – Quelleneingang 1
-
A1 INP A1 – Quelleneingang 2
-
B0 INP B0 – Quelleneingang 3
-
B1 INP B1 – Quelleneingang 4
Physische Markierungen auf dem Netzteil sind INP-A0, INP-A1, INP-B0 und INP-B1. Diese Markierungen entsprechen INP-A0, INP-A1, INP-B0 und INP-B1 in der show chassis power Ausgabe (siehe Tabelle 5).
| Physische Markierung auf JNP10K-PWR-AC3 |
Entsprechende physische LED-Kennzeichnung |
show chassis power Befehl |
|---|---|---|
| INP A0 |
A0 | INP-A0 |
| INP A1 |
A1 | INP-A1 |
| INP B0 |
B0 | INP-B0 |
| INP B1 |
B1 | INP-B1 |
In Tabelle 6 werden die LEDs eines JNP10K-PWR-AC3-Netzteils, die Farbe der LED, der Zustand und ihre Bedeutung beschrieben.
| LED |
Farbe |
Zustand |
Beschreibung |
|---|---|---|---|
| A0 |
Gelb |
Fest |
Eine der folgenden:
|
| Grün |
Fest |
Das Netzteil funktioniert ordnungsgemäß. |
|
| A1 |
Gelb |
Fest |
Eine der folgenden:
|
| Grün |
Fest |
Das Netzteil funktioniert ordnungsgemäß. |
|
| B0 |
Gelb |
Fest |
Eine der folgenden:
|
| Grün |
Fest |
Das Netzteil funktioniert ordnungsgemäß. |
|
| B1 |
Gelb |
Fest |
Eine der folgenden:
|
| Grün |
Fest |
Das Netzteil funktioniert ordnungsgemäß. |
|
| OK (Stromversorgung OK) |
Grün |
Fest |
Das Netzteil funktioniert ordnungsgemäß. |
| Gelb |
Blinken |
Der Ausgang des Netzteils hat einen Fehler erkannt. |
|
| Grün | Blinken | Das Netzteil funktioniert ordnungsgemäß, aber der entsprechende DIP-Schalter stimmt nicht überein. Beispiel: Wenn A0 Eingangsstrom erhält, aber der entsprechende DIP-Schalter 0 nicht eingeschaltet ist, blinkt die LED grün. |
|
| Nicht gezündet |
Aus |
Die Stromversorgung ist ausgeschaltet. |
|
| ! (Fehler) |
Rot |
Fest |
Das Netzteil ist ausgefallen und muss ausgetauscht werden. |
| Nicht gezündet |
Aus |
Das Netzteil funktioniert normal. |
JNP10K-PWR-AC2 Netzteil
Das JNP10K-PWR-AC2-Netzteil ist ein Modell mit hoher Kapazität, das zur Unterstützung von Wechselstrom-, Hochspannungs-Wechselstrom- (HVAC) oder Hochspannungs-Gleichstrom- (HGÜ) Systemen im 20-A- oder 30-A-Modus ausgelegt ist. siehe Abbildung 4. Das Netzteil speist den Wechselstromeingang und bietet eine Gleichstromleistung von 5000 W bei einer Einzelspeisung und 5500 W bei einer Doppelspeisung. Der Betriebseingangsspannungsbereich beträgt 180 bis 305 VAC für AC-Systeme und 190 bis 410 VDC für DC-Systeme.
Sie konfigurieren die Anzahl der Stromeinspeisungen und die hohe oder niedrige Leistung mithilfe einer Reihe von DIP-Schaltern (Dual Inline Package) auf der Frontplatte des Netzteils. Mit den Schaltern können Sie konfigurieren, ob die Netzteile Strom mit hoher Ausgangsleistung (30 A) oder niedriger Ausgangsleistung (20 A) bereitstellen. Wenn ein Netzteil im Gehäuse auf "Low Power" eingestellt ist, wird das Powerbudget für das Chassis auf "Low Power" reduziert, unabhängig von den Einstellungen des DIP-Schalters oder den Ausgabeergebnissen in der CLI. Diese Konstruktion schützt vor versehentlichem Einstellen der Stromversorgung auf 30 A in einer Einrichtung, die nur 20 A bereitstellen kann, und vor dem Auslösen des Leistungsschalters. Wir empfehlen, die DIP-Schaltereinstellungen in Ihrem System nicht zu mischen. In Tabelle 7 finden Sie Informationen zu den Eingangs- und Ausgangsspannungen bei Verwendung der DIP-Schalter.
Das JNP10K-PWR-AC2-Netzteil verfügt über interne Lüfter, die zur Gehäusekühlung beitragen. Folglich müssen alle drei Netzteile in einem laufenden Gehäuse vorhanden sein, um einen ausreichenden Luftstrom zu gewährleisten. Obwohl alle Netzteile im Gehäuse vorhanden sein müssen, müssen sie nicht alle an die Stromversorgung angeschlossen werden. Wenn ein Netzteil in einem Steckplatz installiert, aber nicht mit einer Stromquelle verbunden ist, bezieht es Strom aus dem Gehäuse, um die internen Lüfter in den Netzteilen mit Strom zu versorgen.
Extreme Verbrennungsgefahr! Fassen Sie ein HLK- oder HGÜ-Netzteil, das im Gehäuse läuft, nicht ohne Hitzeschutzhandschuhe an. Der JNP10K-PWR-AC2 kann unter Betriebsbedingungen Temperaturen im Bereich von 70 °C bis 80 °C (158 °F bis 176 °F) erreichen.
Der Router ist ein steckbares Gerät vom Typ A, das an einem Ort mit beschränktem Zugang installiert ist. Er verfügt über eine separate Schutzerdungsklemme am Gehäuse, die dauerhaft mit der Erdung verbunden werden muss, um das Gehäuse angemessen zu erden und den Bediener vor elektrischen Gefahren zu schützen.
Bevor Sie mit der Installation des Routers beginnen, stellen Sie sicher, dass ein zugelassener Elektriker eine geeignete Erdungsfahne an dem von Ihnen gelieferten Erdungskabel angebracht hat. Die Verwendung eines Erdungskabels mit einer falsch angebrachten Lasche kann den Router beschädigen.
Verwenden Sie einen 2-poligen Leistungsschalter mit einer Nennleistung von 25 A in der Gebäudeinstallation und im System oder gemäß den örtlichen elektrischen Vorschriften.
| INP0 (Switch 1) |
INP1 (Switch 2) |
H/L (hoher Eingang 30 A/niedriger Eingang 20 A) |
Ausgangsleistung |
|---|---|---|---|
| Auf |
Auf |
Ein (30 A) |
5500 W |
| Auf |
Auf |
Aus (20 A) |
3000 W |
| Auf |
Aus |
Ein (30 A) |
5000 W |
| Aus |
Auf |
Ein (30 A) |
5000 W |
| Auf |
Aus |
Aus (20 A) |
2700 W |
| Aus |
Auf |
Aus (20 A) |
2700 W |
Es ist wichtig, beide Eingangsfeeds des JNP10K-PWR-AC2-Netzteils an das Wechselstromnetz anzuschließen, bevor das System mit Strom versorgt wird.
JNP10K-PWR-AC2 Power – Spezifikationen
Das JNP10K-PWR-AC2-Netzteil unterstützt Wechselstrom, Hochspannungs-Wechselstrom (HVAC) und Hochspannungs-Gleichstrom (HVDC).
Tabelle 8 listet die Leistungsspezifikationen für das Wechselstromnetzteil (JNP10K-PWR-AC2) auf, das in einem MX10004 Gehäuse verwendet wird.
| Spezifikation |
Wert |
|---|---|
| AC-Eingangsspannung |
180–305 V Wechselstrom |
| DC-Eingangsspannung |
190–410 V Gleichspannung |
| Nennstrom am Eingang |
28,5 A |
| DC-Ausgangsleistung |
12,3 V, 5500 W mit Dual-Feed und 5000 W mit Single-Feed |
Tabelle 9 zeigt die physikalischen Spezifikationen für ein JNP10K-PWR-AC2-Netzteil.
| Spezifikation |
Wert |
|---|---|
| Höhe |
3,5 Zoll. (8,89 cm) |
| Breite |
3,6 Zoll. (9,14 cm) |
| Tiefe |
15,1 Zoll (38,35 cm) |
| Gewicht |
5,17 kg |
JNP10K-PWR-AC2 Netzteil-LEDs
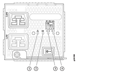
Das JNP10K-PWR-AC2-Netzteil verfügt über vier LEDs auf der Frontplatte: !, OK, 2 und 1. Diese LEDs zeigen Informationen über den Status der Stromversorgung an. Siehe Abbildung 5.
|
1
—
! Fehler |
3
—
2 INP2–Quelleneingang 2 |
|
arabische Ziffer
—
OKAY Leistung OK |
4
—
1 INP1–Quelleneingang 1 |
Die physischen Markierungen auf dem Netzteil sind 1 und 2. Diese Markierungen entsprechen INP1 und INP2 in der show chassis power Ausgabe (siehe Tabelle 10).
Sie können die DIP-Schaltereinstellungen für Eingangs- und Ausgangsleistung mit dem show chassis power Befehl anzeigen.
| Physische Markierung auf JNP10K-PWR-AC2 |
show chassis power Befehl |
|---|---|
| INP1 |
INP1 |
| INP2 |
INP2 |
Tabelle 11 beschreibt die LEDs eines JNP10K-PWR-AC2-Netzteils.
| LED |
Farbe |
Zustand |
Beschreibung |
|---|---|---|---|
| 1 oder ( |
Gelb |
Fest |
Die Stromversorgung ist eingeschaltet, während der Stromanschluss für den Quelleingang 1 (INP1) abgezogen ist. |
| Blinken |
Die Eingangsspannung ist vorhanden, aber es wird ein Fehler erkannt. |
||
| Grün |
Fest |
Das Netzteil funktioniert ordnungsgemäß. |
|
| Nicht gezündet |
Aus |
Die Stromversorgung ist ausgeschaltet; Spannung ist Null. |
|
| 2 oder ( |
Gelb |
Fest |
Das Netzteil ist eingeschaltet, während der Stromanschluss für Source Input 2 (INP2) abgezogen ist. |
| Blinken |
Die Eingangsspannung ist vorhanden, aber es wird ein Fehler erkannt. |
||
| Grün |
Fest |
Das Netzteil funktioniert ordnungsgemäß. |
|
| Nicht gezündet |
Aus |
Die Stromversorgung ist ausgeschaltet; Spannung ist Null. |
|
| OK (Stromversorgung OK) |
Grün |
Fest |
Das Netzteil funktioniert ordnungsgemäß. |
| Gelb |
Blinken |
Der Ausgang des Netzteils hat einen Fehler erkannt. |
|
| Nicht gezündet |
Aus |
Die Stromversorgung ist ausgeschaltet. |
|
| ! (Fehler) |
Rot |
Fest |
Das Netzteil ist ausgefallen und muss ausgetauscht werden. |
| Nicht gezündet |
Aus |
Das Netzteil funktioniert normal. |
MX10004 Stromkabel – Spezifikationen
Die meisten Standorte verteilen den Strom über eine Hauptleitung, die zu am Rahmen montierten Stromverteilerfeldern führt, von denen sich eines oben im Rack befinden kann, in dem sich der Router befindet. Jedes Netzteil wird über ein AC-Netzkabel mit dem Stromverteilerfeld verbunden.
In Nordamerika dürfen Wechselstromkabel eine Länge von ca. 4,5 Metern nicht überschreiten, um den Abschnitten 400-8 des National Electrical Code (NEC) (NFPA 75, 5-2.2) und 210-52 und dem Canadian Electrical Code (CEC) Abschnitt 4-010(3) zu entsprechen. Die mit dem Router gelieferten Kabel nach Nordamerika und Kanada entsprechen den Anforderungen.
Die MX10004 AC-, Hochspannungs-Wechselstrom- (HVAC) und Hochspannungs-Gleichstrom-Netzteile (HVDC) haben spezifische Kabelanforderungen. In den folgenden Abschnitten können Sie die Kabelanforderungen basierend auf dem Modell Ihres Netzteils und allen Moduseinstellungen bestimmen:
-
Informationen zum JNP10K-PWR-AC3 mit 20-A-Eingang und 15-A-Eingang finden Sie unter JNP10K-PWR-AC3 Power Cable Specifications (Technische Daten) für das Stromkabel JNP10K-PWR-AC3.
-
Informationen zum JNP10K-PWR-AC2 mit 20-A-Eingang finden Sie unter JNP10K-PWR-AC2 Power Cable Specifications (Spezifikationen des JNP10K-PWR-AC2-Stromkabels).
-
Informationen zum JNP10K-PWR-AC2 mit 30-A-Eingang finden Sie unter JNP10K-PWR-AC2-Stromkabelspezifikationen für 30-A-Eingang.
- JNP10K-PWR-AC3 Stromkabel – Spezifikationen
- JNP10K-PWR-AC2 Stromkabel – Spezifikationen
- JNP10K-PWR-AC2 Stromkabel – Spezifikationen für 30-A-Eingang
JNP10K-PWR-AC3 Stromkabel – Spezifikationen
Das JNP10K-PWR-AC3-Netzteil arbeitet in zwei Modi:
-
20-A Eingang mit 7800 W oder 6000 W oder 3000 W Leistung
-
15-A-Eingang mit 7800 W oder 7500 W oder 5000 W oder 2500 W Ausgang
Wenn Netzkabel mit rechtwinkligen Steckern am Netzteilende ausgewählt werden, müssen sie paarweise aus rechtwinkligen linken Steckern für die Eingänge A0 oder B0 und verlängerten rechtwinkligen linken Steckern für die Eingänge A1 oder B1 bestehen.
In Tabelle 12 finden Sie eine Liste der geeigneten Kabel.
Führen Sie JNP10K-PWR-AC3-Netzteile nicht mit 16-A- oder 20-A-Kabeln aus, wenn sie an einen 15-A-Eingang angeschlossen sind.
Sie können verhindern, dass AC-Netzkabel Heißluftaussaugungen ausgesetzt werden, indem Sie die Netzkabel immer von den Lüftereinschüben und Netzteilen weg führen.
Wenn rechtwinklige Netzkabel und die Schallwand installiert sind, sind die Netzkabel heißer Abluft ausgesetzt. Die IEC C21-Stecker haben eine Temperaturbeständigkeit von 155 °C und die Netzkabelkabel eine Nenntemperatur von 90 °C.
| Gebietsschema |
Bewertung des Kabelsatzes |
Stecker Standard |
Ersatz-Modellnummer von Juniper |
Grafik |
|---|---|---|---|---|
| Gerader Stecker am Netzteileingang | ||||
| Australien und Neuseeland |
15 A, 250 V Wechselstrom | AS/NZS 3112 | CBL-PWRC21-AU |
|
| Europa (außer Italien, Schweiz und Vereinigtes Königreich) |
16 A, 250 V Wechselstrom | CEE 7/7 | CBL-PWRC21-EU |
![]() |
| Italien |
16 A, 250 V Wechselstrom | CEI 23-16 | CBL-PWRC21-IT |
|
| Nordamerika |
20 A, 250 V Wechselstrom | Verriegelung NEMA L6-20P |
CBL-PWRC21-US-L |
|
| NEMA 6-20P | CBL-PWRC21-US |
|
||
| International | 16 A, 250 V Wechselstrom | IEC-309 316P6W |
CBL-PWRC21-316P6 |
|
| Nordamerika | 20 A, 250 V Wechselstrom | IEC-309 320P6W |
CBL-PWRC21-320P6 |
|
| Japan | 20 A, 250 V Wechselstrom | NEMA L6-20P | CBL-PWRC21-JP-L |
|
| China | 16 A, 250 V Wechselstrom | GB2099-1 | CBL-PWRC21-CN |
|
| Nordamerika | 20 A, 250 V Wechselstrom | IEC-320-C20 | CBL-PWRC21-C20-NA |
|
| Europa | 16 A, 250 V Wechselstrom | IEC-320-C20 | CBL-PWRC21-C20-EU |
|
| Japan | 20 A, 250 V Wechselstrom | IEC-320-C20 | CBL-PWRC21-C20-JP |
|
| China | 16 A, 250 V Wechselstrom | IEC-320-C20 | CBL-PWRC21-C20-CN |
|
| Schweiz | 16 A, 250 V Wechselstrom | SEV1011 | CBL-PWRC21-SZ |
|
| Südafrika | 16 A, 250 V Wechselstrom | Registrierungsstelle SANs 164/1 |
CBL-PWRC21-SA |
|
| Indien | 16 A, 250 V Wechselstrom | Registrierungsstelle IS 1293 | CBL-PWRC21-IN |
|
| Vereinigtes Königreich | 16 A, 250 V Wechselstrom | BS 1363 | CBL-PWRC21-UK |
![]() |
| Israel | 16 A, 250 V Wechselstrom | SI 32/1971 Typ IL/3G |
CBL-PWRC21-IL |
|
| Brazilien | 16 A, 250 V Wechselstrom | NBR 14136 Typ BR/3 |
CBL-PWRC21-BR |
|
| Argentinien | 16 A, 250 V Wechselstrom | IRAM 2073 Typ Registrierungsstelle/3 |
CBL-PWRC21-AR |
|
| Rechtwinkliger linker Stecker am Netzteileingang | ||||
| USA | 20 A, 250 V Wechselstrom | NEMA L6-20P | CBL-PWRC21R-US-L |
|
| USA | 20 A, 250 V Wechselstrom | NEMA 6-20P | CBL-PWRC21R-US |
|
| Europa | 16 A, 250 V Wechselstrom | CEE 7/7 | CBL-PWRC21R-EU |
|
| Australien | 15 A, 250 V Wechselstrom | AS/NZ 3112 | CBL-PWRC21R-AU |
|
| Italien | 16 A, 250 V Wechselstrom | CEI 23-50 | CBL-PWRC21R-IT |
|
| International | 16 A, 250 V Wechselstrom | IEC 60309 316P6W |
CBL-PWRC21R-316P6 | |
| Nordamerika | 16 A, 250 V Wechselstrom | IEC 60309 320P6W |
CBL-PWRC21R-320P6 | |
| Japan | 20 A, 250 V Wechselstrom | NEMA L6-20P | CBL-PWRC21R-JP-L |
|
| China | 16 A, 250 V Wechselstrom | GB2099-1 | CBL-PWRC21R-CN |
|
| Nordamerika | 16 A, 250 V Wechselstrom | IEC 60320 C20 |
CBL-PWRC21R-C20-NA |
|
| Europa | 16 A, 250 V Wechselstrom | IEC 60320 C20 |
CBL-PWRC21R-C20-EU |
|
| Japan | 20 A, 250 V Wechselstrom | IEC 60320 C20 |
CBL-PWRC21R-C20-JP |
|
| China | 16 A, 250 V Wechselstrom | IEC 60320 C20 |
CBL-PWRC21R-C20-CN |
|
| Schweiz | 16 A, 250 V Wechselstrom | SEV 1011 | CBL-PWRC21R-SZ | |
| Südafrika | 16 A, 250 V Wechselstrom | SANS 164/1 | CBL-PWRC21R-SA |
|
| Indien | 16 A, 250 V Wechselstrom | IS 1293, Registrierungsstelle | CBL-PWRC21R-IN |
|
| Vereinigtes Königreich | 16 A, 250 V Wechselstrom | BS1363 | CBL-PWRC21R-Vereinigtes Königreich | ![]() |
| Israel | 16 A, 250 V Wechselstrom | SI 32/1971 TYP IL/3G |
CBL-PWRC21R-IL |
|
| Brazilien | 16 A, 250 V Wechselstrom | NBR 14136 TYP BR/3 |
CBL-PWRC21R-BR |
|
| Argentinien | 16 A, 250 V Wechselstrom | IRAM 2073 TYP Registrierungsstelle/3 |
CBL-PWRC21R-AR |
|
| Verlängerter rechtwinkliger linker Stecker am Netzteileingang | ||||
| USA | 20 A, 250 V Wechselstrom | NEMA L6-20P | CBL-PWRC21RL-US-L |
|
| USA | 20 A, 250 V Wechselstrom | NEMA 6-20P | CBL-PWRC21RL-US |
|
| Europa | 16 A, 250 V Wechselstrom | CEE 7/7 | CBL-PWRC21RL-EU |
|
| Australien | 15 A, 250 V Wechselstrom | AS/NZ 3112 | CBL-PWRC21RL-AU |
|
| Italien | 16 A, 250 V Wechselstrom | CEI 23-50 | CBL-PWRC21RL-IT |
|
| International | 16 A, 250 V Wechselstrom | IEC-60309 316P6W |
CBL-PWRC21RL-316P6 | |
| Nordamerika | 20 A, 250 V Wechselstrom | IEC-60309 320P6W |
CBL-PWRC21RL-320P6 | |
| Japan | 20 A, 250 V Wechselstrom | NEMA L6-20P | CBL-PWRC21RL-JP-L |
|
| China | 16 A, 250 V Wechselstrom | GB2099-1 | CBL-PWRC21RL-CN |
|
| Nordamerika | 20 A, 250 V Wechselstrom | IEC 60320 C20 |
CBL-PWRC21RL-C20NA |
|
| Europa | 16 A, 250 V Wechselstrom | IEC 60320 C20 |
CBL-PWRC21RL-C20EU |
|
| Japan | 20 A, 250 V Wechselstrom | ICE-60320 C20 |
CBL-PWRC21RL-C20JP |
|
| China | 16 A, 250 V Wechselstrom | IEC 60320 C20 |
CBL-PWRC21RL-C20CN |
|
| Schweiz | 16 A, 250 V Wechselstrom | SEV 1011 | CBL-PWRC21RL-SZ | |
| Südafrika | 16 A, 250 V Wechselstrom | SANS 164/1 | CBL-PWRC21RL-SA |
|
| Indien | 16 A, 250 V Wechselstrom | IS1293, Registrierungsstelle | CBL-PWRC21RL-IN |
|
| Vereinigtes Königreich | 16 A, 250 V Wechselstrom | BS 1363 | CBL-PWRC21RL-UK | ![]() |
| Israel | 16 A, 250 V Wechselstrom | SI 32/1971 Typ IL/3G |
CBL-PWRC21RL-IL |
|
| Brazilien | 16 A, 250 V Wechselstrom | NBR 14136 Typ BR/3 |
CBL-PWRC21RL-BR |
|
| Argentinien | 16 A, 250 V Wechselstrom | IRAM 2073 Typ Registrierungsstelle/3 |
CBL-PWRC21RL-AR |
|
JNP10K-PWR-AC2 Stromkabel – Spezifikationen
Das JNP10K-PWR-AC2-Netzteil arbeitet in zwei Modi:
-
20-A-Eingang mit 3000-W-Leistung; siehe Tabelle 13 für eine Liste der geeigneten Kabel.
-
30-A-Eingang mit 5500-W-Leistung; Eine Liste der geeigneten Kabel und Anschlüsse für den 30-A-Eingang finden Sie unter JNP10K-PWR-AC2 Power Cable Specifications for 30-A Eingang .
Führen Sie JNP10K-PWR-AC2-Netzteile nicht mit 16-A- oder 20-A-Kabeln aus, wenn sie an einen 30-A-Eingang angeschlossen sind.
Sie können verhindern, dass AC-Netzkabel Heißluftaussaugungen ausgesetzt werden, indem Sie die Netzkabel immer von den Lüftereinschüben und Netzteilen weg führen.
| Gebietsschema |
Bewertung des Kabelsatzes |
Stecker Standard |
Ersatz-Modellnummer von Juniper |
Grafik |
|---|---|---|---|---|
| Argentinien |
16 A, 250 V Wechselstrom |
IRAM 2073 Typ Registrierungsstelle/3 |
CBL-JNP-SG4-AR |
|
| Australien und Neuseeland |
15 A, 250 V Wechselstrom |
AS/NZS 3112 |
CBL-JNP-SG4-AU |
|
| Brazilien |
16 A, 250 V Wechselstrom |
NBR 14136 Typ BR/3 |
CBL-JNP-SG4-BR |
|
| China |
16 A, 250 V Wechselstrom |
GB2099 |
CBL-JNP-SG4-CH |
|
| Europa (außer Italien, Schweiz und Vereinigtes Königreich) |
20 A, 250 V Wechselstrom |
CEE 7/7 |
CBL-JNP-SG4-EU |
|
| Großbritannien |
13 A, 250 V Wechselstrom |
BS1363 |
CBL-JNP-SG4-UK |
![]() |
| Indien |
16 A, 250 V Wechselstrom |
SANS 164/1 |
CBL-JNP-SG4-SA |
|
| Israel |
16 A, Registrierungsstelle, 250 V Wechselspannung |
SI 32/1971 Typ IL/3C |
CBL-JNP-SG4-IL |
|
| Italien |
16 A, 250 V Wechselstrom |
CEI 23-16 |
CBL-JNP-SG4-IT |
|
| Nordamerika |
20 A, 250 V Wechselstrom |
3-5958P4 nach IEC 60320 C20 |
CBL-JNP-SG4-C20 |
|
| 16 A, 250 V Wechselstrom |
Verriegelung NEMA L6-20P |
CBL-JNP-SG4-US-L |
|
|
| NEMA 6-20P |
CBL-JNP-SG4-US |
|
||
| 15 A, 277 V |
NEMA I7-20P |
CBL-JNP-SG4-HLK |
|
|
| Südafrika |
16 A, 250 V Wechselstrom |
SANS 164/1 |
CBL-JNP-SG4-SA |
|
| Schweiz |
16 A, 250 V Wechselstrom |
CEI 23-50 |
CBL-JNP-SG4-SZ |
|
JNP10K-PWR-AC2 Stromkabel – Spezifikationen für 30-A-Eingang
Die JNP10K-PWR-AC2 HLK- oder HGÜ-Netzteile erfordern eine Hochstromkabelkonfektion, wenn sie für einen 30-A-Eingang eingestellt sind. Ein Ende des Kabels hat einen Anderson APP-400-Stecker, während das andere Ende des Kabels blanker Draht ist. Siehe Abbildung 6 und Tabelle 14. Diese Kabel sind separat bestellbar und werden bei JNP10K-PWR-AC2-Bestellungen nicht automatisch versendet. Ein Beispiel für das rechtwinklige Kabel und den Stecker ist in Abbildung 8 dargestellt.
Für den Anschluss an Wechselstromsysteme bietet Juniper Networks ein Kabel mit einem NEMA 30-A-Stecker (Abbildung 6) oder einem IEC 330P6W-Stecker (Abbildung 7).
| Option |
Gebietsschema |
Bewertung des Kabelsatzes |
Stecker-Standards |
Verbinder |
Ersatz-Modellnummer von Juniper |
|---|---|---|---|---|---|
| HLK/HGÜ-Netzkabel |
Jegliche |
30 A 400 V Wechselstrom |
UL 950 und IEC 60950 |
Anderson/Straight to Bare Wire |
CBL-PWR2-BARE |
| Jegliche |
30 A 400 V Wechselstrom |
UL 950 und IEC 60950 |
Anderson/rechtwinklig zum blanken Draht |
CBL-PWR2-BARE-Registrierungsstelle |
|
| AC-Netzkabel |
Kontinentaleuropa |
30 A 250 V Wechselstrom |
UL 950 und IEC332P6 |
Anderson/rechter Winkel nach IEC 332P6 |
CBL-PWR2-332P6W-Registrierungsstelle |
| Kontinentaleuropa |
30 A 250 V Wechselstrom |
UL 950 und IEC332P6 |
Anderson/direkt zu IEC332P6 |
CBL-PWR2-332P6W |
|
| Kontinentaleuropa |
30 A 240 V Wechselstrom |
IEC330P6 |
Anderson/rechter Winkel zu IEC 330P6 |
CBL-PWR2-330P6W-Registrierungsstelle |
|
| Kontinentaleuropa |
30 A 240 V Wechselstrom |
IEC330P6 |
Anderson/direkt zu IEC 330P6 |
CBL-PWR2-330P6W |
|
| Nordamerika |
30 A 250 V Wechselstrom |
UL 498 und CSA |
Anderson/rechter Winkel zu L6-30P (NEMA-30A) |
CBL-PWR2-L6-30P-Registrierungsstelle |
|
| Nordamerika |
30 A 250 V Wechselstrom |
UL 498 und IEC5958P4 |
Anderson/direkt zu L6-30P (NEMA-30A) |
CBL-PWR2-L6-30P |
|
| AC-Überbrückungskabel |
Jegliche |
30 A 400 V Wechselstrom |
UL und CSA |
Anderson/direkt zu Anderson |
CG-CBL-APP-400-02 |
|
1
—
Schwarzes Kabel – "+" oder "-" für HGÜ und "Heiß oder neutral" für Wechselstrom |
3
—
Weißes Kabel – "+" oder "-" für HGÜ und "Heiß oder neutral" für Wechselstrom |
|
arabische Ziffer
—
Grünes Kabel – Masse |
JNP10K-PWR-DC3 Netzteil
Das JNP10K-PWR-DC3-Netzteil ist ein Modell mit hoher Kapazität, das für die Unterstützung von vier Netzteilen in einem einzigen Gehäuse ausgelegt ist, das entweder 60 A oder 80 A von vier Eingangsstromeinspeisungen akzeptiert.
Das JNP10K-PWR-DC3-Netzteil verfügt über einen EIN/Standby-Schalter an der Vorderseite, mit dem der 12,3-VDC-Hauptausgang und der Standby-Ausgang von +5,0 V_BIAS aktiviert oder deaktiviert werden können.
Die Anzahl der Stromversorgungen und ob die Netzteile einen hohen Eingang von 80 A oder einen niedrigen Eingang von 60 A bieten, werden über die DIP-Schalter (Dual Inline Package) auf der Vorderseite des Netzteils konfiguriert. Die JNP10K-PWR-DC3-Netzteile verfügen über fünf DIP-Schalter mit zwei Positionen. Die Schalter DIP0 bis DIP3 (INP-A0, INP-A1, INP-B0, INP-B1) zeigen an, ob der Eingang mit der Quelle verbunden ist. DIP4 (fünfter DIP-Schalter) zeigt an, ob eine 80-A- oder 60-A-Eingangsquelle angeschlossen ist. Siehe Abbildung 10 für die Anordnung der DIP-Schalter und Tabelle 15 für Informationen zur Ausgangsleistung, wenn die DIP-Schalter in verschiedenen Kombinationen eingestellt sind.
|
1
—
DIP-Switches |
| INP-A0 (Schalter 0) |
INP-A1 (Switch 1) |
INP-B0 (Switch 2) |
INP-B1 (Switch 3) |
Schalter 4 (niedriger Eingang 60 A / hoher Eingang 80 A) |
Ausgangsleistung |
|---|---|---|---|---|---|
| 60 A |
|||||
| Aus |
Aus |
Aus |
Auf |
Aus (60 A) |
2200 W |
| Aus |
Aus |
Auf |
Aus |
Aus (60 A) |
2200 W |
| Aus |
Aus |
Auf |
Auf |
Aus (60 A) |
4400 W |
| Aus |
Auf |
Aus |
Aus |
Aus (60 A) |
2200 W |
| Aus |
Auf |
Aus |
Auf |
Aus (60 A) |
4400 W |
| Aus |
Auf |
Auf |
Aus |
Aus (60 A) |
4400 W |
| Aus |
Auf |
Auf |
Auf |
Aus (60 A) |
6600 W |
| Auf |
Aus |
Aus |
Aus |
Aus (60 A) |
2200 W |
| Auf |
Aus |
Aus |
Auf |
Aus (60 A) |
4400 W |
| Auf |
Aus |
Auf |
Aus |
Aus (60 A) |
4400 W |
| Auf |
Aus |
Auf |
Auf |
Aus (60 A) |
6600 W |
| Auf |
Auf |
Aus |
Aus |
Aus (60 A) |
4400 W |
| Auf |
Auf |
Aus |
Auf |
Aus (60 A) |
6600 W |
| Auf |
Auf |
Auf |
Aus |
Aus (60 A) |
6600 W |
| Auf |
Auf |
Auf |
Auf |
Aus (60 A) |
7800 W |
| 80 A |
|||||
| Aus |
Aus |
Aus |
Auf |
Ein (80 A) |
3000 W |
| Aus |
Aus |
Auf |
Aus |
Ein (80 A) |
3000 W |
| Aus |
Aus |
Auf |
Auf |
Ein (80 A) |
6000 W |
| Aus |
Auf |
Aus |
Aus |
Ein (80 A) |
3000 W |
| Aus |
Auf |
Aus |
Auf |
Ein (80 A) |
6000 W |
| Aus |
Auf |
Auf |
Aus |
Ein (80 A) |
6000 W |
| Aus |
Auf |
Auf |
Auf |
Ein (80 A) |
7800 W |
| Auf |
Aus |
Aus |
Aus |
Ein (80 A) |
3000 W |
| Auf |
Aus |
Aus |
Auf |
Ein (80 A) |
6000 W |
| Auf |
Aus |
Auf |
Aus |
Ein (80 A) |
6000 W |
| Auf |
Aus |
Auf |
Auf |
Ein (80 A) |
7800 W |
| Auf |
Auf |
Aus |
Aus |
Ein (80 A) |
6000 W |
| Auf |
Auf |
Aus |
Auf |
Ein (80 A) |
7800 W |
| Auf |
Auf |
Auf |
Aus |
Ein (80 A) |
7800 W |
| Auf |
Auf |
Auf |
Auf |
Ein (80 A) |
7800 W |
Aktiver Rohling (JNP10K-PWR-BLN3)
Juniper Networks bietet das JNP10K-PWR-BLN3 an, ein Active Blank Power Module (ABPM). Dies hilft bei der Luftzirkulation und Kühlung im Gehäuse, wenn kein Netzteil (PSU) vorhanden ist. Sie können das Router-Gehäuse mit einer Kombination aus ABPM- und JNP10K-PWR-DC3-Netzteilen konfigurieren:
| JNP10K-PWR-DC3 Netzteil(e) |
JNP10K-PWR-BLN3 ABPM |
|---|---|
| 3 |
- |
| 2 |
1 |
| 1 |
2 |
Das Router-Gehäuse muss mindestens ein JNP10K-PWR-DC3-Netzteil enthalten.
Das JNP10K-PWR-DC3-Netzteil verfügt über interne Lüfter, die zur Gehäusekühlung beitragen. Drei Netzteile oder zwei Netzteile müssen zusammen mit einem ABPM in einem laufenden Gehäuse vorhanden sein, um den richtigen Luftstrom zu gewährleisten. Im Gehäuse müssen mindestens Netzteile vorhanden sein, aber nicht alle müssen an die Stromquelle angeschlossen sein. Wenn ein Netzteil in einem Steckplatz installiert, aber nicht mit einer Stromquelle verbunden ist, bezieht es Strom aus dem Gehäuse, um die internen Lüfter in den Netzteilen mit Strom zu versorgen.
Der Router ist ein steckbares Gerät vom Typ A, das an einem Ort mit beschränktem Zugang installiert ist. Er verfügt über eine separate Schutzerdungsklemme am Gehäuse, die dauerhaft mit der Erdung verbunden werden muss, um das Gehäuse angemessen zu erden und den Bediener vor elektrischen Gefahren zu schützen.
Bevor Sie mit der Installation des Routers beginnen, stellen Sie sicher, dass ein zugelassener Elektriker eine geeignete Erdungsfahne an dem von Ihnen gelieferten Erdungskabel angebracht hat. Die Verwendung eines Erdungskabels mit einer falsch angebrachten Lasche kann den Router beschädigen.
JNP10K-PWR-DC3 – Stromversorgung – Spezifikationen
Tabelle 17 listet die Leistungsspezifikationen für das Gleichstromnetzteil (JNP10K-PWR-DC3) auf, das in MX10004 Routern verwendet wird.
| Artikel |
Leistungsbeschreibung |
|---|---|
| DC-Eingangsspannung |
|
| Nennstrom am Eingang |
60 A/80 A |
| Ausgangsleistung |
12,3 V Gleichspannung |
Tabelle 18 zeigt die physikalischen Spezifikationen für ein JNP10K-PWR-DC3-Netzteil.
| Spezifikation |
Wert |
|---|---|
| Höhe |
3,386 Zoll. (8,60 cm) |
| Breite |
3,584 Zoll. (9,10 cm) |
| Tiefe |
15.391 Zoll. (39,09 cm) |
| Gewicht |
5,7 kg |
JNP10K-PWR-DC3 Netzteil-LEDs
Das JNP10K-PWR-DC3-Netzteil verfügt über sechs LEDs auf der Frontplatte. Die LEDs A0, A1, B0 und B1 entsprechen den vier Eingangsquellen (INP-A0, INP-A1, INP-B0, INP-B1). Es gibt zwei zusätzliche LEDs: OK (Power OK) und ! (Hinweis auf einen Fehler). Diese LEDs zeigen Informationen über den Status der Stromversorgung an. Siehe Abbildung 11.
|
1
—
LEDs am JNP10K-PWR-DC3:
|
| LED-Etiketten auf JNP10K-PWR-DC3 |
Ausgabe des |
|---|---|
| A0 |
INP-A0 |
| A1 |
INP-A1 |
| B0 |
INP-B0 |
| B1 |
INP-B1 |
| LED |
Farbe |
Zustand |
Beschreibung |
|---|---|---|---|
| A0 ( |
Bernstein |
Blinken |
Die Eingangsspannung an A0 ist vorhanden, aber nicht innerhalb des Betriebsbereichs. |
| Grün |
Fest |
Die Eingangsspannung bei A0 ist vorhanden und funktioniert innerhalb des Betriebsbereichs. |
|
| Nicht gezündet |
Aus |
Kein Input. |
|
| A1 ( |
Bernstein |
Blinken |
Die Eingangsspannung an A1 ist vorhanden, aber nicht innerhalb des Betriebsbereichs. |
| Grün |
Fest |
Die Eingangsspannung bei A1 ist vorhanden und funktioniert innerhalb des Betriebsbereichs. |
|
| Nicht gezündet |
Aus |
Kein Input. |
|
| B0 ( |
Bernstein |
Blinken |
Die Eingangsspannung an B0 ist vorhanden, aber nicht innerhalb des Betriebsbereichs. |
| Grün |
Fest |
Die Eingangsspannung an B0 ist vorhanden und funktioniert innerhalb des Betriebsbereichs. |
|
| Nicht gezündet |
Aus |
Kein Input. |
|
| B1 ( |
Bernstein |
Blinken |
Die Eingangsspannung an B1 ist vorhanden, aber nicht innerhalb des Betriebsbereichs. |
| Grün |
Fest |
Die Eingangsspannung an B1 ist vorhanden und funktioniert innerhalb des Betriebsbereichs. |
|
| Nicht gezündet |
Aus |
Kein Input. |
|
| OK (Stromversorgung OK) |
Nicht gezündet |
Aus |
Die Leistung der Stromversorgung liegt nicht innerhalb der angegebenen Grenzen. |
| Grün |
Fest |
Die Ausgangsspannung der Stromversorgung funktioniert innerhalb der angegebenen Grenzen. |
|
| ! (Fehler) |
Rot |
Fest |
Eine der folgenden:
|
| Nicht gezündet |
Aus |
Das Netzteil funktioniert ordnungsgemäß. |
JNP10K-PWR-DC2 Netzteil
Das JNP10K-PWR-DC2-Netzteil bietet zwei Netzteile in einem einzigen Gehäuse, das entweder 60 A oder 80 A mit vier redundanten Eingangsstromeinspeisungen akzeptiert. Die beiden internen Netzteile (PS_0 und PS_1) verfügen jeweils über redundante Eingangseinspeisungen: A0 und/oder B0 für PS_0 und A1 und/oder B1 für PS_1. Sie konfigurieren den Eingang mit einem Satz von drei DIP-Schaltern auf der Netzteilfrontplatte, die die kombinierte Ausgangsleistung für beide internen Netzteile festlegt. Der Ausgang hängt von den Einstellungen dieser DIP-Schalter ab. Siehe Tabelle 21 und Abbildung 12.
| INP0 (Schalter 1) |
INP1 (Schalter 2) |
H/L (hoher Eingang 80 A/niedriger Eingang 60 A) |
Ausgangsleistung |
|---|---|---|---|
| Auf |
Auf |
Ein (80 A) |
5500 W |
| Auf |
Auf |
Aus (60 A) |
4400 W |
| Auf |
Aus |
Ein (80 A) |
2750 W |
| Aus |
Auf |
Ein (80 A) |
2750 W |
| Auf |
Aus |
Aus (60 A) |
2200 W |
| Aus |
Auf |
Aus (60 A) |
2200 W |
Das JNP10K-PWR-DC2-Netzteil erfordert einen dedizierten Leistungsschalter für jede Eingangs-DC-Einspeisung. Der Gleichstromschalter muss für 80 A Gleichstrom mit mittlerer Verzögerung ausgelegt sein.
Das JNP10K-PWR-DC2-Netzteil verfügt über interne Lüfter, die zur Gehäusekühlung beitragen. Folglich müssen alle drei Netzteile in einem laufenden Gehäuse vorhanden sein, um einen ausreichenden Luftstrom zu gewährleisten. Obwohl alle Netzteile im Gehäuse vorhanden sein müssen, müssen sie nicht alle an die Stromversorgung angeschlossen werden. Wenn ein Netzteil in einem Steckplatz installiert, aber nicht mit einer Stromquelle verbunden ist, bezieht es Strom aus dem Gehäuse, um die internen Lüfter in den Netzteilen mit Strom zu versorgen.
Der Router ist ein steckbares Gerät vom Typ A, das an einem Ort mit beschränktem Zugang installiert ist. Er verfügt über eine separate Schutzerdungsklemme am Gehäuse, die dauerhaft mit der Erdung verbunden werden muss, um das Gehäuse angemessen zu erden und den Bediener vor elektrischen Gefahren zu schützen.
Bevor Sie mit der Installation des Routers beginnen, stellen Sie sicher, dass ein zugelassener Elektriker eine geeignete Erdungsfahne an dem von Ihnen gelieferten Erdungskabel angebracht hat. Die Verwendung eines Erdungskabels mit einer falsch angebrachten Lasche kann den Router beschädigen.
JNP10K-PWR-DC2 – Stromversorgung – Spezifikationen
Tabelle 22 listet die Leistungsspezifikationen für das Hochspannungs-Gleichstrom-Netzteil (HGÜ) auf, das in MX10004 Routern verwendet wird.
| Artikel |
Leistungsbeschreibung |
|---|---|
| DC-Eingangsspannung |
|
| Gleichstrom-Eingangsstrom |
|
| Ausgangsleistung |
|
Tabelle 23 zeigt die physikalischen Spezifikationen für ein JNP10K-PWR-DC2-Netzteil.
| Spezifikation |
Wert |
|---|---|
| Höhe |
3,5 Zoll. (8,89 cm) |
| Breite |
3,6 Zoll. (9,14 cm) |
| Tiefe |
16,05 Zoll (40,77 cm) |
| Gewicht |
3,67 kg |
JNP10K-PWR-DC2 Netzteil-LEDs
Ein JNP10K-PWR-DC2-Netzteil verfügt über vier LEDs auf der Frontplatte: 1, 2, OK und das Fehlersymbol, !. Diese LEDs zeigen Informationen über den Status der Stromversorgung an. Siehe Abbildung 13.
|
1
—
! Fehler |
3
—
2 Stromquelle Eingang 1 |
|
arabische Ziffer
—
OKAY Leistung OK |
4
—
1 Stromquelle Eingang 0 |
Sie können die Version der im Netzteil installierten Firmware über die Befehlsausgabe show system firmware ermitteln. Tabelle 24 beschreibt die LEDs an einem JNP10K-PWR-DC2-Netzteil, wenn die im Netzteil installierte Firmware 768.520.772 oder höher ist. Tabelle 25 beschreibt die LEDs an einem JNP10K-PWR-DC2-Netzteil, wenn die im Netzteil installierte Firmware niedriger als 768.520.772 ist.
| Einspeisung 0 |
Feed 1 |
Status des Stromversorgungs-Switches |
LED 1 |
LED 2 |
OKAY LED |
! LED |
|---|---|---|---|---|---|---|
| Aus |
Aus |
Aus |
Orange |
Orange |
Aus |
Rot |
| A oder B |
Aus |
Aus |
Grün – Blinkt |
Orange |
Aus |
Rot |
| A und B |
Aus |
Aus |
Grün |
Orange |
Aus |
Rot |
| Aus |
A oder B |
Aus |
Orange |
Grün – Blinkt |
Aus |
Rot |
| A oder B |
A oder B |
Aus |
Grün – Blinkt |
Grün – Blinkt |
Aus |
Rot – Blinkt |
| A und B |
A oder B |
Aus |
Grün |
Grün – Blinkt |
Aus |
Rot – Blinkt |
| Aus |
A und B |
Aus |
Orange |
Grün |
Aus |
Rot |
| A oder B |
A und B |
Aus |
Grün – Blinkt |
Grün |
Aus |
Rot – Blinkt |
| A und B |
A und B |
Aus |
Grün |
Grün |
Aus |
Aus |
| Aus |
Aus |
Auf |
Orange |
Orange |
Aus |
Rot |
| A oder B |
Aus |
Auf |
Grün – Blinkt |
Orange |
Grün |
Rot |
| A und B |
Aus |
Auf |
Grün |
Orange |
Grün |
Rot |
| Aus |
A oder B |
Auf |
Orange |
Grün – Blinkt |
Grün |
Rot |
| A oder B |
A oder B |
Auf |
Grün – Blinkt |
Grün – Blinkt |
Grün |
Rot – Blinkt |
| A und B |
A oder B |
Auf |
Grün |
Grün – Blinkt |
Grün |
Rot – Blinkt |
| Aus |
A und B |
Auf |
Orange |
Grün |
Grün |
Rot |
| A oder B |
A und B |
Auf |
Grün – Blinkt |
Grün |
Grün |
Rot – Blinkt |
| A und B |
A und B |
Auf |
Grün |
Grün |
Grün |
Aus |
| LED |
Farbe |
Zustand |
Beschreibung |
|---|---|---|---|
| 1 ( |
Grün |
Fest |
Die Gleichspannung liegt innerhalb des normalen Betriebsbereichs (-40 VDC bis -72 VDC). |
| Orange |
Fest |
Die Eingangsspannung des Gleichstroms liegt nicht innerhalb des normalen Betriebsbereichs. |
|
| Nicht gezündet |
Aus |
Die Stromversorgung ist ausgeschaltet. |
|
| OK (Stromversorgung OK) |
Grün |
Fest |
Der Gleichstromausgang liegt im normalen Betriebsbereich. |
| Orange |
Blinken |
Der Ausgang der Stromversorgung liegt außerhalb der Leistungsgrenzen. |
|
| ! (Fehler) |
Rot |
Fest |
Das Netzteil ist ausgefallen und muss ausgetauscht werden. |
| Nicht gezündet |
Aus |
Das Netzteil funktioniert normal. Oder es wird nur ein Eingang mit Strom versorgt und der Aktivierungsschalter für den Eingang, der nicht mit Strom versorgt wird, ist auf ON gestellt. Weitere Informationen zu den Freigabeschaltern finden Sie unter Installieren eines JNP10K-PWR-DC2-Netzteils . |
Wenn die LED 1 oder 2 und OK nicht leuchten, sind die Netzkabel nicht richtig installiert oder die Stromversorgung ist ausgefallen.
Wenn die LED 1 oder 2 grün leuchtet und die OK-LED nicht leuchtet, ist das Netzteil nicht richtig installiert oder das Netzteil weist einen internen Fehler auf.
Wenn das ! LED blinkt, fügen Sie ein Netzteil hinzu, um den Strombedarf und das Angebot auszugleichen.
JNP10K-PWR-AC3H Netzteil
Das JNP10K-PWR-AC3H-Netzteil ist ein Modell mit hoher Kapazität, das zur Unterstützung von HLK- oder HGÜ-Systemen im 15-A- und 20-A-Modus ausgelegt ist. siehe Abbildung 14. Das Netzteil erkennt automatisch, ob die Eingangsleistung AC oder DC ist.
Eingabe—Das Netzteil nimmt vier einphasige HLK- (180-305 VAC) oder HGÜ-Eingänge (190-410 VDC) (A0, A1, B0 und B1) mit entweder 20 A oder 15 A auf und bietet einen Gleichstromausgang von 12,3 V. Die Eingangsbuchse am AC-Netzteil entspricht IEC 320-C22. Der Gegenstecker am Netzkabel ist IEC 320-C21.
Ausgabe—Das Netzteil bietet einen Gleichstromausgang von 12,3 V bei:
-
7800 W (20-A-Eingang) mit drei oder vier aktiven Einspeisungen oder
-
6000 W (20-A-Eingang) mit zwei aktiven Einspeisungen (eine Quelle auf A0 oder A1 und eine zweite Quelle auf B0 oder B1) oder
-
3000 W (20-A-Eingang) mit einer einzigen aktiven Einspeisung oder
-
7800 W (15-A-Eingang) mit vier aktiven Einspeisungen oder
-
6900 W (15-A-Eingang) mit drei aktiven Einspeisungen oder
-
4600 W (15-A-Eingang) mit zwei aktiven Einspeisungen oder
-
2300 W (15-A-Eingang) mit einer einzigen aktiven Einspeisung.
-
Der Betriebseingangsspannungsbereich beträgt 180 bis 264 VAC für Wechselstromsysteme. Der Gleichstromausgang beträgt 12,3 VDC.
-
Die Anzahl der Stromversorgungen und ob die Netzteile Strom mit hoher Leistung (20 A) oder niedriger Ausgangsleistung (15 A) liefern, werden über eine Reihe von DIP-Schaltern (Dual Inline Package) auf der Frontplatte des Netzteils konfiguriert. Wenn ein Netzteil im Gehäuse auf wenig Leistung eingestellt ist, wird das Leistungsbudget für das Gehäuse auf wenig Leistung reduziert, unabhängig von den DIP-Schaltereinstellungen oder den Ausgabeergebnissen in der CLI. Diese Konstruktion schützt vor versehentlichem Einstellen der Stromversorgung auf 20 A in einer Einrichtung, die nur 15 A bereitstellen kann, und vor dem Auslösen des Leistungsschalters. Wir empfehlen, die DIP-Schaltereinstellungen in Ihrem System nicht zu mischen. In Tabelle 2 finden Sie Informationen zu den Eingangs- und Ausgangsspannungen bei Verwendung der DIP-Schalter.
-
Das JNP10K-PWR-AC3H-Netzteil verfügt über einen ENABLE-Schalter auf der Vorderseite, mit dem der 12,3-VDC-Hauptausgang und der Standby-Ausgang von +5,0 V_BIAS aktiviert oder deaktiviert werden können. Wenn sich der Switch in der Position DISABLE befindet, wird der Front-End-PFC deaktiviert, um den Stromverbrauch zu minimieren. Dieser Switch hat die höchste Priorität gegenüber allen anderen Abschaltmethoden.
-
Die Leistungsfaktorkorrektur (PFC) beträgt PF bei Volllast mindestens 0,98 kW. Der maximale Einschaltstrom beträgt 50 A für die aktive Einspeisung.
JNP10K-PWR-BLN3 oder aktiver Rohling
Juniper Networks bietet ein aktives Blanko-Stromversorgungsmodul (ABPM) an, JNP10K-PWR-BLN3. Dies hilft bei der Luftzirkulation und Kühlung im Gehäuse. Sie können die folgende Kombination aus ABPM, passivem Blank und JNP10K-PWR-AC3H-Netzteilen (PSU) im Router-Gehäuse haben:
-
Drei Netzteile
-
Zwei Netzteile mit einem ABPM
-
Ein Netzteil mit einem ABPMs und einem passiven Blanko-Netzteil
-
Ein Netzteil mit zwei ABPMs
-
Tabelle 26: Netzteil, ABPM, passive Blanko-Matrix JNP10K-PWR-AC3H Netzteil(e)
ABPM (JNP10K-PWR-BLN3)
Passiver Blank
3
-
-
2
1
-
1
1
1
1
2
-
Anmerkung:Das Gehäuse des Routers muss mindestens ein JNP10K-PWR-AC3H-Netzteil (PSU) enthalten.
Das JNP10K-PWR-AC3H-Netzteil verfügt über interne Lüfter, die zur Gehäusekühlung beitragen. Drei Netzteile oder zwei Netzteile müssen zusammen mit einem ABPM in einem laufenden Gehäuse vorhanden sein, um den richtigen Luftstrom zu gewährleisten. Obwohl die Mindeststromversorgungen im Gehäuse vorhanden sein müssen, müssen sie nicht unbedingt alle an die Stromquelle angeschlossen sein. Wenn ein Netzteil in einem Steckplatz installiert, aber nicht mit einer Stromquelle verbunden ist, bezieht es Strom aus dem Gehäuse, um die internen Lüfter in den Netzteilen mit Strom zu versorgen.
Extreme Verbrennungsgefahr – Der JNP10K-PWR-AC3H kann unter Betriebsbedingungen Temperaturen im Bereich von 70 °C bis 80 °C (158 °F) erreichen.
Der Router ist ein steckbares Gerät vom Typ A, das an einem Ort mit beschränktem Zugang installiert ist. Er verfügt über eine separate Schutzerdungsklemme am Gehäuse, die dauerhaft mit der Erdung verbunden werden muss, um das Gehäuse angemessen zu erden und den Bediener vor elektrischen Gefahren zu schützen.
Bevor Sie mit der Installation des Routers beginnen, stellen Sie sicher, dass ein zugelassener Elektriker eine geeignete Erdungsfahne an dem von Ihnen gelieferten Erdungskabel angebracht hat. Die Verwendung eines Erdungskabels mit einer falsch angebrachten Lasche kann den Router beschädigen.
Verwenden Sie einen 2-poligen Leistungsschalter mit einer Nennleistung von 25 A in der Gebäudeinstallation und im System oder gemäß den örtlichen elektrischen Vorschriften.
Die JNP10K-PWR-AC3H-Netzteile verfügen über fünf DIP-Schalter mit zwei Positionen (INP-A0, INP-A1, INP-B0, INP-B1 und DIP4), die über die Frontplatte zugänglich sind. DIP4 ist der fünfte DIP-Schalter, mit dem angezeigt wird, ob eine 20A- oder 15A-Eingangsquelle angeschlossen ist. In Abbildung 15 und Tabelle 27 erfahren Sie mehr über die Anordnung der DIP-Schalter und die Ausgangsleistung, wenn die DIP-Schalter in verschiedenen Kombinationen eingestellt sind.
1 – DIP-Schalter
| INP-A0 (Schalter 0) |
INP-A1 (Switch 1) |
INP-B0 (Switch 2) |
INP-B1 (Switch 3) |
Schalter 4 (hoher Eingang 20 A/niedriger Eingang 15 A) |
Ausgangsleistung |
|---|---|---|---|---|---|
| 15-A |
|||||
| Aus |
Aus |
Aus |
Auf |
Aus (15 A) |
2300 W |
| Aus |
Aus |
Auf |
Aus |
Aus (15 A) |
2300 W |
| Aus |
Aus |
Auf |
Auf |
Aus (15 A) |
4600 W |
| Aus |
Auf |
Aus |
Aus |
Aus (15 A) |
2300 W |
| Aus |
Auf |
Aus |
Auf |
Aus (15 A) |
4600 W |
| Aus |
Auf |
Auf |
Auf |
Aus (15 A) |
6900 W |
| Aus |
Auf |
Auf |
Aus |
Aus (15 A) |
4600 W |
| Auf |
Aus |
Aus |
Aus |
Aus (15 A) |
2300 W |
| Auf |
Aus |
Aus |
Auf |
Aus (15 A) |
4600 W |
| Auf |
Aus |
Auf |
Aus |
Aus (15 A) |
4600 W |
| Auf |
Aus |
Auf |
Auf |
Aus (15 A) |
6900 W |
| Auf |
Auf |
Aus |
Aus |
Aus (15 A) |
4600 W |
| Auf |
Auf |
Aus |
Auf |
Aus (15 A) |
6900 W |
| Auf |
Auf |
Auf |
Aus |
Aus (15 A) |
6900 W |
| Auf |
Auf |
Auf |
Auf |
Aus (15 A) |
7800 W |
| 20-A |
|||||
| Aus |
Aus |
Aus |
Auf |
Ein (20 A) |
3000 W |
| Aus |
Aus |
Auf |
Aus |
Ein (20 A) |
3000 W |
| Aus |
Aus |
Auf |
Auf |
Ein (20 A) |
6000 W |
| Aus |
Auf |
Aus |
Aus |
Ein (20 A) |
3000 W |
| Aus |
Auf |
Aus |
Auf |
Ein (20 A) |
6000 W |
| Aus |
Auf |
Auf |
Aus |
Ein (20 A) |
6000 W |
| Aus |
Auf |
Auf |
Auf |
Ein (20 A) |
7800 W |
| Auf |
Aus |
Aus |
Aus |
Ein (20 A) |
3000 W |
| Auf |
Aus |
Aus |
Auf |
Ein (20 A) |
6000 W |
| Auf |
Aus |
Auf |
Aus |
Ein (20 A) |
6000 W |
| Auf |
Aus |
Auf |
Auf |
Ein (20 A) |
7800 W |
| Auf |
Auf |
Aus |
Aus |
Ein (20 A) |
6000 W |
| Auf |
Auf |
Aus |
Auf |
Ein (20 A) |
7800 W |
| Auf |
Auf |
Auf |
Aus |
Ein (20 A) |
7800 W |
| Auf |
Auf |
Auf |
Auf |
Ein (20 A) |
7800 W |
Es ist wichtig, die Eingangsfeeds des JNP10K-PWR-AC3H-Netzteils vor dem Einschalten des Routers an das HLK-Netz anzuschließen.
JNP10K-PWR-AC3H Netzteil-LEDs
Das JNP10K-PWR-AC3H-Netzteil verfügt über sechs LEDs auf der Frontplatte: !, OK, A0, A1, B0 und B1. Die nummerierten LEDs entsprechen den vier Eingängen (INP-A0, INP-A1, INP-B0 und INP-B1). Zusätzlich gibt es zwei weitere LEDs OK (Power OK) und !(Fehler). Diese LEDs zeigen Informationen über den Status der Stromversorgung an. Siehe Abbildung 16.
1 – LEDs am JNP10K-PWR-AC3H-Netzteil anzeigen:
-
! Fehler
-
OKAY Leistung OK
-
A0 INP A0 – Quelleneingang 1
-
A1 INP A1 – Quelleneingang 2
-
B0 INP B0 – Quelleneingang 3
-
B1 INP B1 – Quelleneingang 4
Physische Markierungen auf dem Netzteil sind INP-A0, INP-A1, INP-B0 und INP-B1. Diese Markierungen entsprechen INP-A0, INP-A1, INP-B0 und INP-B1 in der show chassis power Ausgabe (siehe Tabelle 28).
| Physische Markierung auf JNP10K-PWR-AC3H |
Entsprechende physische LED-Kennzeichnung |
Chassis-Leistung anzeigen Befehl |
|---|---|---|
| INP A0 |
A0 | INP-A0 |
| INP A1 |
A1 | INP-A1 |
| INP B0 |
B0 | INP-B0 |
| INP B1 |
B1 | INP-B1 |
Tabelle 29 beschreibt die LEDs eines JNP10K-PWR-AC3H-Netzteils, die Farbe der LED, den Zustand und ihre Bedeutung.
| LED |
Farbe |
Zustand |
Beschreibung |
|---|---|---|---|
| A0 ( |
Gelb |
Fest |
Eine der folgenden:
|
| Grün |
Fest |
Das Netzteil funktioniert ordnungsgemäß. |
|
| A1 ( |
Gelb |
Fest |
Eine der folgenden:
|
| Grün |
Fest |
Das Netzteil funktioniert ordnungsgemäß. |
|
| B0 ( |
Gelb |
Fest |
Eine der folgenden:
|
| Grün |
Fest |
Das Netzteil funktioniert ordnungsgemäß. |
|
| B1 ( |
Gelb |
Fest |
Eine der folgenden:
|
| Grün |
Fest |
Das Netzteil funktioniert ordnungsgemäß. |
|
| OK (Stromversorgung OK) |
Grün |
Fest |
Das Netzteil funktioniert ordnungsgemäß. |
| Grün | Blinken | Das Netzteil funktioniert ordnungsgemäß, aber der entsprechende DIP-Schalter stimmt nicht überein. Beispiel: Wenn A0 Eingangsstrom erhält, aber der entsprechende DIP-Schalter 0 nicht eingeschaltet ist, blinkt die LED grün. |
|
| Gelb |
Blinken |
Der Ausgang des Netzteils hat einen Fehler erkannt. |
|
| Nicht gezündet |
Aus |
Die Stromversorgung ist ausgeschaltet. |
|
| ! (Fehler) |
Rot |
Fest |
Das Netzteil ist ausgefallen und muss ausgetauscht werden. |
| Nicht gezündet |
Aus |
Das Netzteil funktioniert normal. |
Fault. Stattdessen hält das System den PSM-Status online und löst einen Alarm aus.
JNP10K-PWR-AC3H – Stromversorgung – Spezifikationen
Das JNP10K-PWR-AC3H-Netzteil unterstützt HLK und HGÜ.
Tabelle 30 listet die Leistungsspezifikationen für das HLK- und HGÜ-Netzteil (JNP10K-PWR-AC3H) auf, das in einem PTX10004-Gehäuse verwendet wird.
| Spezifikation |
Wert |
|---|---|
| AC-Eingangsspannung |
180–305 V Wechselstrom (jede Einspeisung) HLK 190 – 410 V Wechselstrom (jede Einspeisung) HGÜ |
| Nennstrom am Eingang |
50 A |
| DC-Ausgangsleistung |
12,3 V (HLK) 12,9 V (HGÜ) |
Tabelle 31 zeigt die physikalischen Spezifikationen für ein JNP10K-PWR-AC3H-Netzteil.
| Spezifikation |
Wert |
|---|---|
| Höhe |
3,386 Zoll. (8,60 cm) |
| Breite |
3,584 Zoll. (9,10 cm) |
| Tiefe |
43,10 cm |
| Gewicht |
5,8 kg |
MX10004 Erdungskabel und Kabelschuhe – Spezifikationen
Der Router muss vor dem Anschließen der Stromversorgung ausreichend geerdet werden, um einen ordnungsgemäßen Betrieb zu gewährleisten und die Anforderungen an Sicherheit und elektromagnetische Störungen (EMI) zu erfüllen. Um ein MX10004 Gehäuse zu erden, verbinden Sie ein Erdungskabel mit der Masse und befestigen Sie es dann am Gehäuseerdungspunkt auf der Rückseite des Gehäuses darunter.
Sie müssen das MX10004 an einem Ort mit eingeschränktem Zugang installieren und sicherstellen, dass das Gehäuse immer ordnungsgemäß geerdet ist. Das MX10004 verfügt über eine zweipolige Schutzerdungsklemme am Gehäuse. Verwenden Sie unter allen Umständen diese Erdungsverbindung, um das Gehäuse zu erden. Bei Wechselstromsystemen müssen Sie auch das Erdungskabel im AC-Netzkabel zusammen mit der Zwei-Loch-Erdungsfahne verwenden. Dieses getestete System erfüllt oder übertrifft alle geltenden EMV-Vorschriften mit der Zwei-Loch-Schutzerdungsklemme.
Um die Anforderungen von GR-1089 zu erfüllen, müssen alle gebäudeinternen Kupferkabel, die für SFP+, QSFP+ und höher verwendet werden, an beiden Enden abgeschirmt und geerdet sein.
Bevor die Installation des Routers beginnt, muss ein zugelassener Elektriker einen Kabelschuh an den von Ihnen gelieferten Erdungskabeln anbringen. Siehe Verbinden des MX10004-Routers mit der Erdung. Ein Kabel mit einer falsch angebrachten Lasche kann den Router beschädigen.
Überprüfen Sie die folgenden Informationen, bevor Sie den Router mit einer Masse verbinden:
-
Auf der unteren Rückseite des Gehäuses befinden sich zwei Gewindeeinsätze (PEM-Muttern), um den Router mit Masse zu verbinden. Die Schutzerdungsklemmen haben einen Abstand von 0,63 Zoll. (16 mm) Zentren.
-
Die erforderliche Erdungsfahne ist ein Panduit LCD6-10A-L oder gleichwertig (im Lieferumfang enthalten). Die Erdungsfahne nimmt 6 AWG (13,3 mm²) Litze auf. Wenn ein oder mehrere JNP10K-PWR-DC2-Netzteile im Gehäuse installiert und auf hohen Eingang (80 A) eingestellt sind, verwenden Sie das Panduit LCD4-14A-L oder ein gleichwertiges Netzteil (im Lieferumfang enthalten). Diese Lasche nimmt Litzen mit 4 AWG (21,1 mm²) auf. Die Litze mit 4 AWG (21,1 mm²) sollte eine Nenntemperatur von 90 °C oder den Anforderungen der örtlichen elektrischen Vorschriften erfüllen.
-
Das Erdungskabel, das Sie für eine MX10004 bereitstellen, muss die gleiche Größe oder schwerer sein wie das Eingangskabel der einzelnen Netzteile. Mindestempfehlungen sind 6 AWG (13,3 mm²) Kupferlitze, Klasse B; 90° C-Draht oder wie in den örtlichen Vorschriften angegeben.














