Help us improve your experience.

Let us know what you think.

Do you have time for a two-minute survey?

 
 

QFX5230-64CD 冷却系统

QFX5230-64CD 冷却系统说明

QFX5230-64CD 交换机中的冷却系统由四个模块中的八个风扇组成。每个风扇模块包含两个转子。风扇模块为热插拔 FRU,具有气流方向和颜色编码。每个风扇模块装有两个 80 毫米 x 86 毫米的反向旋转转子。

QFX5230-64CD 中的风扇模块是可热拆卸和热插入的 FRU,专为端口到 FRU 的气流和 FRU 到端口的气流而设计。风扇模块的编号为 03 。每个风扇模块高 2 U,并配有一个关联的 LED 指示状态。

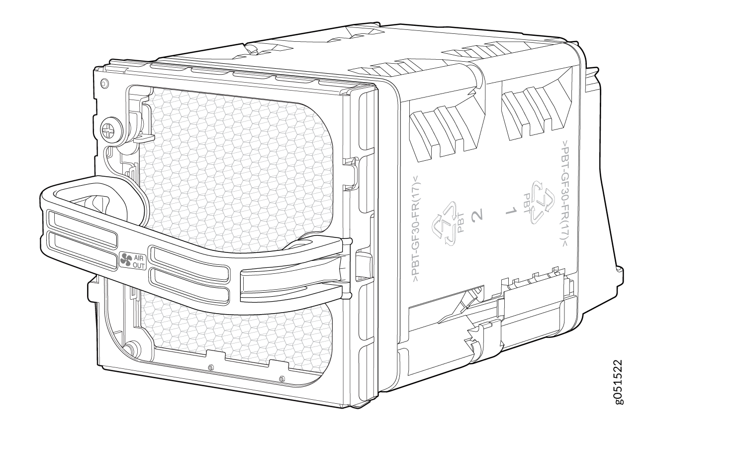
风扇模块

QFX5230-64CD 交换机同时适用于从前至后 (AFO) 和从后至前 (AFI) 气流。交换机可以按以下两个气流方向之一订购:

气流流入 - 空气通过背面现场可更换单元 (FRU) 中的通风口进入交换机。

气流出 - 空气通过端口面板通风口进入交换机。

对于从前至后的气流,插入机箱后侧的风扇模块将空气从系统中吸出。为了允许进气,前面板上设有通风口。对于从后至前的气流,插入机箱后侧的风扇模块将空气推入系统,前面板上提供的通风口允许出风口。每个风扇模块内部有两个 80mm x 86mm 的反向旋转转子。该系统可以处理单个转子故障。任何其他风扇/转子故障都会导致交换机过热,从而触发机箱报警并关闭交换机。

表 1:风扇模块

风扇 FRU

描述

气流

颜色

QFX5230-64CD-FANAO 出风,端口至 FRU 气流 前 - 后

瞻博网络金牌

QFX5230-64CD-FANAI 进气、FRU 到端口的气流 背面 - 正面 绿色
图 1:用于 QFX5230-64CD Technical line drawing of a modular server component with honeycomb vent labeled AIR OUT for airflow. 的风扇模块
注意:

风扇转速根据内部组件、光学模块和环境温度的温度而变化。风扇运行的最大速度取决于配置的环境温度。随着风扇转速的增加,风扇消耗的功率也随之增加。因此,当温度较高时,设备会消耗更多电量,因为风扇运行速度更快,可将机箱的工作温度保持在配置的限制内。

风扇模块有两种型号,具有不同的气流方向:

支持气流流出 (AIR OUT) 的 QFX5230-64CD 交换机将空气引入端口面板的通风口,并通过现场可更换单元 (FRU) 面板排出热空气。这种类型的气流称为 气流流出端口到 FRU 气流。气流出风扇的特点是金色手柄上的 AIR OUT 标记。在数据中心部署中,交换机的位置应使交换机组件上的 AIR OUT 标签靠近热通道。

支持气流流入 (AIR IN) 的 QFX5230-64CD 交换机将空气引入现场可更换单元 (FRU) 面板中的通风口,并通过端口面板排出热空气。这种类型的气流称为 气流流入FRU 到端口 气流。风扇中的气流的特点是 进气 绿色手柄上的标记。在数据中心部署中,交换机的位置应使 进气 交换机组件上的标签位于冷通道旁边。

从机箱的 FRU 端卸下并更换风扇模块。在热关机前更换风扇模块期间,交换机将继续运行一段有限的时间(120 秒)。

图 2:通过 QFX5230-64CD 机箱 Diagram showing server airflow with green arrows indicating air flows from ports side to FRUs side for cooling management.的进气气流
图 3:通过 QFX5230-64CD 机箱 Diagram showing airflow in a server chassis with green arrows from ports side left to field replaceable units side right.的空气气流

QFX5230-64CD 风扇模块 LED 指示

下图显示了 QFX5230-64CD 的风扇模块 LED。

图 4:QFX5230-64CD Technical drawing of a vent component labeled AIR OUT with hexagonal grille pattern indicating airflow direction. 的风扇模块 LED
  1. 风扇模块 LED

在正常运行条件下,风扇模块以中等速度运行。机箱中的温度传感器可监控机箱内的温度。

如果风扇模块发生故障或机箱内部环境温度超过可接受范围,系统将发出告警。如果机箱内部温度高于阈值温度,系统将自动关闭。