Help us improve your experience.

Let us know what you think.

Do you have time for a two-minute survey?

 
 

MX10K-LC4800

MX10K-LC4800 线卡(型号:JNP10K-LC4800)是一款固定配置的 44 端口线卡,可提供 4.8 Tbps 的线速吞吐量。此线卡支持 100 千兆以太网 (100GbE) 和 400GbE 部署。

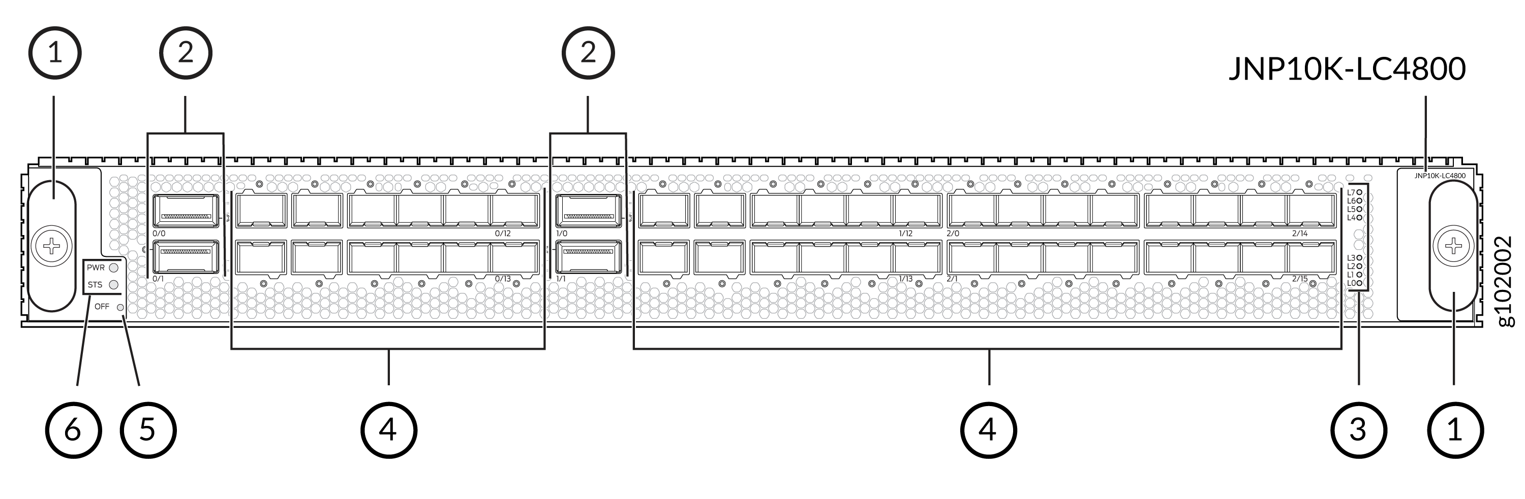
图 1:MX10K-LC4800 线卡 MX10K-LC4800 Line Card
1

喷射器

4

SFP56-DD 端口

阿拉伯数字

QSFP56-DD 端口

5

OFF (离线)按钮

3

通道 LED

6

PWRSTS LED

MX10K-LC4800 线卡水平插入机箱正面的 MX10004 和 MX10008 路由器。线卡运行 Junos作系统 (Junos OS)。

软件发布

Junos OS 24.2R1 及更高版本(安装在 MX10004 或 MX10008 路由器中时)。

描述

  • 型号:JNP10K-LC4800

  • CLI 中的名称: JNP10K-LC4800

  • 重量:40 磅(18.14 千克)

  • 尺寸:高度 = 1.89 英寸。(48.01 毫米),宽度 = 17.2 英寸(436.88 毫米),深度 = 19.05 英寸。(484 毫米)(不包括弹出器)

硬件功能

  • 是一款固定配置线卡,具有 44 个端口(40 个 SFP56-DD 端口和 4 个 QSFP56-DD 端口)。

  • 支持使用分支电缆对端口进行通道化,如下所示:

    • 每个 SFP56-DD 端口支持以下速度:1 Gbps、10 Gbps、25 Gbps、50 Gbps 和 100 Gbps。

    • 每个 QSFP56-DD 端口支持以下速度:4x10 Gbps、4x25 Gbps、40 Gbps、100 Gbps、2x100 Gbps、4x100 Gbps 和 400 Gbps。

      注意:

      MX10K-LC4800 线卡不支持单个端口架内的混合分支端口速度。例如,您无法在单个端口机架内同时配置 4x25 Gbps 和 4x10 Gbps 速度。

      注意:

      将 QSFP56-DD 端口配置为 400 Gbps 端口时,相邻的两个 SFP56-DD 端口(水平放置)将被禁用。

  • 提供高达 4.8 Tbps 的线速吞吐量。但是,默认情况下,线卡上的所有端口都以 100 Gbps 的速度运行,每插槽的最大带宽为 4.4 Tbps。

  • 具有三个转发 ASIC,每个托管两个数据包转发引擎。每个数据包转发引擎支持最大 800 Gbps 带宽。

  • 支持高达 32 GB 的双倍数据速率 4 (DDR4) 内存(16 GB x 2 VLP DDR4 RDIMM PMB)。

  • 与 JNP10004-SF2(MX10004 中)和 JNP10008-SF2(MX10008 中)交换机交换矩阵板 (SFB) 兼容。

  • 与 MX10K-LC9600、MX10K-LC2101 和 MX10K-LC480 线卡互作。

  • 可与 JNP10K-RE1、JNP10K-RE1-LT 和 JNP10K-RE1-128 配合使用;JNP10K-RE3、JNP10K-RE3-LT、JNP10K-RE3-256 和 JNP10K-RE3LT256路由和控制板 (RCB)。

  • 仅与以下电源单元 (PSU) 和风扇托架配合使用:

    • JNP10K-PWR-AC2

    • JNP10K-PWR-DC2

    • JNP10K-PWR-AC3

    • JNP10K-PWR-DC3

    • JNP10K-PWR-AC3H

    • JNP10008-FAN2 或 JNP10008-FAN3(MX10008中)

    • JNP10008-FTC2 或 JNP10008-FTC3(MX10008中)

    • JNP10004-FAN2 或 JNP10004-FAN3(MX10004中)

    • JNP10004-FTC2 或 JNP10004-FTC3(MX10004中)

  • 支持中转流量和主机绑定数据包的最大传输单元 (MTU) 为 16,000 字节。

    注意:

    如果将 SFP56-DD 端口配置为 1 Gbps 端口,则该端口支持 3800 字节的 MTU。

  • 遵守完整的 NEBS 合规性(NEBS GR63-CORE、GR1089-CORE 和 SR3580 合规性)。

软件功能

  • 支持端口级别的速率选择性

  • 默认情况下,端口配置为 100 千兆以太网端口

  • 支持光学诊断和相关报警

  • 有三个逻辑 PIC,每个由专用转发 ASIC 提供服务

  • 在所有光纤端口上增强 MACsec 支持

电源要求

当所有端口配置为 100 Gbps 速度运行时,不同温度下的功耗:

  • 25°C:966 瓦

  • 40°C:1005 瓦

  • 55°C:1030 瓦

LED 指示

压水堆 LED 指示

  • 绿色常亮 — 线卡正在通电。
  • 红色常亮 — 线卡无法开机。
  • 脱机 — 线卡未通电。

STS LED 指示

  • 绿色常亮(当信标或端口位置处于打开状态时)— 线卡处于联机状态。
  • 绿色闪烁 — 线卡正在启动。
  • 红色常亮(当信标或端口位置打开时)— 线卡出现故障或已引发告警。
  • 脱机 — 线卡已禁用或脱机。

端口 LED(每个端口旁边)

  • 关闭 — 端口没有收发器模块。
  • 绿色常亮(当信标或端口位置处于打开状态时)— 端口链路已开启,没有报警或故障。
  • 琥珀色常亮(当信标或端口位置开启时)— 端口链路已关闭,因为端口已通过 CLI 禁用,或者端口遇到错误,如信号丢失、本地故障或远程故障。

通道 LED

  • 相应端口的通道 LED 指示端口状态。

  • 与端口状态 LED 类似,每个单独的通道 LED 支持四种状态:关闭、琥珀色、绿色和红色。

电缆和连接器

提示:

您可以使用 硬件兼容性工具 查找有关瞻博网络设备支持的可插拔收发器的信息。

以下 400G-ZR 光学器件仅支持高达 40°C 的温度。 有关详细信息,请参阅 硬件兼容性工具

  • JCO400-QDD-ZR

  • JCO400-QDD-ZR-M

  • QDD-400G-ZR

  • QDD-400G-ZR-M

  • QDD-400G-ZR-M-HP