维护 EX4400 电源系统
从 EX4400 交换机卸下电源
从 EX4400 交换机卸下电源之前:
-
确保已采取必要的预防措施来防止静电放电 (ESD) 损坏(请参阅 防止静电放电损坏)。
-
确保您有以下可用的零件和工具:
-
2 号十字 (+) 螺丝刀 - 未提供
-
防静电袋或防静电垫 - 未提供
-
ESD 接地带 - 未提供
-
更换电源
-
在运送 EX4400 交换机时,后面板预装了一个交流或直流电源。安装并运行第二个电源时,每个电源都是一个可热拔下和可热插入的现场可更换部件 (FRU): 您可以卸下和更换其中任一部件,而无需关闭交换机电源或中断交换机功能。
卸下电源后一分钟内更换为新电源,以防止机箱过热。
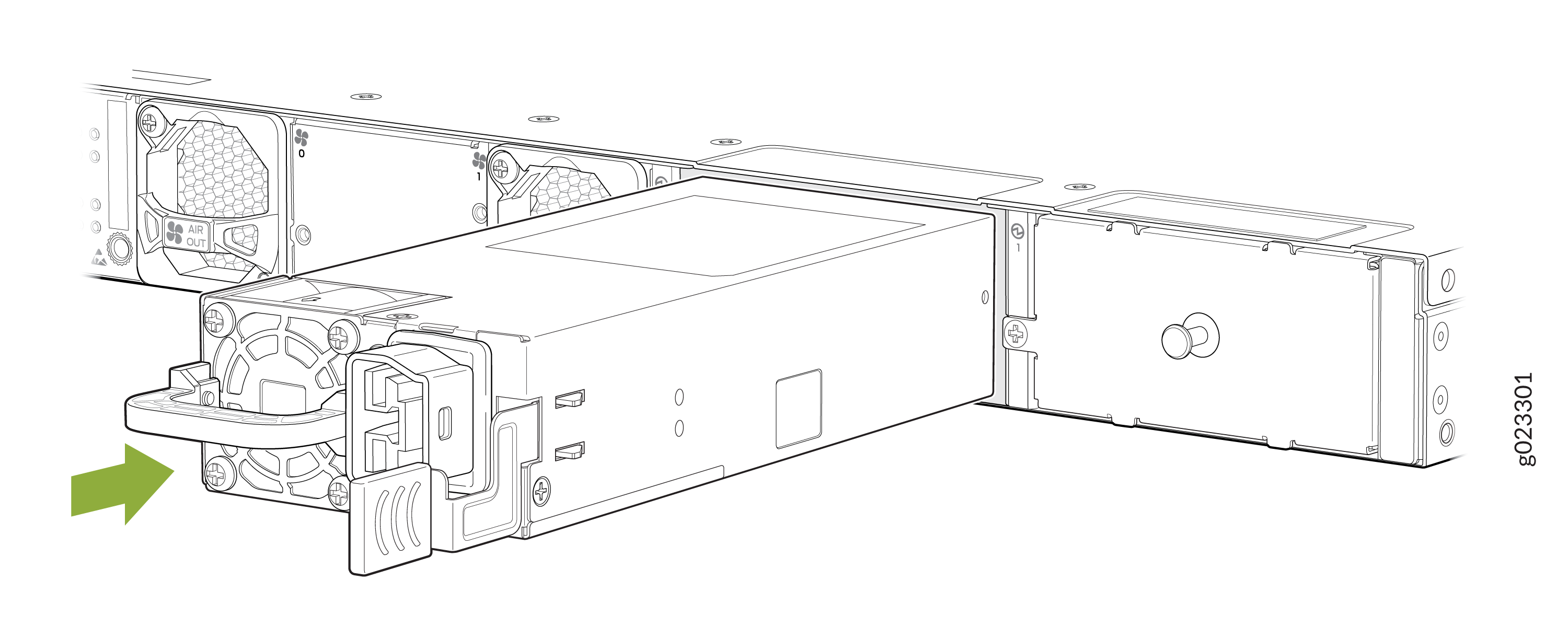
要卸下电源:
在 EX4400 交换机中安装电源
安装电源之前:
-
确保您了解如何防止静电放电 (ESD) 损坏(请参阅 防止静电放电损坏)。
-
确保您的电源正确。如果已安装的风扇模块上的标签为 AIR IN,则必须安装带有 AIR IN 标签的电源。如果已安装的风扇模块上的标签为 AIR OUT,则必须安装带有 AIR OUT 标签的电源。
-
确保您有以下可用的零件和工具:
-
2 号十字 (+) 螺丝刀 - 未提供
-
ESD 接地带 - 未提供
-
在运送 EX4400 交换机时,后面板预装了一个交流或直流电源。安装并运行第二个电源时,每个电源都是可热拔除和热插入的现场可更换部件 (FRU)。您可以在不关闭交换机电源或中断交换机功能的情况下卸下和更换其中一颗。
请勿混合:
-
同一机箱中的交流和直流电源。
-
同一机箱中不同型号的电源(例如 550-W、1050-W、1600-W 和 2000-W 型号)。
-
同一机箱中具有不同气流方向的电源。
-
同一机箱中具有不同气流方向的电源和风扇模块。
要安装电源,请执行以下作:







