Help us improve your experience.

Let us know what you think.

Do you have time for a two-minute survey?

 
 

MIC Ethernet de 1 Gigabit/10 Gigabit com SFP+ (10 portas)

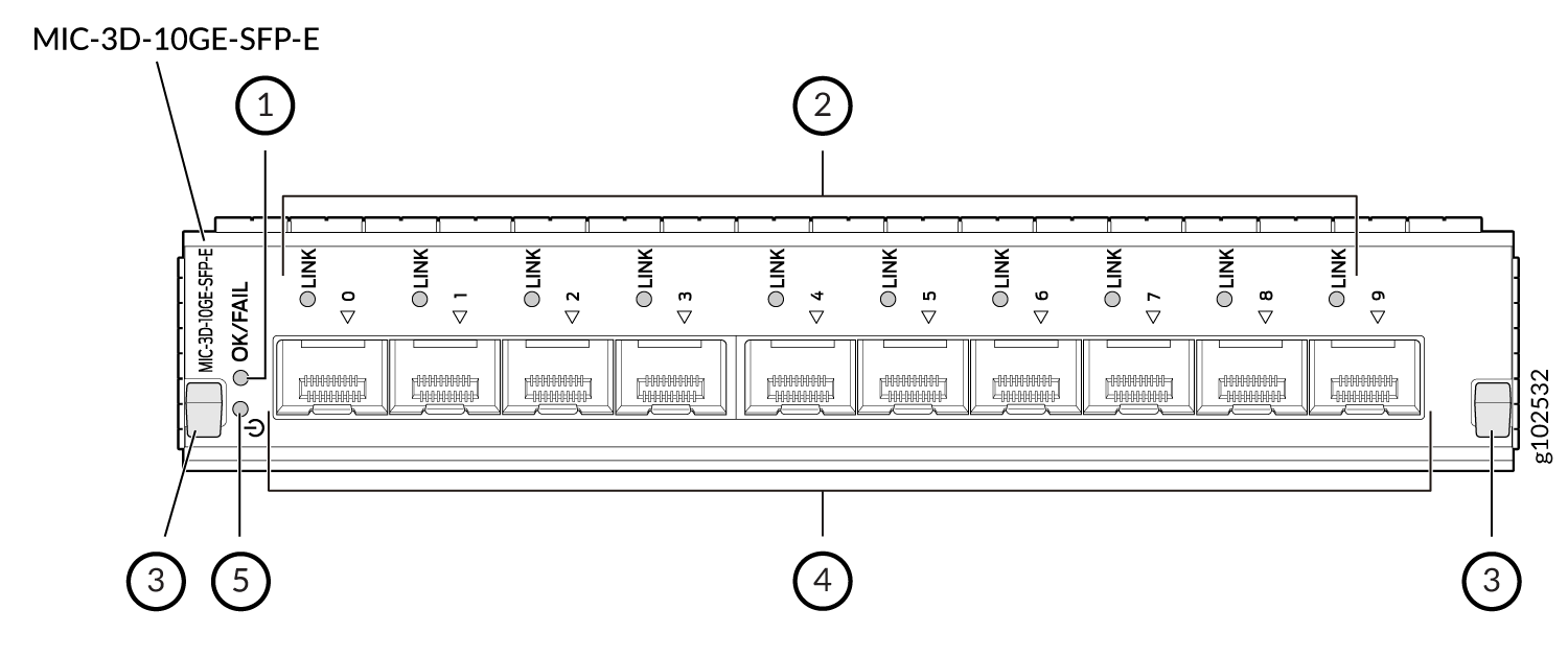
Figura 1: 1-Gigabit/10 Gigabit Ethernet MIC com SFP+ (10 portas) Modular Interface Card MIC-3D-10GE-SFP-E with SFP ports, link status LEDs, ejector handles, and OK/FAIL LED for 10GE networking.
1

MIC LED

4

Portas

algarismo

Link LEDs

5

Botão de alimentação MIC

3

Alavancas de espelhamento

 

Você pode ativar ou desligar a placa de interface modular (MIC), pressionando o botão de alimentação MIC usando um pino.

Tabela 1: Especificações de Ethernet MIC de 1 Gigabit/10 Gigabit com SFP+ (10 portas)

Versão de software

  • Versão Junos OS 24.2R1 e posterior

Descrição

  • Transceptor: Dez portas plugáveis de pequeno formato de 1GbE/10GbE (SFP+) que oferecem suporte à segurança de controle de acesso ao meio (MACsec)

    Nota:

    Não instale transceptores plugáveis de pequeno formato (SFP) de 1GbE e de 10GbE de pequeno porte plugáveis plus (SFP+) no MIC ao mesmo tempo.

  • Requisito de energia: 3,75 A @ 12 V (45 W)

  • Peso: 1,1 lb (0,50 kg)

  • Número do modelo: MIC-3D-10GE-SFP-E

  • Nome na CLI: 10x 10GE SFPP / 10x 1GE SFP MACsec

  • Concentradores modulares de portas (MPCs) que oferecem suporte ao MIC: MPC2E-3D-NG, MPC2E-3D-NG-Q, MPC3E-3D-NG e MPC3E-3D-NG-Q

  • Roteadores que oferecem suporte ao MIC: MX240, MX480, MX960, MX2010 e MX2020

Recursos de hardware

  • Taxa de transferência de alto desempenho em cada porta a velocidades de até 10 Gbps

  • Unidade substituível por campo (FRU) a quente e inserível a quente — você pode remover e substituir o MIC sem desligar o MPC ou o roteador ou interromper as funções do MPC ou do roteador.

  • Unidades de transmissão máxima (MTUs) de até 9500 bytes

  • Suporte para transceptores ópticos SFP/SFP+

Recursos de software

  • Opção de modo LAN-PHY configurável a 10.3125 Gbps por porta

  • Encapsulamento flexível de Ethernet

  • LANs virtuais IEEE 802.1Q (VLANs)

  • Contabilidade e policiamento MAC — aprendizado dinâmico de endereços locais de endereços MAC de origem

  • MACsec

  • Identificadores de protocolo de várias tags (TPIDs)

  • Diagnósticos ópticos e alarmes relacionados

  • Protocolo de tempo de precisão (PTP): perfil G.8275.1 e perfil G.8275.1 sobre LAG

  • PTP: IEEE1588 perfil padrão no modo unicast IPv4

  • EtherStats de monitoramento remoto (RMON)

  • Ethernet síncronos

  • Protocolo de redundância de roteador virtual (VRRP)

Tolerâncias ambientais

  • Operação normal garantida na faixa de temperatura de 32° F a 104° F (0° C a 40° C)

  • Temperatura de armazenamento não operada no contêiner de transporte na faixa de -40° F a 158° F (-40° C a 70° C)

  • Operação de curto prazo garantida na faixa de umidade relativa de 5% a 90% de RH sem condensação

Cabos e conectores

Ponta:

Você pode usar a Ferramenta de compatibilidade de hardware para encontrar informações sobre os transceptores ópticos suportados em seu dispositivo Juniper Networks.

Nota:
  • Transceptores ópticos avaliados por temperatura comercial — A faixa de temperatura de operação para transceptores ópticos classificados por temperatura comercial é de 32° F a 158° F (0° C a 70° C). O MIC-3D-10GE-SFP-E MIC oferece suporte a transceptores ópticos que exigem menos de 1,5 W de energia em temperaturas ambientes de até 115° F (46° C). O MIC oferece suporte a transceptores ópticos que exigem mais de 1,5 W de energia em temperaturas ambientes de até 40° C.

  • Classificação da temperatura industrial e transceptores ópticos com classificação de temperatura estendida — A faixa de temperatura operacional para transceptores ópticos classificados por temperatura industrial é de -40° F a 185° F (-40° C a 85° C).

    A faixa de temperatura operacional para transceptores ópticos com classificação de temperatura estendida é maior do que para os transceptores ópticos avaliados em temperatura comercial e inferiores aos transceptores ópticos classificados pela temperatura industrial. Por exemplo, a temperatura de operação varia de 14° F a 167° F (-10° C a 75° C) ou –4° F a 185° F (-20° C a 85° C). Os transceptores ópticos com classificação de temperatura industrial e estendida são denotados com sufixos -ET ou -XT.

    O MIC-3D-10GE-SFP-E MIC oferece suporte a transceptores ópticos com classificação de temperatura industrial que exigem mais de 1,7 W de energia em temperaturas ambientes de até 115° F (46° C).

    O MIC-3D-10GE-SFP-E MIC oferece suporte a transceptores ópticos com classificação de temperatura industrial e classificação de temperatura estendida que exigem menos de 1,7 W de energia em temperaturas ambientes de até:

    • 142° F (61° C) em roteadores MX240 e MX480

    • 142° F (61° C) em roteadores MX960, exceto quando o MIC é instalado em um Concentrador de Portas Densas (DPC) no slot 11

    • 115° F (46° C) em roteadores MX2010 e MX2020

  • Transceptores ópticos com classificação de alta potência industrial e de temperatura estendida — O MIC-3D-10GE-SFP-E MIC oferece suporte aos seguintes transceptores ópticos avaliados em temperaturas ambientes de até 46° C( 46° C):

    • SFPP-10GE-ZR-IT

    • SFPP-10GE-ZR-OTN-XT

    • SFPP-10GE-ER-IT

    • SFPP-10GE-DWDM-IT

Leds

MIC status LED

  • Verde, continuamente — o MIC está ligado e funcionando normalmente.

  • Amber — o MIC está ligado.

LINK LED, um por porta:

  • Verde — a porta está ativa; o link está ativo.

  • Âmbar — a porta está detectando alarmes; o link não está ativo.

  • Desativado — a porta está desativada.

O MIC tem uma PIC lógica. Quando o MIC é instalado no slot 0 de um MPC, o número PIC é 0; quando o MIC é instalado no slot 1 de um MPC, o número PIC é 2. Por exemplo, quando o MIC é instalado no slot 1 de um MPC instalado no slot 3 de um roteador, as interfaces são numeradas xe-3/2/0 até xe-3/2/9.